TOP
|
特許
|
意匠
|
商標
特許ウォッチ
Twitter
他の特許を見る
公開番号
2025170599
公報種別
公開特許公報(A)
公開日
2025-11-19
出願番号
2024075316
出願日
2024-05-07
発明の名称
車両前部構造
出願人
トヨタ自動車株式会社
代理人
弁理士法人太陽国際特許事務所
主分類
B62D
21/00 20060101AFI20251112BHJP(鉄道以外の路面車両)
要約
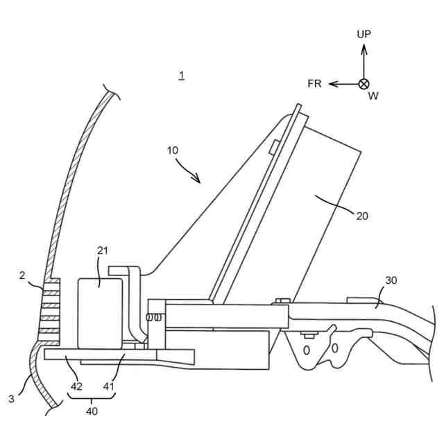
【課題】ロアアブソーバによって導風ダクトの前方開口が塞がれることのない車両前部構造を提供すること。
【解決手段】本開示の車両前部構造は、車両前方下部に配設された前方開口と、前記前方開口の車両後方側であってラジエータの車両前方側の少なくとも一部を覆う後方開口とを有し、前記前方開口から受け入れた空気を前記後方開口へ導く導風ダクトを備え、前記前方開口の底壁は、前記車両の幅方向に延在すると共にサスペンションメンバに支持され、且つ前記車両前方から入力される衝突エネルギーを吸収するロアアブソーバを含む。
【選択図】図1
特許請求の範囲
【請求項1】
車両前方下部に配設された前方開口と、前記前方開口の車両後方側であってラジエータの車両前方側の少なくとも一部を覆う後方開口とを有し、前記前方開口から受け入れた空気を前記後方開口へ導く導風ダクトを備える車両前部構造であって、
前記前方開口の底壁は、前記車両の幅方向に延在すると共にサスペンションメンバに支持され、且つ前記車両前方から入力される衝突エネルギーを吸収するロアアブソーバを備える、
車両前部構造。
続きを表示(約 410 文字)
【請求項2】
前記前方開口の底壁は、底壁本体と、前記底壁本体と一体に形成された前記ロアアブソーバとを備える、
請求項1に記載の車両前部構造。
【請求項3】
前記前方開口の底壁は、底壁本体と、前記底壁本体に取り付けられた前記ロアアブソーバとを備える、
請求項1に記載の車両前部構造。
【請求項4】
前記前方開口の底壁は、前記前方開口の前記車両の幅方向における端部から外側に延びる拡幅部を更に備え、
前記拡幅部が前記サスペンションメンバに支持されている、
請求項1に記載の車両前部構造。
【請求項5】
前記サスペンションメンバは、前記車両の車体と車輪をつなぐサスペンションメンバ本体と、前記サスペンションメンバ本体から前記車両の前方に延在し、前記前方開口の底壁に取り付けられる第2メンバと、を備える、
請求項1に記載の車両前部構造。
発明の詳細な説明
【技術分野】
【0001】
本開示は、車両前部構造に関する。
続きを表示(約 1,400 文字)
【背景技術】
【0002】
自動車等の車両の前方には、歩行者が衝突した際に歩行者を保護するために、アブソーバが設けられているものがある。例えば、下記特許文献1には、車両前後方向及び車幅方向に拡がる板状部材からなる上側壁部と、この上側壁部の下方に配置された、車両前後方向及び車幅方向に拡がる板状部材からなる下側壁部と、上側壁部と下側壁部とを連結する横壁部及び縦壁部を有する本体部を備え、車両の前部においてフロントバンパの車両後方側に配置されるロアアブソーバが記載されている。
【先行技術文献】
【特許文献】
【0003】
特開2017-019439号公報
【発明の概要】
【発明が解決しようとする課題】
【0004】
上述したロアアブソーバを設けると、車両に衝突した歩行者の脚部を払うことで歩行者が車両の下部に引き込まれることを防止し、且つボンネット等の衝突エネルギーを吸収可能な部分に歩行者を転倒させることができる。しかし、このようなロアアブソーバは、歩行者の脚部の位置に合わせて、車両前方下部に配設されるのが一般的であり、この位置は、ラジエータへ走行風を導く導風ダクトに隣接している。したがって、特に上記特許文献1に記載されたような比較的高さのあるロアアブソーバを設置しようとすると、車両の種類によっては当該ロアアブソーバにより導風ダクトの前方開口の一部が塞がれてしまう可能性がある。
【0005】
本開示は、上述した課題に鑑み、ロアアブソーバによって導風ダクトの前方開口が塞がれることのない車両前部構造を提供することを目的とする。
【課題を解決するための手段】
【0006】
上記目的を達成するために、本開示の請求項1の車両前部構造は、車両前方下部に配設された前方開口と、前記前方開口の車両後方側であってラジエータの車両前方側の少なくとも一部を覆う後方開口とを有し、前記前方開口から受け入れた空気を前記後方開口へ導く導風ダクトを備える車両前部構造であって、前記前方開口の底壁は、前記車両の幅方向に延在すると共にサスペンションメンバに支持され、且つ前記車両前方から入力される衝突エネルギーを吸収するロアアブソーバを含む。
【0007】
請求項1に係る車両前部構造では、ロアアブソーバが導風ダクトの前方開口の底壁の一部であるため、車両に組み付ける前にロアアブソーバを前方開口の位置を考慮して配設することができる。これにより、車両に組み付けた際にロアアブソーバによって前方開口が塞がれることをなくすることができる。
【0008】
本開示の請求項2に係る車両前部構造は、上記本開示の本開示の請求項1に係る車両前部構造において、前記前方開口の底壁は、底壁本体と、前記底壁本体と一体に形成された前記ロアアブソーバとを含む。
【0009】
請求項2に係る車両前部構造では、ロアアブソーバの専有面積を小さくでき、且つ部品点数を削減することができる。
【0010】
本開示の請求項3に係る車両前部構造は、上記本開示の本開示の請求項1に係る車両前部構造において、前記前方開口の底壁は、底壁本体と、前記底壁本体に取り付けられた前記ロアアブソーバとを含む。
(【0011】以降は省略されています)
この特許をJ-PlatPat(特許庁公式サイト)で参照する
関連特許
トヨタ自動車株式会社
電池
1か月前
トヨタ自動車株式会社
電池
6日前
トヨタ自動車株式会社
電池
15日前
トヨタ自動車株式会社
電池
今日
トヨタ自動車株式会社
車両
21日前
トヨタ自動車株式会社
車両
14日前
トヨタ自動車株式会社
配管
1日前
トヨタ自動車株式会社
方法
29日前
トヨタ自動車株式会社
車体
1か月前
トヨタ自動車株式会社
治具
22日前
トヨタ自動車株式会社
車両
21日前
トヨタ自動車株式会社
車両
29日前
トヨタ自動車株式会社
車両
1日前
トヨタ自動車株式会社
方法
27日前
トヨタ自動車株式会社
車両
1か月前
トヨタ自動車株式会社
方法
14日前
トヨタ自動車株式会社
車両
15日前
トヨタ自動車株式会社
車体
14日前
トヨタ自動車株式会社
車両
14日前
トヨタ自動車株式会社
方法
28日前
トヨタ自動車株式会社
方法
28日前
トヨタ自動車株式会社
車両
今日
トヨタ自動車株式会社
車両
28日前
トヨタ自動車株式会社
車両
23日前
トヨタ自動車株式会社
電池
27日前
トヨタ自動車株式会社
車両
27日前
トヨタ自動車株式会社
蓄電池
14日前
トヨタ自動車株式会社
正極層
27日前
トヨタ自動車株式会社
飛行体
1か月前
トヨタ自動車株式会社
自動車
28日前
トヨタ自動車株式会社
モータ
13日前
トヨタ自動車株式会社
ロータ
1日前
トヨタ自動車株式会社
サーバ
24日前
トヨタ自動車株式会社
電動機
27日前
トヨタ自動車株式会社
電動車
1日前
トヨタ自動車株式会社
モータ
24日前
続きを見る
他の特許を見る