TOP
|
特許
|
意匠
|
商標
特許ウォッチ
Twitter
他の特許を見る
公開番号
2025152874
公報種別
公開特許公報(A)
公開日
2025-10-10
出願番号
2024055042
出願日
2024-03-28
発明の名称
仕切り部材
出願人
住友理工株式会社
,
トヨタ自動車株式会社
代理人
個人
,
個人
,
個人
主分類
H01M
10/6555 20140101AFI20251002BHJP(基本的電気素子)
要約
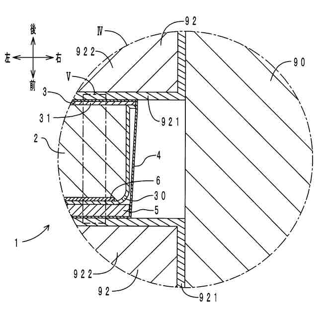
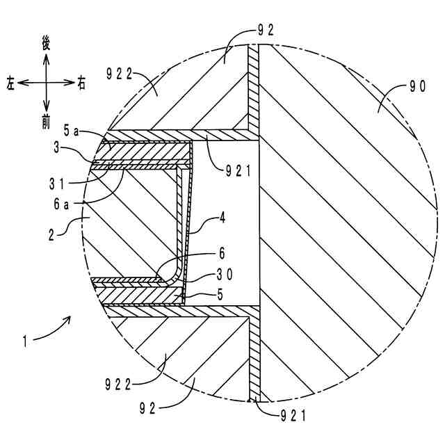
【課題】断熱性の低下を抑制可能な仕切り部材を提供することを課題とする。
【解決手段】仕切り部材1は、複数のセル92の積層体91において、積層方向に隣り合う任意の一対のセル92間に介装される。仕切り部材1は、断熱層2と、断熱層2とセル92との間に介装され、断熱層2とは異なる材料製のスペーサー層5、5aと、断熱層2とスペーサー層5、5aとの間に介装され、スペーサー層5、5aを形成する材料が断熱層2に染み込むのを抑制する染み込み抑制層6、6aと、を備える。
【選択図】図5
特許請求の範囲
【請求項1】
複数のセルの積層体において、積層方向に隣り合う任意の一対の前記セル間に介装される仕切り部材であって、
断熱層と、
前記断熱層と前記セルとの間に介装され、前記断熱層とは異なる材料製のスペーサー層と、
前記断熱層と前記スペーサー層との間に介装され、前記材料が前記断熱層に染み込むのを抑制する染み込み抑制層と、
を備えることを特徴とする仕切り部材。
続きを表示(約 320 文字)
【請求項2】
前記断熱層は、粒状物質により形成される多孔質体である粒状多孔質材料の圧縮成形品である請求項1に記載の仕切り部材。
【請求項3】
前記スペーサー層を形成する前記材料は、ポリプロピレン、ポリエチレン、アルミニウム、アルミニウム合金、フェノール樹脂、ポリアセタール、アクリル、これらのいずれかの材料の繊維強化品のいずれかである請求項1に記載の仕切り部材。
【請求項4】
前記染み込み抑制層は、多孔質材料製である請求項1に記載の仕切り部材。
【請求項5】
前記多孔質材料は、ガラス繊維紙、紙ベークライト、カーボン繊維紙、セラミック繊維紙のいずれかである請求項4に記載の仕切り部材。
発明の詳細な説明
【技術分野】
【0001】
本開示は、バッテリーモジュールの積層体に配置される仕切り部材に関する。
続きを表示(約 1,600 文字)
【背景技術】
【0002】
特許文献1のバッテリーパックにおいて、積層方向に隣り合う一対のセル間には、当該一対のセル間の伝熱を抑制するために、多孔性の断熱層が介装されている。特許文献2の組電池において、積層方向に隣り合う一対のセル間には、セルの端子の位置ばらつきを抑制するために、樹脂枠が介装されている。
【先行技術文献】
【特許文献】
【0003】
特開2021-144879号公報
特開2021-34151号公報
【発明の概要】
【発明が解決しようとする課題】
【0004】
仮に、積層方向に隣り合う一対のセル間に、上述の断熱層と樹脂枠とを併有する仕切り部材を介装する場合を想定する。この場合、セルの異常発熱により樹脂枠を形成する材料が溶融、液化すると、液化した材料が断熱層の細孔に浸入し、断熱層の多孔性が損なわれるおそれがある。すなわち、断熱層の断熱性が低下するおそれがある。そこで、本開示は、断熱性の低下を抑制可能な仕切り部材を提供することを目的とする。
【課題を解決するための手段】
【0005】
(1)上記課題を解決するため、本開示の仕切り部材は、複数のセルの積層体において、積層方向に隣り合う任意の一対の前記セル間に介装される仕切り部材であって、断熱層と、前記断熱層と前記セルとの間に介装され、前記断熱層とは異なる材料製のスペーサー層と、前記断熱層と前記スペーサー層との間に介装され、前記材料が前記断熱層に染み込むのを抑制する染み込み抑制層と、を備えることを特徴とする。
【0006】
本構成によると、積層体の各層は、積層方向に、セル、スペーサー層、染み込み抑制層、断熱層の順に積層されている。すなわち、スペーサー層と断熱層との間には、染み込み抑制層が介在している。このため、スペーサー層を形成する材料が断熱層に染み込むのを、抑制することができる。したがって、スペーサー層を形成する材料が液化しても、液化した材料(以下、適宜、「液化材料」と称す)が、染み込み抑制層を経由して、スペーサー層から断熱層に浸入するのを、抑制することができる。よって、断熱層の断熱性の低下を抑制することができる。
【0007】
(1-1)上記(1)の構成において、前記スペーサー層を形成する前記材料は、熱可塑性樹脂または金属である構成とする方がよい。本構成によると、スペーサー層を形成する材料が溶融、液化する場合であっても、当該液化材料が断熱層に染み込むのを、抑制することができる。
【0008】
(1-2)上記いずれかの構成において、前記セルの異常発熱時の温度よりも、前記スペーサー層を形成する前記材料の融点は、低い構成とする方がよい。本構成によると、セルの異常発熱により、スペーサー層を形成する材料が溶融、液化する場合であっても、当該液化材料が断熱層に染み込むのを、抑制することができる。
【0009】
(1-3)上記いずれかの構成において、前記セルの異常発熱時の温度よりも、前記染み込み抑制層を形成する前記材料の融点は、高い構成とする方がよい。本構成によると、セルの異常発熱により、スペーサー層を形成する材料が溶融、液化する場合であっても、染み込み抑制層は、自身の構造や特性などを維持することができる。このため、液化材料が断熱層に染み込むのを、抑制することができる。
【0010】
(2)上記いずれかの構成において、前記断熱層は、粒状物質により形成される多孔質体である粒状多孔質材料の圧縮成形品である構成とする方がよい。粒状多孔質材料の圧縮成形品は、内部に多数の細孔を有しており、細孔内には気体(空気など)が滞留している。このため、本構成によると、断熱層の断熱性を高くすることができる。
(【0011】以降は省略されています)
この特許をJ-PlatPat(特許庁公式サイト)で参照する
関連特許
住友理工株式会社
カバー
1か月前
住友理工株式会社
断熱材
2か月前
住友理工株式会社
シール部材
1か月前
住友理工株式会社
摩擦ダンパ
1か月前
住友理工株式会社
圧力センサ
1か月前
住友理工株式会社
仕切り部材
1か月前
住友理工株式会社
防振ゴム部材
1か月前
住友理工株式会社
防振ゴム部材
1か月前
住友理工株式会社
筒型防振装置
1か月前
住友理工株式会社
冷却用熱交換器
今日
住友理工株式会社
冷却用熱交換器
1か月前
住友理工株式会社
冷却用熱交換器
1か月前
住友理工株式会社
筒型モータマウント
1か月前
住友理工株式会社
口腔用圧力センサシート
2か月前
住友理工株式会社
電子写真機器用帯電ロール
1か月前
住友理工株式会社
電子写真機器用帯電ロール
1か月前
住友理工株式会社
電動コンプレッサの支持構造
1か月前
住友理工株式会社
電池モジュール用緩衝シート
1か月前
住友理工株式会社
ラテックス組成物の評価方法
1か月前
住友理工株式会社
ゴム組成物の物性の予測方法
1か月前
住友理工株式会社
シート用振動低減装置および乗員状態推定システム
1か月前
住友理工株式会社
建造物用ゴム製品の補修工法および建造物用ゴム製品
1か月前
住友理工株式会社
押出成形用ゴム組成物、ホース、およびホースの製造方法
1か月前
住友理工株式会社
咬合力センサシート
2か月前
APB株式会社
蓄電セル
1か月前
東ソー株式会社
絶縁電線
1か月前
個人
フレキシブル電気化学素子
1か月前
ローム株式会社
半導体装置
1か月前
日新イオン機器株式会社
イオン源
1か月前
株式会社東芝
端子台
28日前
ローム株式会社
半導体装置
1か月前
株式会社ユーシン
操作装置
1か月前
マクセル株式会社
電源装置
28日前
株式会社GSユアサ
蓄電設備
1か月前
株式会社GSユアサ
蓄電装置
7日前
株式会社GSユアサ
蓄電装置
29日前
続きを見る
他の特許を見る