TOP
|
特許
|
意匠
|
商標
特許ウォッチ
Twitter
他の特許を見る
公開番号
2025152759
公報種別
公開特許公報(A)
公開日
2025-10-10
出願番号
2024054823
出願日
2024-03-28
発明の名称
シート用振動低減装置および乗員状態推定システム
出願人
住友理工株式会社
代理人
弁理士法人あいち国際特許事務所
主分類
A61B
5/11 20060101AFI20251002BHJP(医学または獣医学;衛生学)
要約
【課題】加速度センサを用いることなく、シートの振動を低減することができるシート用振動低減装置を提供すること。
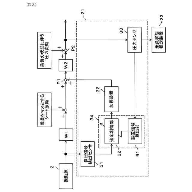
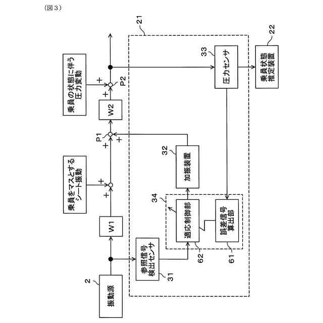
【解決手段】シート用振動低減装置21は、参照信号検出センサ31と、外乱振動のうちシート4に入力される振動を低減するために低減用振動を付与する加振装置32,232と、シート4のクッション12内に配置され、クッション12を介して入力される圧力に応じた信号を出力する圧力センサ33と、加振装置32,232を制御する加振制御装置34とを備える。加振制御装置34は、圧力センサ33が出力する信号に基づいて圧力センサ33の振動成分を誤差信号として算出する誤差信号算出部61と、参照信号および誤差信号に基づいて、誤差信号に含まれる参照信号の影響成分を小さくするように適応制御を行い、適応制御の出力値に基づいて加振装置32,232を制御する適応制御部62とを備える。
【選択図】図3
特許請求の範囲
【請求項1】
車両において振動源からシートまでの基本振動伝達経路における外乱振動を参照信号として検出する参照信号検出センサと、
前記外乱振動のうち前記シートに入力される振動を低減するために、前記参照信号検出センサから前記シートまでの部分振動伝達経路を構成する部材または前記シートに対して低減用振動を付与する加振装置と、
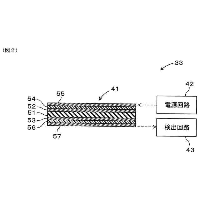
前記シートのクッション内に配置され、前記クッションを介して入力される圧力に応じた信号を出力する圧力センサと、
前記加振装置を制御する加振制御装置と、を備え、
前記加振制御装置は、
乗員が前記シートに着座した状態で、かつ、前記加振装置が駆動された状態において、前記圧力センサが出力する前記信号に基づいて前記圧力センサの振動成分を誤差信号として算出する誤差信号算出部と、
前記参照信号および前記誤差信号に基づいて、前記誤差信号に含まれる前記参照信号の影響成分を小さくするように適応制御を行い、前記適応制御の出力値に基づいて前記加振装置を制御する適応制御部と、を備える、シート用振動低減装置。
続きを表示(約 1,300 文字)
【請求項2】
さらに、前記圧力センサが出力する前記信号に基づいて演算処理を行うことにより前記シートに着座した前記乗員の状態を推定する乗員状態推定装置、を備える、請求項1に記載のシート用振動低減装置。
【請求項3】
前記圧力センサは、静電型センサであり、
前記乗員状態推定装置は、前記乗員の前記状態として、前記乗員の生体情報を推定する、請求項2に記載のシート用振動低減装置。
【請求項4】
前記圧力センサは、静電型センサであり、
前記乗員状態推定装置は、前記乗員の前記状態として、前記乗員の生体情報および前記乗員の姿勢を推定する、請求項2に記載のシート用振動低減装置。
【請求項5】
前記参照信号検出センサは、路面から車輪に振動が入力される場合において前記車輪から前記シートまでの前記基本振動伝達経路における前記外乱振動を前記参照信号として検出する、請求項1~4の何れか1項に記載のシート用振動低減装置。
【請求項6】
前記参照信号検出センサは、車載駆動機器が振動を発生する場合において前記車載駆動機器から前記シートまでの前記基本振動伝達経路における前記外乱振動を前記参照信号として検出する、請求項1~4の何れか1項に記載のシート用振動低減装置。
【請求項7】
前記参照信号検出センサは、前記外乱振動のうち10Hz以下の成分を前記参照信号として検出する、請求項1~4の何れか1項に記載のシート用振動低減装置。
【請求項8】
前記参照信号検出センサは、前記車両のシャシーフレーム、前記車両のサスペンション装置、前記車両の車載駆動機器を搭載するサブフレーム、または、前記車両の前記シートを取り付けるためのフロア部材に取り付けられる、請求項1~4の何れか1項に記載のシート用振動低減装置。
【請求項9】
車両において振動源からシートまでの基本振動伝達経路における外乱振動を参照信号として検出する参照信号検出センサと、
前記外乱振動のうち前記シートに入力される振動を低減するために、前記参照信号検出センサから前記シートまでの部分振動伝達経路を構成する部材または前記シートに対して低減用振動を付与する加振装置と、
前記シートのクッション内に配置され、前記クッションを介して入力される圧力に応じた信号を出力する圧力センサと、
前記圧力センサが出力する前記信号に基づいて演算処理を行うことにより前記シートに着座した乗員の状態を推定する乗員状態推定装置と、
前記加振装置を制御する加振制御装置と、を備え、
前記加振制御装置は、
前記乗員が前記シートに着座した状態で、かつ、前記加振装置が駆動された状態において、前記圧力センサが出力する前記信号に基づいて前記圧力センサの振動成分を誤差信号として算出する誤差信号算出部と、
前記参照信号および前記誤差信号に基づいて、前記誤差信号に含まれる前記参照信号の影響成分を小さくするように適応制御を行い、前記適応制御の出力値に基づいて前記加振装置を制御する適応制御部と、を備える、乗員状態推定システム。
発明の詳細な説明
【技術分野】
【0001】
本発明は、シート用振動低減装置および乗員状態推定システムに関する。
続きを表示(約 2,700 文字)
【背景技術】
【0002】
特許文献1には、振動に起因するシート上の乗員の不快感を効果的に低減することを目的とする車両のシート制御装置が開示されている。当該装置は、車体とシートとの間に、低減用振動を出力するためのアクチュエータを備える。制御ユニットでアクチュエータを制御することによって、シートの振動が低減される。制御ユニットによる制御は、例えば適応制御とすることができ、この場合の参照信号をセンサで検出されるばね下重量の上下方向加速度とし、誤差信号をセンサで検出されるシートの上下方向加速度とすることができる。シートの振動が低減されるように、サスペンション装置の減衰力等が制御ユニットによって合せて制御される。誤差信号を検出する検出センサは、シートクッションに内蔵された上下方向加速度を検出するセンサを用いている。
【0003】
特許文献2には、車内のシートに配置された圧力センサの出力に基づいて、シートに着座した人体の生体活動に関する生体情報を検出する車内生体情報検出装置が開示されている。当該装置は、シートの表面に沿って圧力センサを複数配置し、第1の所定圧力以上の圧力を検出した圧力センサと、第1の所定圧力より低い第2の所定圧力以下の圧力を検出した圧力センサとを、生体情報の検出に用いる圧力センサから除外することとしている。そして、生体活動以外の要因による振動を検出するための振動リファレンスを用いて、生体活動以外の要因による振動をキャンセルする適応フィルタを作成している。振動リファレンスは、シートの座面部にある圧力センサ又は生体情報の検出に用いる圧力センサから排除した圧力センサとしている。
【先行技術文献】
【特許文献】
【0004】
特開平7-186804号公報
特開2006-346093号公報
【発明の概要】
【発明が解決しようとする課題】
【0005】
特許文献1に記載されているシート用振動低減装置において、誤差信号を検出する検出センサは、シートクッションに内蔵された上下方向加速度を検出するセンサを用いている。加速度センサをシートクッションの中に入れると、加速度センサの存在によって乗員に違和感を与え、座り心地の悪化につながる。従って、加速度センサを用いることなく、シートの振動を低減することが求められている。
【0006】
また、特許文献2に記載されている生体情報を含む乗員状態推定装置において、生体情報などの目的の情報を取得するための圧力センサと、当該圧力センサとは異なる振動リファレンスとしてのセンサと、を用いて、生体情報などの乗員状態を得ることができる。しかしながら、目的の情報を取得するための圧力センサの他に、振動リファレンスとしてのセンサを配置する必要があり、装置の大型化、配線の複雑化の原因となる。従って、小型化および構成の簡易化を図ることができる装置が求められている。
【0007】
本発明は、かかる背景に鑑みてなされたものであり、第一として、加速度センサを用いることなく、シートの振動を低減することができるシート用振動低減装置を提供しようとするものである。また、本発明は、第二として、小型化および構成の簡易化を図ることができる乗員状態推定システムを提供しようとするものである。
【課題を解決するための手段】
【0008】
本発明の第一態様は、車両において振動源からシートまでの基本振動伝達経路における外乱振動を参照信号として検出する参照信号検出センサと、
前記外乱振動のうち前記シートに入力される振動を低減するために、前記参照信号検出センサから前記シートまでの部分振動伝達経路を構成する部材または前記シートに対して低減用振動を付与する加振装置と、
前記シートのクッション内に配置され、前記クッションを介して入力される圧力に応じた信号を出力する圧力センサと、
前記加振装置を制御する加振制御装置と、を備え、
前記加振制御装置は、
乗員が前記シートに着座した状態で、かつ、前記加振装置が駆動された状態において、前記圧力センサが出力する前記信号に基づいて前記圧力センサの振動成分を誤差信号として算出する誤差信号算出部と、
前記参照信号および前記誤差信号に基づいて、前記誤差信号に含まれる前記参照信号の影響成分を小さくするように適応制御を行い、前記適応制御の出力値に基づいて前記加振装置を制御する適応制御部と、を備える、シート用振動低減装置にある。
【0009】
本発明の第二態様は、車両において振動源からシートまでの基本振動伝達経路における外乱振動を参照信号として検出する参照信号検出センサと、
前記外乱振動のうち前記シートに入力される振動を低減するために、前記参照信号検出センサから前記シートまでの部分振動伝達経路を構成する部材または前記シートに対して低減用振動を付与する加振装置と、
前記シートのクッション内に配置され、前記クッションを介して入力される圧力に応じた信号を出力する圧力センサと、
前記圧力センサが出力する前記信号に基づいて演算処理を行うことにより前記シートに着座した乗員の状態を推定する乗員状態推定装置と、
前記加振装置を制御する加振制御装置と、を備え、
前記加振制御装置は、
前記乗員が前記シートに着座した状態で、かつ、前記加振装置が駆動された状態において、前記圧力センサが出力する前記信号に基づいて前記圧力センサの振動成分を誤差信号として算出する誤差信号算出部と、
前記参照信号および前記誤差信号に基づいて、前記誤差信号に含まれる前記参照信号の影響成分を小さくするように適応制御を行い、前記適応制御の出力値に基づいて前記加振装置を制御する適応制御部と、を備える、乗員状態推定システムにある。
【発明の効果】
【0010】
本発明の第一態様によれば、シート用振動低減装置は、適応制御により加振装置を制御することにより、シートの振動を低減することができる。ここで、シート用振動低減装置は、シートのクッション内に配置され、クッションを介して入力される圧力に応じた信号を出力する圧力センサを備えている。そして、適応制御に用いる誤差信号は、圧力センサが出力する信号に基づいて算出される圧力センサの振動成分としている。
(【0011】以降は省略されています)
この特許をJ-PlatPat(特許庁公式サイト)で参照する
関連特許
住友理工株式会社
断熱材
22日前
住友理工株式会社
断熱材
1か月前
住友理工株式会社
ブッシュ
1か月前
住友理工株式会社
摩擦ダンパ
12日前
住友理工株式会社
圧力センサ
1日前
住友理工株式会社
仕切り部材
1日前
住友理工株式会社
シール部材
2日前
住友理工株式会社
防振ゴム部材
1日前
住友理工株式会社
ブロック装置
1か月前
住友理工株式会社
接触検知装置
1か月前
住友理工株式会社
防振ブッシュ
1か月前
住友理工株式会社
被覆金属物品
1か月前
住友理工株式会社
防振ゴム部材
1日前
住友理工株式会社
産業用ホース
2か月前
住友理工株式会社
筒型防振装置
3日前
住友理工株式会社
冷却用熱交換器
1か月前
住友理工株式会社
生体振動センサ
1か月前
住友理工株式会社
冷却用熱交換器
2日前
住友理工株式会社
断熱材の製造方法
1か月前
住友理工株式会社
筒型モータマウント
10日前
住友理工株式会社
カップ付シートラバー
1か月前
住友理工株式会社
口腔用圧力センサシート
1か月前
住友理工株式会社
電子写真機器用帯電ロール
3日前
住友理工株式会社
電子写真機器用帯電ロール
3日前
住友理工株式会社
電子写真機器用現像ロール
1か月前
住友理工株式会社
電子写真機器用導電性ロール
1か月前
住友理工株式会社
電池モジュール用緩衝シート
1日前
住友理工株式会社
ラテックス組成物の評価方法
1日前
住友理工株式会社
モータマウント用の筒型防振装置
1か月前
住友理工株式会社
制振ストッパー及び自動倉庫のラック
1か月前
住友理工株式会社
シート用振動低減装置および乗員状態推定システム
1日前
住友理工株式会社
建造物用ゴム製品の補修工法および建造物用ゴム製品
2日前
住友理工株式会社
押出成形用ゴム組成物、ホース、およびホースの製造方法
1日前
住友理工株式会社
咬合力センサシート
22日前
住友理工株式会社
マトリックスポリマーにフィラーが分散されたポリマー複合材料を解析する方法
1か月前
住友理工株式会社
導電性熱可塑性エラストマー組成物、それを用いた導電性シート、および導電性シートの製造方法
1か月前
続きを見る
他の特許を見る