TOP
|
特許
|
意匠
|
商標
特許ウォッチ
Twitter
他の特許を見る
公開番号
2025142750
公報種別
公開特許公報(A)
公開日
2025-10-01
出願番号
2024042278
出願日
2024-03-18
発明の名称
筒型モータマウント
出願人
住友理工株式会社
代理人
弁理士法人笠井中根国際特許事務所
,
個人
,
個人
主分類
F16F
15/08 20060101AFI20250924BHJP(機械要素または単位;機械または装置の効果的機能を生じ維持するための一般的手段)
要約
【課題】サージング等に起因する高周波域での高動ばね化を低減する作用をより効果的に得ることができる、新規な構造の筒型モータマウントを提供する。
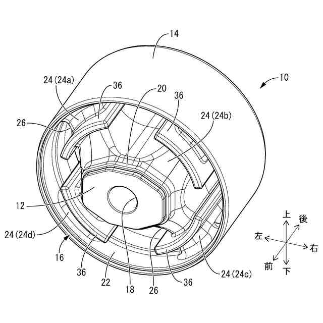
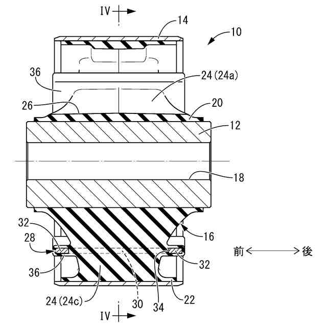
【解決手段】インナ軸部材12とアウタ筒部材14とが本体ゴム弾性体16で連結された構造を有する筒型モータマウント10であって、本体ゴム弾性体16は、周方向で相互に離れた位置でインナ軸部材12とアウタ筒部材14とを連結するゴム脚24を備えており、透孔34を備えた枠状マス部材28が、枠状マス部材28がインナ軸部材12とアウタ筒部材14との何れからも離れた位置でゴム脚24の周囲を囲むように配されてゴム脚24に固着されている。
【選択図】図4
特許請求の範囲
【請求項1】
インナ軸部材とアウタ筒部材とが本体ゴム弾性体で連結された構造を有する筒型モータマウントであって、
前記本体ゴム弾性体は、周方向で相互に離れた位置で前記インナ軸部材と前記アウタ筒部材とを連結するゴム脚を備えており、
透孔を備えた枠状マス部材が、該インナ軸部材と該アウタ筒部材との何れからも離れた位置で該ゴム脚の周囲を囲むように配されて該ゴム脚に固着されている筒型モータマウント。
続きを表示(約 450 文字)
【請求項2】
前記枠状マス部材における2/3以上の部分が該ゴム脚から突出している請求項1に記載の筒型モータマウント。
【請求項3】
前記ゴム脚から周囲外方へ突出する固着突部が該ゴム脚に一体形成されており、
前記枠状マス部材が該固着突部に固着されて該ゴム脚を周囲外方へ外れた位置に保持されている請求項2に記載の筒型モータマウント。
【請求項4】
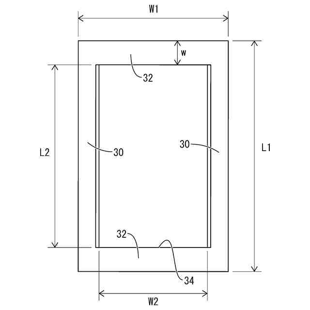
前記枠状マス部材の軸方向長さ寸法と周方向幅寸法とが、前記透孔の軸方向長さ寸法と周方向幅寸法とに対して、110%~160%の範囲内とされている請求項1~3の何れか一項に記載の筒型モータマウント。
【請求項5】
複数の前記ゴム脚に対して前記枠状マス部材がそれぞれ設けられている請求項1~3の何れか一項に記載の筒型モータマウント。
【請求項6】
前記枠状マス部材は、板材を板厚方向に打ち抜いて前記透孔を形成したプレス金具とされている請求項1~3の何れか一項に記載の筒型モータマウント。
発明の詳細な説明
【技術分野】
【0001】
本発明は、例えば電気自動車やハイブリッドカー等の電動化車両に用いられる筒型モータマウントに関するものである。
続きを表示(約 1,700 文字)
【背景技術】
【0002】
昨今、自動車の電動化の進展に伴って、従来の内燃機関を用いた車両とは異なる電動化車両に特有の振動状態に適した防振装置の開発が進んでいる。例えば、本出願人は、特許第7364658号公報(特許文献1)において、電動化車両の駆動用電気モータの支持に適したモータマウント用筒型防振装置を提案している。特許文献1のモータマウント用筒型防振装置は、インナ軸部材とアウタ筒部材が本体ゴム弾性体で連結された構造を有している。
【先行技術文献】
【特許文献】
【0003】
特許第7364658号公報
【発明の概要】
【発明が解決しようとする課題】
【0004】
ところで、特許文献1のモータマウント用筒型防振装置では、モータマウントにおいて問題となり易いサージング等に起因する中乃至高周波数域での高動ばね化の低減が図られている。即ち、軸方向に突出して周方向に延びる弾性突起が本体ゴム弾性体に一体形成されており、本体ゴム弾性体のサージングによる高動ばね化が弾性突起によって抑制されるようになっている。
【0005】
しかしながら、本体ゴム弾性体と一体形成された弾性突起では、構造が簡単になるメリットがある反面、大型化を防ぎつつ質量を大きく確保することが難しいことから、弾性突起による本体ゴム弾性体の高動ばね化の抑制作用が制限されてしまうおそれがあった。特に、例えば本体ゴム弾性体の軸方向両側のスペースに制約があって弾性突起を十分に大きく形成できない場合等には、弾性突起の質量の確保が難しくなり易く、弾性突起によるサージングの抑制作用が不十分になってしまうことも考えられた。
【0006】
本発明の解決課題は、サージング等に起因する高周波域での高動ばね化を低減する作用をより効果的に得ることができる、新規な構造の筒型モータマウントを提供することにある。
【課題を解決するための手段】
【0007】
以下、本発明を把握するための好ましい態様について記載するが、以下に記載の各態様は、例示的に記載したものであって、適宜に互いに組み合わせて採用され得るだけでなく、各態様に記載の複数の構成要素についても、可能な限り独立して認識及び採用することができ、適宜に別の態様に記載の何れかの構成要素と組み合わせて採用することもできる。それによって、本発明では、以下に記載の態様に限定されることなく、種々の別態様が実現され得る。
【0008】
第一の態様は、インナ軸部材とアウタ筒部材とが本体ゴム弾性体で連結された構造を有する筒型モータマウントであって、前記本体ゴム弾性体は、周方向で相互に離れた位置で前記インナ軸部材と前記アウタ筒部材とを連結するゴム脚を備えており、透孔を備えた枠状マス部材が、該インナ軸部材と該アウタ筒部材との何れからも離れた位置で該ゴム脚の周囲を囲むように配されて該ゴム脚に固着されているものである。
【0009】
本態様に従う構造とされた筒型モータマウントによれば、枠状マス部材が本体ゴム弾性体のゴム脚に固着されていることにより、本体ゴム弾性体のサージングによる高動ばね化を抑えることができる。従って、中乃至高周波の広い周波数領域、特に従来の内燃機関用防振装置では問題にならなかったほどの高周波域にまで亘って著しい高動ばね化を防いで、良好な防振性能を実現することが可能になる。
【0010】
高動ばね化を抑えるための枠状マス部材が、本体ゴム弾性体とは別体とされて、本体ゴム弾性体に固着されていることから、例えば、枠状マス部材を比重の大きな金属材料で形成する等して、枠状マス部材の大型化を回避しながら枠状マス部材の質量を大きく得ることも可能となる。それゆえ、本体ゴム弾性体のサージングによる高動ばね化を、質量の大きな枠状マス部材で効果的に抑えることができる。
(【0011】以降は省略されています)
この特許をJ-PlatPat(特許庁公式サイト)で参照する
関連特許
住友理工株式会社
断熱材
1か月前
住友理工株式会社
断熱材
23日前
住友理工株式会社
ブッシュ
1か月前
住友理工株式会社
仕切り部材
2日前
住友理工株式会社
シール部材
3日前
住友理工株式会社
摩擦ダンパ
13日前
住友理工株式会社
圧力センサ
2日前
住友理工株式会社
防振ゴム部材
2日前
住友理工株式会社
接触検知装置
1か月前
住友理工株式会社
防振ブッシュ
1か月前
住友理工株式会社
被覆金属物品
1か月前
住友理工株式会社
筒型防振装置
4日前
住友理工株式会社
防振ゴム部材
2日前
住友理工株式会社
冷却用熱交換器
3日前
住友理工株式会社
生体振動センサ
1か月前
住友理工株式会社
冷却用熱交換器
1か月前
住友理工株式会社
断熱材の製造方法
1か月前
住友理工株式会社
筒型モータマウント
11日前
住友理工株式会社
口腔用圧力センサシート
1か月前
住友理工株式会社
電子写真機器用帯電ロール
4日前
住友理工株式会社
電子写真機器用帯電ロール
4日前
住友理工株式会社
電子写真機器用現像ロール
1か月前
住友理工株式会社
ラテックス組成物の評価方法
2日前
住友理工株式会社
電子写真機器用導電性ロール
1か月前
住友理工株式会社
電池モジュール用緩衝シート
2日前
住友理工株式会社
モータマウント用の筒型防振装置
1か月前
住友理工株式会社
制振ストッパー及び自動倉庫のラック
1か月前
住友理工株式会社
シート用振動低減装置および乗員状態推定システム
2日前
住友理工株式会社
建造物用ゴム製品の補修工法および建造物用ゴム製品
3日前
住友理工株式会社
押出成形用ゴム組成物、ホース、およびホースの製造方法
2日前
住友理工株式会社
咬合力センサシート
23日前
個人
鍋虫ねじ
1か月前
個人
ホース保持具
5か月前
個人
回転伝達機構
2か月前
個人
紛体用仕切弁
1か月前
個人
トーションバー
6か月前
続きを見る
他の特許を見る