TOP
|
特許
|
意匠
|
商標
特許ウォッチ
Twitter
他の特許を見る
10個以上の画像は省略されています。
公開番号
2025173456
公報種別
公開特許公報(A)
公開日
2025-11-27
出願番号
2024192014
出願日
2024-10-31
発明の名称
冷却用熱交換器
出願人
住友理工株式会社
代理人
弁理士法人笠井中根国際特許事務所
,
個人
,
個人
主分類
H01M
10/6554 20140101AFI20251119BHJP(基本的電気素子)
要約
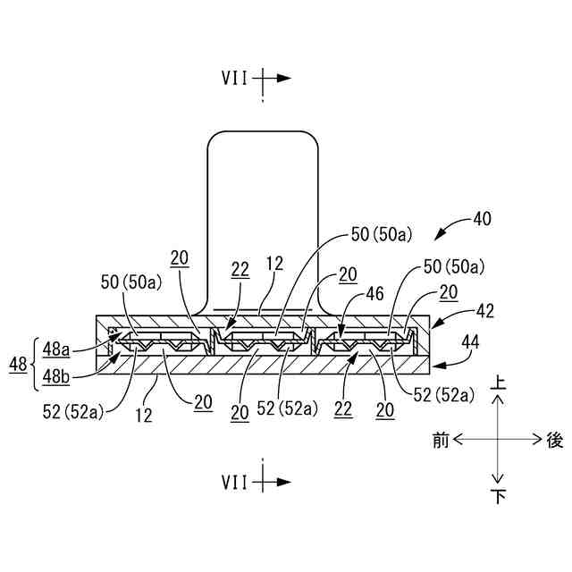
【課題】冷却性能の更なる向上を期待できる、新規な構造の冷却用熱交換器を提供する。
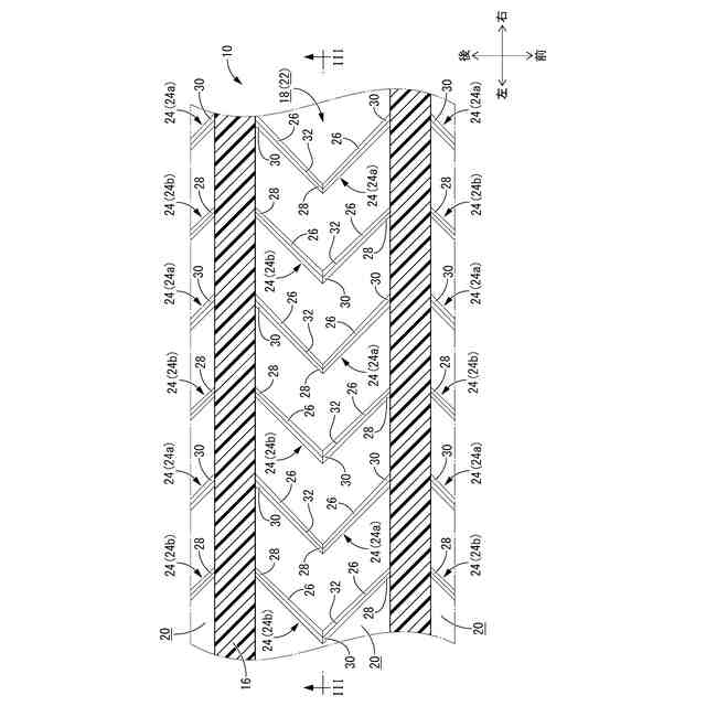
【解決手段】少なくとも一方が冷却対象に重ね合わされる冷却面12を備えた2つのプレート14,16間に冷却用の熱媒体が流れる冷却流路18が形成された冷却用熱交換器10であって、冷却流路18の壁部には突起24が設けられており、突起24が冷却流路18の流路長さ方向に対する交差方向に延びており、突起24には、冷却流路18の流路長さ方向に向けて流路幅方向の両側へ広がる一対の傾斜部26,26が設けられており、一対の傾斜部26,26には、高さの低い低突出部28と高さの高い高突出部30とが設けられている。
【選択図】図3
特許請求の範囲
【請求項1】
少なくとも一方が冷却対象に重ね合わされる冷却面を備えた2つのプレート間に冷却用の熱媒体が流れる冷却流路が形成された冷却用熱交換器であって、
前記冷却流路の壁部には突起が設けられており、
該突起が該冷却流路の流路長さ方向に対する交差方向に延びており、
該突起には、該冷却流路の流路長さ方向に向けて流路幅方向の両側へ広がる一対の傾斜部が設けられており、
該一対の傾斜部には、高さの低い低突出部と高さの高い高突出部とが設けられている冷却用熱交換器。
続きを表示(約 1,100 文字)
【請求項2】
前記突起は、突出方向視でV字状とされている請求項1に記載の冷却用熱交換器。
【請求項3】
前記突起の突出高さは、前記低突出部から前記高突出部へ向けて徐々に高くなっている請求項1又は2に記載の冷却用熱交換器。
【請求項4】
前記突起は、前記冷却流路の流路長さ方向に複数が並んで設けられており、
流路長さ方向に並んだ該複数の突起は、前記低突出部の流路幅方向での位置が相互に異なり且つ前記高突出部の流路幅方向での位置が相互に異なる複数種類を含んでいる請求項1又は2に記載の冷却用熱交換器。
【請求項5】
前記突起における流路幅方向の中央部分に前記低突出部と前記高突出部との何れか一方が位置していると共に、該突起における流路幅方向の両端部分に該低突出部と該高突出部との何れか他方がそれぞれ位置している請求項1又は2に記載の冷却用熱交換器。
【請求項6】
前記突起は、前記冷却流路の流路長さ方向に複数が並んで設けられており、
該複数の突起は、流路幅方向の中央部分に前記低突出部が設定され且つ両端部分に前記高突出部が設定された第一突起と、流路幅方向の中央部分に該高突出部が設定され且つ両端部分に該低突出部が設定された第二突起とが、流路長さ方向で交互に配されて構成されている請求項5に記載の冷却用熱交換器。
【請求項7】
一方の前記プレートに前記冷却面が設定されており、他方の前記プレートには前記突起が形成されている請求項1又は2に記載の冷却用熱交換器。
【請求項8】
前記他方のプレートから突出して前記一方のプレートに固着される支柱部が設けられており、前記突起が該支柱部の下流側に隣接して側方に配置されている請求項1又は2に記載の冷却用熱交換器。
【請求項9】
前記2つのプレートが何れも前記冷却面を備えており、
それら2つのプレートの間にインナーフィンが配されて、該インナーフィンの両側にそれぞれ前記冷却流路が形成されており、
該インナーフィンには、一方の該冷却流路へ突出する前記突起である表面突起と、他方の該冷却流路へ突出する該突起である裏面突起とが設けられている請求項1又は2に記載の冷却用熱交換器。
【請求項10】
前記冷却流路は、並列的に延びる複数の流路部からなる並列流路部を有しており、
該並列流路部を構成する該流路部に対して複数の前記突起が流路長さ方向に並んで配されている請求項1又は2に記載の冷却用熱交換器。
(【請求項11】以降は省略されています)
発明の詳細な説明
【技術分野】
【0001】
本発明は、例えば、電動化車両等に用いられるバッテリー等の冷却対象の冷却に用いられる冷却用熱交換器に関するものである。
続きを表示(約 1,500 文字)
【背景技術】
【0002】
従来から、バッテリーやインバータ等の冷却に用いられる冷却用熱交換器が知られている。冷却用熱交換器は、例えば、特開2011-165939号公報(特許文献1)に開示されているように、相互に重ね合わされる一対の外殻プレートの対向間の内部領域に冷却媒体が流れる冷媒通路が形成された構造を有している。そして、外殻プレートの表面が冷媒通路を流れる冷却媒体との熱交換によって冷却されることにより、表面に重ね合わされた冷却対象が冷却される。
【先行技術文献】
【特許文献】
【0003】
特開2011-165939号公報
【発明の概要】
【発明が解決しようとする課題】
【0004】
ところで、特許文献1のような冷却用熱交換器は、冷媒通路において冷却対象の近くを流れる冷却媒体が、冷却対象との熱交換によって温められ易い一方、冷却対象から離れて流れる冷却媒体は、冷却対象との熱交換が生じ難く、冷却性能に寄与し難いという問題があった。そこで、特許文献1では、冷媒通路内へ突出する突起(縮小部)が形成されており、冷却媒体が突起を乗り越えることで撹拌されるようになっている。
【0005】
しかし、本発明者らが検討したところ、特許文献1のような突起を設けたとしても、冷却性能が未だ不十分な場合もあることが分かってきた。
【0006】
本発明の解決課題は、冷却性能の更なる向上を期待できる、新規な構造の冷却用熱交換器を提供することにある。
【課題を解決するための手段】
【0007】
以下、本発明を把握するための好ましい態様について記載するが、以下に記載の各態様は、例示的に記載したものであって、適宜に互いに組み合わせて採用され得るだけでなく、各態様に記載の複数の構成要素についても、可能な限り独立して認識及び採用することができ、適宜に別の態様に記載の何れかの構成要素と組み合わせて採用することもできる。それによって、本発明では、以下に記載の態様に限定されることなく、種々の別態様が実現され得る。
【0008】
第一の態様は、少なくとも一方が冷却対象に重ね合わされる冷却面を備えた2つのプレート間に冷却用の熱媒体が流れる冷却流路が形成された冷却用熱交換器であって、前記冷却流路の壁部には突起が設けられており、該突起が該冷却流路の流路長さ方向に対する交差方向に延びており、該突起には、該冷却流路の流路長さ方向に向けて流路幅方向の両側へ広がる一対の傾斜部が設けられており、該一対の傾斜部には、高さの低い低突出部と高さの高い高突出部とが設けられているものである。
【0009】
本態様に従う構造とされた冷却用熱交換器によれば、突起が一対の傾斜部を備えた形状とされていることから、傾斜部を略直交方向に乗り越える熱媒体の流れが、流路長さ方向に対して流路幅方向に傾斜する方向へ向かう。このように、熱媒体の流動を流路長さ方向だけでなく流路幅方向にも生ぜしめることで、熱媒体の乱流による撹拌作用等をより効果的に得ることができて、熱媒体の冷却面に近い位置での温度上昇をより下流側まで抑制することが可能となる。
【0010】
また、相互に高さの異なる低突出部と高突出部とが突起における流路幅方向の相互に異なる位置に設けられていることから、突起による熱媒体の撹拌作用や熱媒体の流速等を流路幅方向で異ならせることができる。これにより、流路幅方向において冷却性能を調節することができて、例えば、冷却対象の温度分布等に応じた冷却性能をより高度に実現することが可能となる。
(【0011】以降は省略されています)
この特許をJ-PlatPat(特許庁公式サイト)で参照する
関連特許
住友理工株式会社
カバー
1か月前
住友理工株式会社
圧力センサ
1か月前
住友理工株式会社
シール部材
1か月前
住友理工株式会社
仕切り部材
1か月前
住友理工株式会社
筒型防振装置
1か月前
住友理工株式会社
防振ゴム部材
1か月前
住友理工株式会社
防振ゴム部材
1か月前
住友理工株式会社
冷却用熱交換器
1か月前
住友理工株式会社
冷却用熱交換器
今日
住友理工株式会社
冷却用熱交換器
1か月前
住友理工株式会社
電子写真機器用帯電ロール
1か月前
住友理工株式会社
電動コンプレッサの支持構造
1か月前
住友理工株式会社
電池モジュール用緩衝シート
1か月前
住友理工株式会社
ゴム組成物の物性の予測方法
1か月前
住友理工株式会社
ラテックス組成物の評価方法
1か月前
住友理工株式会社
シート用振動低減装置および乗員状態推定システム
1か月前
住友理工株式会社
建造物用ゴム製品の補修工法および建造物用ゴム製品
1か月前
住友理工株式会社
押出成形用ゴム組成物、ホース、およびホースの製造方法
1か月前
APB株式会社
蓄電セル
1か月前
東ソー株式会社
絶縁電線
1か月前
個人
フレキシブル電気化学素子
1か月前
ローム株式会社
半導体装置
1か月前
株式会社ユーシン
操作装置
1か月前
マクセル株式会社
電源装置
28日前
株式会社東芝
端子台
28日前
日新イオン機器株式会社
イオン源
1か月前
株式会社GSユアサ
蓄電装置
29日前
株式会社GSユアサ
蓄電設備
1か月前
株式会社ホロン
冷陰極電子源
1か月前
株式会社GSユアサ
蓄電装置
7日前
株式会社GSユアサ
蓄電設備
1か月前
太陽誘電株式会社
コイル部品
1か月前
株式会社GSユアサ
蓄電装置
29日前
オムロン株式会社
電磁継電器
1か月前
株式会社GSユアサ
蓄電装置
21日前
三菱電機株式会社
回路遮断器
15日前
続きを見る
他の特許を見る