TOP
|
特許
|
意匠
|
商標
特許ウォッチ
Twitter
他の特許を見る
10個以上の画像は省略されています。
公開番号
2025153412
公報種別
公開特許公報(A)
公開日
2025-10-10
出願番号
2024055888
出願日
2024-03-29
発明の名称
圧力センサ
出願人
住友理工株式会社
代理人
弁理士法人あいち国際特許事務所
主分類
G01L
1/14 20060101AFI20251002BHJP(測定;試験)
要約
【課題】シートや寝具の利用者に違和感を与えることを抑制するとともに、検出感度が向上した圧力センサを提供しようとするものである。
【解決手段】圧力センサ2は、絶縁体シート本体21と、第1検出電極32と、第2検出電極62と、第1絶縁体シート31と、第1シールド電極33とを備える。第1絶縁体シート31の厚みは、絶縁体シート本体21の厚みと同等以下である。第1シールド電極33は、第1シールド電極33の厚み方向から見て、第1検出電極32に重ねて配置されるとともに、第1検出電極32の外形状を含む外形状を備え、かつ、第1シールド電極33の厚み方向に貫通する複数の第1開口33aを備える。
【選択図】図4
特許請求の範囲
【請求項1】
絶縁体シート本体と、
前記絶縁体シート本体の第1面側に配置される第1検出電極と、
前記絶縁体シート本体の第2面側に配置され、前記第1検出電極に重なるように配置される第2検出電極と、
前記第1検出電極の外面側に配置される第1絶縁体シートと、
前記第1絶縁体シートの外面側に配置され、前記第1検出電極を電磁的にシールドする第1シールド電極と、を備え、
前記第1絶縁体シートの厚みは、前記絶縁体シート本体の厚みと同等以下であり、
前記第1シールド電極は、
前記第1シールド電極の厚み方向から見て、前記第1検出電極に重ねて配置されるとともに、前記第1検出電極の外形状を含む外形状を備え、かつ、
前記第1シールド電極の厚み方向に貫通する複数の第1開口を備える、圧力センサ。
続きを表示(約 3,000 文字)
【請求項2】
さらに、
前記第2検出電極の外面側に配置される第2絶縁体シートと、
前記第2絶縁体シートの外面側に配置され、前記第2検出電極を電磁的にシールドする第2シールド電極と、備え、
前記第2絶縁体シートの厚みは、前記絶縁体シート本体の厚みと同等以下であり、
前記第2シールド電極は、
前記第2シールド電極の厚み方向から見て、前記第2検出電極に重ねて配置されるとともに、前記第2検出電極の外形状を含む外形状を備え、かつ、
前記第2シールド電極の厚み方向に貫通する複数の第2開口を備える、請求項1に記載の圧力センサ。
【請求項3】
さらに、
前記絶縁体シート本体の第1面側に配置され、前記絶縁体シート本体とは別体に構成された第1電極ユニット、を備え、
前記第1電極ユニットは、
前記第1絶縁体シートと、
前記第1絶縁体シートの内面に接着され、前記絶縁体シート本体に非接着で配置される前記第1検出電極と、
前記第1絶縁体シートの外面に接着される前記第1シールド電極と、を備える、請求項1に記載の圧力センサ。
【請求項4】
前記第1検出電極は、前記第1絶縁体シートの内面に接着した印刷形成物であり、
前記第1シールド電極は、前記第1絶縁体シートの外面に接着した印刷形成物である、請求項3に記載の圧力センサ。
【請求項5】
さらに、
前記絶縁体シート本体の第1面側に配置され、前記絶縁体シート本体とは別体に構成された第1電極ユニットと、
前記絶縁体シート本体の第2面側に配置され、前記第1電極ユニットに重なるように配置され、前記絶縁体シート本体とは別体に構成された第2電極ユニットと、を備え、
前記第1電極ユニットは、
前記第1絶縁体シートと、
前記第1絶縁体シートの内面に接着され、前記絶縁体シート本体に非接着で配置される前記第1検出電極と、
前記第1絶縁体シートの外面に接着される前記第1シールド電極と、を備え、
前記第2電極ユニットは、
前記第2絶縁体シートと、
前記第2絶縁体シートの内面に接着され、前記絶縁体シート本体に非接着で配置される前記第2検出電極と、
前記第2絶縁体シートの外面に接着される前記第2シールド電極と、を備える、請求項2に記載の圧力センサ。
【請求項6】
前記第1検出電極は、前記第1絶縁体シートの内面に接着した印刷形成物であり、
前記第1シールド電極は、前記第1絶縁体シートの外面に接着した印刷形成物であり、
前記第2検出電極は、前記第2絶縁体シートの内面に接着した印刷形成物であり、
前記第2シールド電極は、前記第2絶縁体シートの外面に接着した印刷形成物である、請求項5に記載の圧力センサ。
【請求項7】
さらに、
前記第1絶縁体シートの側縁から、前記第1絶縁体シートの面方向に延長された第1主延長絶縁体シートと、
前記第1主延長絶縁体シートの内面側に配置され、前記第1検出電極と電気的に接続された第1配線と、
前記第1主延長絶縁体シートの外面側に配置され、前記第1シールド電極と電気的に接続され、前記第1配線を電磁的にシールドする第1主配線シールド電極と、を備え、
前記第1主配線シールド電極は、
前記第1主配線シールド電極の厚み方向から見て、前記第1配線に重ねて配置されるとともに、前記第1配線のうちコネクタ領域を除く外形状を含む外形状を備え、かつ、
前記第1主配線シールド電極の厚み方向に貫通する複数の第3開口を備える、請求項1に記載の圧力センサ。
【請求項8】
さらに、
前記第1絶縁体シートの側縁から、前記第1絶縁体シートの面方向に延長された第1主延長絶縁体シートと、
前記第1主延長絶縁体シートの内面側に配置され、前記第1検出電極と電気的に接続された第1配線と、
前記第1主延長絶縁体シートの外面側に配置され、前記第1シールド電極と電気的に接続され、前記第1配線を電磁的にシールドする第1主配線シールド電極と、を備え、
前記第1主配線シールド電極は、
前記第1主配線シールド電極の厚み方向から見て、前記第1配線に重ねて配置されるとともに、前記第1配線のうちコネクタ領域を除く外形状を含む外形状を備え、かつ、
前記第1主配線シールド電極の厚み方向に貫通する複数の第3開口を備え、
さらに、
前記第2絶縁体シートの側縁から、前記第2絶縁体シートの面方向に延長された第2主延長絶縁体シートと、
前記第2主延長絶縁体シートの内面側に配置され、前記第2検出電極と電気的に接続された第2配線と、
前記第2主延長絶縁体シートの外面側に配置され、前記第2シールド電極と電気的に接続され、前記第2配線を電磁的にシールドする第2主配線シールド電極と、を備え、
前記第2主配線シールド電極は、
前記第2主配線シールド電極の厚み方向から見て、前記第2配線に重ねて配置されるとともに、前記第2配線のうちコネクタ領域を除く外形状を含む外形状を備え、かつ、
前記第2主配線シールド電極の厚み方向に貫通する複数の第4開口を備える、請求項2に記載の圧力センサ。
【請求項9】
さらに、
前記第1絶縁体シートの側縁から、前記第1絶縁体シートの面方向に延長され、前記第2主延長絶縁体シートに非接着に配置され、前記第2主延長絶縁体シートに対向して配置される第1副延長絶縁体シートと、
前記第1副延長絶縁体シートの外面側に配置され、前記第1シールド電極と電気的に接続され、前記第2配線を電磁的にシールドする第1副配線シールド電極と、を備え、
前記第1副配線シールド電極は、
前記第1副配線シールド電極の厚み方向から見て、前記第2配線に重ねて配置されるとともに、前記第2配線のうちコネクタ領域を除く外形状を含む外形状を備え、かつ、
前記第1副配線シールド電極の厚み方向に貫通する複数の第5開口を備える、請求項8に記載の圧力センサ。
【請求項10】
さらに、
前記第2絶縁体シートの側縁から、前記第2絶縁体シートの面方向に延長され、前記第1主延長絶縁体シートに非接着に配置され、前記第1主延長絶縁体シートに対向して配置される第2副延長絶縁体シートと、
前記第2副延長絶縁体シートの外面側に配置され、前記第2シールド電極と電気的に接続され、前記第1配線を電磁的にシールドする第2副配線シールド電極と、を備え、
前記第2副配線シールド電極は、
前記第2副配線シールド電極の厚み方向から見て、前記第1配線に重ねて配置されるとともに、前記第1配線のうちコネクタ領域を除く外形状を含む外形状を備え、かつ、
前記第2副配線シールド電極の厚み方向に貫通する複数の第6開口を備える、請求項9に記載の圧力センサ。
(【請求項11】以降は省略されています)
発明の詳細な説明
【技術分野】
【0001】
本発明は、圧力センサに関する。
続きを表示(約 1,900 文字)
【背景技術】
【0002】
従来、自動車等の車両のシートに配置されて、着座者の生体情報を検出する圧力センサとして、特許文献1に記載のものが知られている。この圧力センサは、シートのシートクッション内に配置されて、シートに着座した人の、呼吸や心拍等の生体情報を検出する。
【0003】
上記の圧力センサは、導電性を備える導電布からなる一対の検出電極の間に、不織布からなる絶縁体シートが配置されている。人がシートに着座することにより、例えば、着座者の呼吸や心拍によって、圧力センサに圧力が印加される。すると、一対の検出電極の間に配置された絶縁体シートが圧縮され、一対の検出電極間の距離が変化する。これにより一対の検出電極間の静電容量が変化する。この静電容量の変化を検出することにより、着座者の生体情報を検出する。
【先行技術文献】
【特許文献】
【0004】
国際公開第2019/116919号
【発明の概要】
【発明が解決しようとする課題】
【0005】
シートの周囲には、種々の電気機器が配置されていることがある。例えば、車両においては、シートの周囲には、多数の電気機器が存在する。このような場合には、圧力センサの検出精度を向上させるために、電気機器から発生したノイズを電磁的にシールドすることが望まれる。そこで、検出電極の外側にシールド電極を配置することが考えられる。この場合において、検出電極とシールド電極との間に絶縁性の介在物が配置される。そのため、検出電極とシールド電極との間にいわゆる寄生容量が発生する。寄生容量の影響により、検出電極による検出感度が低下するおそれがある。
【0006】
寄生容量を低下させるためには、絶縁性の介在物の厚みを大きくすることで、検出電極とシールド電極との距離を大きくすることが考えられる。絶縁性の介在物が比較的に硬い材料で形成される場合、絶縁性の介在物の厚みを大きくすると、シートに着座した着座者の座り心地が低下するおそれがある。一方、絶縁性の介在物を比較的に柔らかい材料で形成される場合、着座者から付与される生体情報に応じた圧力が絶縁性の介在物によって吸収されてしまい、圧力センサの検出感度が低下するおそれがある。
【0007】
また、シートの他に、寝具などに圧力センサを配置して、利用者の生体情報などを取得する場合にも、同様の課題が生じる。
【0008】
本発明の1つは、シートや寝具の利用者に違和感を与えることを抑制するとともに、検出感度が向上した圧力センサを提供しようとするものである。また、本発明の他の1つは、簡易な構成により低コスト化を図ることができる圧力センサを提供しようとするものである。
【課題を解決するための手段】
【0009】
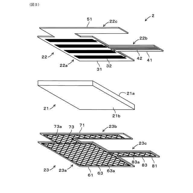
本発明の一態様は、絶縁体シート本体と、
前記絶縁体シート本体の第1面側に配置される第1検出電極と、
前記絶縁体シート本体の第2面側に配置され、前記第1検出電極に重なるように配置される第2検出電極と、
前記第1検出電極の外面側に配置される第1絶縁体シートと、
前記第1絶縁体シートの外面側に配置され、前記第1検出電極を電磁的にシールドする第1シールド電極と、を備え、
前記第1絶縁体シートの厚みは、前記絶縁体シート本体の厚みと同等以下であり、
前記第1シールド電極は、
前記第1シールド電極の厚み方向から見て、前記第1検出電極に重ねて配置されるとともに、前記第1検出電極の外形状を含む外形状を備え、かつ、
前記第1シールド電極の厚み方向に貫通する複数の第1開口を備える、圧力センサにある。
【0010】
本発明の他の態様は、絶縁体シート本体と、
前記絶縁体シート本体の第1面側に配置され、前記絶縁体シート本体に非接着で配置され、前記絶縁体シート本体とは別体に構成された第1電極ユニットと、
前記絶縁体シート本体の第2面側に配置され、前記絶縁体シート本体に非接着で配置され、前記第1電極ユニットに重なるように配置される第2検出電極と、を備え、
前記第1電極ユニットは、
第1絶縁体シートと、
前記第1絶縁体シートの内面に接着された第1検出電極と、
前記第1絶縁体シートの外面に接着され、前記第1検出電極を電磁的にシールドする第1シールド電極と、を備える、圧力センサにある。
【発明の効果】
(【0011】以降は省略されています)
この特許をJ-PlatPat(特許庁公式サイト)で参照する
関連特許
住友理工株式会社
断熱材
23日前
住友理工株式会社
断熱材
1か月前
住友理工株式会社
ブッシュ
1か月前
住友理工株式会社
摩擦ダンパ
13日前
住友理工株式会社
圧力センサ
2日前
住友理工株式会社
仕切り部材
2日前
住友理工株式会社
シール部材
3日前
住友理工株式会社
防振ゴム部材
2日前
住友理工株式会社
ブロック装置
1か月前
住友理工株式会社
接触検知装置
1か月前
住友理工株式会社
防振ブッシュ
1か月前
住友理工株式会社
被覆金属物品
1か月前
住友理工株式会社
防振ゴム部材
2日前
住友理工株式会社
産業用ホース
2か月前
住友理工株式会社
筒型防振装置
4日前
住友理工株式会社
冷却用熱交換器
1か月前
住友理工株式会社
生体振動センサ
1か月前
住友理工株式会社
冷却用熱交換器
3日前
住友理工株式会社
断熱材の製造方法
1か月前
住友理工株式会社
筒型モータマウント
11日前
住友理工株式会社
カップ付シートラバー
1か月前
住友理工株式会社
口腔用圧力センサシート
1か月前
住友理工株式会社
電子写真機器用帯電ロール
4日前
住友理工株式会社
電子写真機器用帯電ロール
4日前
住友理工株式会社
電子写真機器用現像ロール
1か月前
住友理工株式会社
電子写真機器用導電性ロール
1か月前
住友理工株式会社
電池モジュール用緩衝シート
2日前
住友理工株式会社
ラテックス組成物の評価方法
2日前
住友理工株式会社
モータマウント用の筒型防振装置
1か月前
住友理工株式会社
制振ストッパー及び自動倉庫のラック
1か月前
住友理工株式会社
シート用振動低減装置および乗員状態推定システム
2日前
住友理工株式会社
建造物用ゴム製品の補修工法および建造物用ゴム製品
3日前
住友理工株式会社
押出成形用ゴム組成物、ホース、およびホースの製造方法
2日前
住友理工株式会社
咬合力センサシート
23日前
住友理工株式会社
マトリックスポリマーにフィラーが分散されたポリマー複合材料を解析する方法
1か月前
住友理工株式会社
導電性熱可塑性エラストマー組成物、それを用いた導電性シート、および導電性シートの製造方法
1か月前
続きを見る
他の特許を見る