TOP
|
特許
|
意匠
|
商標
特許ウォッチ
Twitter
他の特許を見る
公開番号
2025149639
公報種別
公開特許公報(A)
公開日
2025-10-08
出願番号
2024050401
出願日
2024-03-26
発明の名称
電子写真機器用帯電ロール
出願人
住友理工株式会社
代理人
個人
主分類
G03G
15/02 20060101AFI20251001BHJP(写真;映画;光波以外の波を使用する類似技術;電子写真;ホログラフイ)
要約
【課題】高い帯電性と高耐久性を実現し、高速印字、長寿命の要望に応えられる電子写真機器用帯電ロールを提供する。
【解決手段】軸体12と、軸体12の外周面上に形成された弾性体層14と、弾性体層14の外周面上に形成された表層16と、を備え、表層16が、下記の(a)および(b)を含有し、表層16における(b)の含有量が、(a)100質量部に対し、0.1質量部以上10質量部以下である、電子写真機器用帯電ロール10とする。
(a)イソシアヌレート、ウレトジオン、カルボジイミドジイソシアネート、ポリウレア、ウレトンイミンのうちのいずれか1種または2種以上からなるバインダー
(b)フッ素系のアニオン性化合物
【選択図】図1
特許請求の範囲
【請求項1】
軸体と、前記軸体の外周面上に形成された弾性体層と、前記弾性体層の外周面上に形成された表層と、を備え、
前記表層が、下記の(a)および(b)を含有し、前記表層における前記(b)の含有量が、前記(a)100質量部に対し、0.1質量部以上10質量部以下である、電子写真機器用帯電ロール。
(a)イソシアヌレート、ウレトジオン、カルボジイミドジイソシアネート、ポリウレア、ウレトンイミンのうちのいずれか1種または2種以上からなるバインダー
(b)フッ素系のアニオン性化合物
続きを表示(約 620 文字)
【請求項2】
前記(b)が、フルオロアルキル基含有カルボン酸塩またはフルオロアルキル基含有スルホン酸塩である、請求項1に記載の電子写真機器用帯電ロール。
【請求項3】
前記表層が、粗さ形成用粒子を含む、請求項1または請求項2に記載の電子写真機器用帯電ロール。
【請求項4】
前記粗さ形成用粒子が、アクリル粒子、ウレタン粒子、またはシリカ粒子である、請求項3に記載の電子写真機器用帯電ロール。
【請求項5】
前記表層が、導電剤としてカーボンブラックまたは導電性金属酸化物を含む、請求項1または請求項2に記載の電子写真機器用帯電ロール。
【請求項6】
前記弾性体層が、イソプレンゴム、ニトリルゴム、ヒドリンゴムのうちのいずれか1種以上を含む、請求項1または請求項2に記載の電子写真機器用帯電ロール。
【請求項7】
前記(b)が、フルオロアルキル基含有カルボン酸塩またはフルオロアルキル基含有スルホン酸塩であり、
前記表層が、粗さ形成用粒子を含み、前記粗さ形成用粒子が、アクリル粒子、ウレタン粒子、またはシリカ粒子であり、
前記表層が、導電剤としてカーボンブラックまたは導電性金属酸化物を含み、
前記弾性体層が、イソプレンゴム、ニトリルゴム、ヒドリンゴムのうちのいずれか1種以上を含む、請求項1に記載の電子写真機器用帯電ロール。
発明の詳細な説明
【技術分野】
【0001】
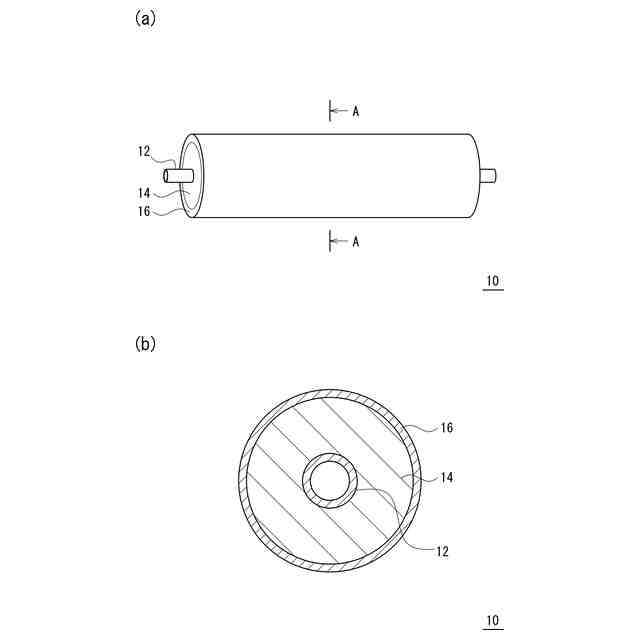
本発明は、電子写真方式を採用する複写機、プリンター、ファクシミリなどの電子写真機器において好適に用いられる電子写真機器用帯電ロールに関するものである。
続きを表示(約 1,600 文字)
【背景技術】
【0002】
電子写真機器の帯電ロールとしては、芯金などの軸体の外周面上にゴム弾性を有する弾性体層を有し、その弾性体層の外周面上に表層を有するものが知られている。帯電ロールでは、例えば荷電特性などから、表層のバインダーとして、ウレタン樹脂を用いることがある。
【先行技術文献】
【特許文献】
【0003】
特開2012-181224号公報
【発明の概要】
【発明が解決しようとする課題】
【0004】
レーザービームプリンタなどの電子写真機器は、メーカの技術進歩やユーザ要望などにより、従来以上に高速印字、長寿命が求められる。帯電ロール表面では、帯電・放電プロセスが繰り返される。高速印字化のために感光体や帯電ロールが高速回転すると、このプロセスサイクルが追いつかず、感光体表面に放電されない場所ができ、黒点画像が発生する。そして、表層のウレタン樹脂は、エーテル系だと、エーテル基の影響で、強度が低く、耐久時にクラックが発生しやすい。また、カルボニル基が少ないため、静電容量が低く、帯電性に不利である。そして、エステル系だと、加水分解しやすく、経時で脆性劣化し、クラックが発生しやすい。さらに、表層のウレタン樹脂は、放電時に発生する熱や紫外線によってアルキル基が劣化しやすい。これにより、耐久時にクラックが発生し、スジ画像の原因となる。
【0005】
本発明が解決しようとする課題は、高い帯電性と高耐久性を実現し、高速印字、長寿命の要望に応えられる電子写真機器用帯電ロールを提供することにある。
【課題を解決するための手段】
【0006】
本発明に係る電子写真機器用帯電ロールは、軸体と、前記軸体の外周面上に形成された弾性体層と、前記弾性体層の外周面上に形成された表層と、を備え、前記表層が、下記の(a)および(b)を含有し、前記表層における前記(b)の含有量が、前記(a)100質量部に対し、0.1質量部以上10質量部以下である。
(a)イソシアヌレート、ウレトジオン、カルボジイミドジイソシアネート、ポリウレア、ウレトンイミンのうちのいずれか1種または2種以上からなるバインダー
(b)フッ素系のアニオン性化合物
【0007】
前記(b)は、フルオロアルキル基含有カルボン酸塩またはフルオロアルキル基含有スルホン酸塩であるとよい。前記表層は、粗さ形成用粒子を含むとよい。前記粗さ形成用粒子は、アクリル粒子、ウレタン粒子、またはシリカ粒子であるとよい。前記表層は、導電剤としてカーボンブラックまたは導電性金属酸化物を含むとよい。前記弾性体層は、イソプレンゴム、ニトリルゴム、ヒドリンゴムのうちのいずれか1種以上を含むとよい。
【0008】
(1)本発明に係る電子写真機器用導電性ロールは、軸体と、前記軸体の外周面上に形成された弾性体層と、前記弾性体層の外周面上に形成された表層と、を備え、前記表層が、下記の(a)および(b)を含有し、前記表層における前記(b)の含有量が、前記(a)100質量部に対し、0.1質量部以上10質量部以下である。
(a)イソシアヌレート、ウレトジオン、カルボジイミドジイソシアネート、ポリウレア、ウレトンイミンのうちのいずれか1種または2種以上からなるバインダー
(b)フッ素系のアニオン性化合物
【0009】
(2)上記(1)において、前記(b)は、フルオロアルキル基含有カルボン酸塩またはフルオロアルキル基含有スルホン酸塩であるとよい。
【0010】
(3)上記(1)または上記(2)において、前記表層は、粗さ形成用粒子を含むとよい。
(【0011】以降は省略されています)
この特許をJ-PlatPat(特許庁公式サイト)で参照する
関連特許
住友理工株式会社
断熱材
1か月前
住友理工株式会社
断熱材
21日前
住友理工株式会社
ブッシュ
1か月前
住友理工株式会社
摩擦ダンパ
11日前
住友理工株式会社
圧力センサ
今日
住友理工株式会社
仕切り部材
今日
住友理工株式会社
シール部材
1日前
住友理工株式会社
動作判別装置
2か月前
住友理工株式会社
産業用ホース
1か月前
住友理工株式会社
ブロック装置
1か月前
住友理工株式会社
接触検知装置
1か月前
住友理工株式会社
防振ブッシュ
1か月前
住友理工株式会社
被覆金属物品
1か月前
住友理工株式会社
防振ゴム部材
今日
住友理工株式会社
防振ゴム部材
今日
住友理工株式会社
筒型防振装置
2日前
住友理工株式会社
冷却用熱交換器
1日前
住友理工株式会社
冷却用熱交換器
1か月前
住友理工株式会社
冷却用熱交換器
3か月前
住友理工株式会社
冷却用熱交換器
3か月前
住友理工株式会社
生体振動センサ
1か月前
住友理工株式会社
動作判別システム
2か月前
住友理工株式会社
断熱材の製造方法
1か月前
住友理工株式会社
筒型モータマウント
9日前
住友理工株式会社
カップ付シートラバー
1か月前
住友理工株式会社
口腔用圧力センサシート
1か月前
住友理工株式会社
電子写真機器用帯電ロール
2日前
住友理工株式会社
電子写真機器用現像ロール
1か月前
住友理工株式会社
電子写真機器用帯電ロール
2日前
住友理工株式会社
電子写真機器用導電性ロール
1か月前
住友理工株式会社
電池モジュール用緩衝シート
今日
住友理工株式会社
ラテックス組成物の評価方法
今日
住友理工株式会社
モータマウント用の筒型防振装置
2か月前
住友理工株式会社
モータマウント用の筒型防振装置
1か月前
住友理工株式会社
制振ストッパー及び自動倉庫のラック
1か月前
住友理工株式会社
冷却用熱交換器及び冷却用熱交換器の製造方法
2か月前
続きを見る
他の特許を見る