TOP
|
特許
|
意匠
|
商標
特許ウォッチ
Twitter
他の特許を見る
公開番号
2025148787
公報種別
公開特許公報(A)
公開日
2025-10-08
出願番号
2024049085
出願日
2024-03-26
発明の名称
筒型防振装置
出願人
住友理工株式会社
,
日産自動車株式会社
代理人
弁理士法人笠井中根国際特許事務所
,
個人
,
個人
主分類
F16F
1/38 20060101AFI20251001BHJP(機械要素または単位;機械または装置の効果的機能を生じ維持するための一般的手段)
要約
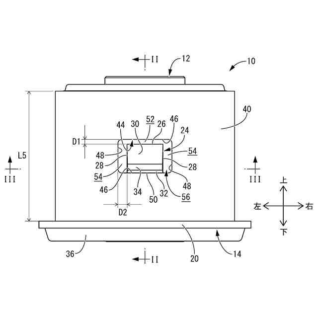
【課題】樹脂アウタ部材のカラー部材に対する抜け抗力を安定して得ることができる、新規な構造の筒型防振装置を提供する。
【解決手段】インナ軸部材12と筒状の樹脂アウタ部材14とが本体ゴム弾性体16で連結された筒型防振装置10において、樹脂アウタ部材14には、外周面に突出する抜止凸部24が設けられており、樹脂アウタ部材14が嵌め入れられる筒状のカラー部材40には、抜止凸部24が挿入される窓部44が形成されており、抜止凸部24の周囲には、樹脂アウタ部材14のカラー部材40への嵌入方向の先端側と周方向の両側とにおいて、窓部44との間に隙間56が設けられており、抜止凸部24における樹脂アウタ部材14のカラー部材40への嵌入方向の基端側の端面が外周へ向けて嵌入方向の先端側へ傾斜する係止面32とされており、カラー部材40が係止面32に対して軸方向で係止される。
【選択図】図1
特許請求の範囲
【請求項1】
インナ軸部材が筒状の樹脂アウタ部材に挿通されて、それらインナ軸部材と樹脂アウタ部材とが本体ゴム弾性体で連結された筒型防振装置において、
前記樹脂アウタ部材には、外周面に突出する抜止凸部が設けられており、
該樹脂アウタ部材が嵌め入れられる筒状のカラー部材には、該抜止凸部が挿入される窓部が形成されており、
該抜止凸部の周囲には、該樹脂アウタ部材の該カラー部材への嵌入方向の先端側と、周方向の両側とにおいて、該窓部との間に隙間が設けられており、
該抜止凸部における該樹脂アウタ部材の該カラー部材への嵌入方向の基端側の端面が外周へ向けて嵌入方向の先端側へ傾斜する係止面とされており、該カラー部材が該係止面に対して軸方向で係止される筒型防振装置。
続きを表示(約 480 文字)
【請求項2】
前記抜止凸部における前記樹脂アウタ部材の前記カラー部材への嵌入方向の先端側の端面が、外周へ向けて嵌入方向の基端側へ傾斜する案内面とされており、
嵌入方向に対する該案内面の傾斜角度が前記係止面の傾斜角度よりも小さくされている請求項1に記載の筒型防振装置。
【請求項3】
前記抜止凸部は、径方向の両側にそれぞれ設けられている請求項1又は2に記載の筒型防振装置。
【請求項4】
前記隙間は、前記抜止凸部と前記窓部との周方向間で軸方向間よりも大きくされている請求項1又は2に記載の筒型防振装置。
【請求項5】
前記抜止凸部の前記係止面と該係止面に係止される前記カラー部材における前記窓部の開口周縁部とが、何れも軸方向と直交する方向に延びている請求項1又は2に記載の筒型防振装置。
【請求項6】
前記抜止凸部と前記窓部は、該抜止凸部の突出方向視において、軸方向に直交する方向へ延びる一対の第一の対辺部と軸方向へ延びる一対の第二の対辺部とを備えている請求項5に記載の筒型防振装置。
発明の詳細な説明
【技術分野】
【0001】
本発明は、例えば自動車のサブフレームマウント等として用いられる筒型防振装置に関するものである。
続きを表示(約 1,400 文字)
【背景技術】
【0002】
従来から、自動車のサブフレームマウント等に用いられる筒型防振装置が知られている。筒型防振装置は、例えば特開2010-078101号公報(特許文献1)に開示されているように、インナ軸部材とアウタ筒部材とが本体ゴム弾性体で連結された構造を有している。
【先行技術文献】
【特許文献】
【0003】
特開2010-078101号公報
【発明の概要】
【発明が解決しようとする課題】
【0004】
ところで、アウタ筒部材は、従来では鉄やアルミニウム合金等の金属製とされていたが、特許文献1では、筒型防振装置の軽量化を目的として、アウタ筒部材を合成樹脂製とすることが提案されている。
【0005】
しかしながら、合成樹脂製のアウタ筒部材(樹脂アウタ部材)は、例えばサブフレーム等のカラー部材に嵌め入れられて使用される場合に、内周へ向けた嵌合力の持続的な作用によって形状や寸法の経時的な変化(へたり)が発生し易く、へたりによって抜けに対する抵抗力が低下して、樹脂アウタ部材がカラー部材から抜けてしまうおそれがある。
【0006】
特許文献1では、樹脂アウタ部材の外周面に突出する円形の抜止凸部を形成して、カラー部材において対応する円形の窓部に係止させることで、抜け抗力を確保することも提案されている。この特許文献1では、円形の窓部の開口周縁部のエッジが先細とされた円形の抜止凸部の周壁面に食い込んだ状態で、抜止凸部が窓部の開口周縁部に係止されている。
【0007】
しかしながら、特許文献1の構造では、抜止凸部と窓部の各中心点同士を相対的に精度よく位置決めする必要があり、寸法誤差等で抜止凸部と窓部の相対位置がずれると、円形の周方向で点当たり状態で乗り上げて他の部分では隙間が発生することとなってしまい、目的とする抜止作用が有効に発揮されないおそれがある。
【0008】
特に、抜止凸部が筒型防振装置の外周端部に設けられていることから、筒型防振装置とカラー部材との間に中心角の僅かなずれが生じるだけでも、抜止凸部と窓部との間に周方向の大きなずれが生じ易く、抜止凸部と窓部との周方向でのずれが問題になり易いという問題があった。加えて、相互に係止される抜止凸部と窓部が周方向で離隔して一対設けられていることから、各一対の抜止凸部と窓部において何れかの寸法誤差が両方に及ぶために、一対の抜止凸部と窓部において各中心点を精度良く一致させて係止させることが一層難しかった。
【0009】
本発明の解決課題は、樹脂アウタ部材のカラー部材に対する抜け抗力を安定して得ることができる、新規な構造の筒型防振装置を提供することにある。
【課題を解決するための手段】
【0010】
以下、本発明を把握するための好ましい態様について記載するが、以下に記載の各態様は、例示的に記載したものであって、適宜に互いに組み合わせて採用され得るだけでなく、各態様に記載の複数の構成要素についても、可能な限り独立して認識及び採用することができ、適宜に別の態様に記載の何れかの構成要素と組み合わせて採用することもできる。それによって、本発明では、以下に記載の態様に限定されることなく、種々の別態様が実現され得る。
(【0011】以降は省略されています)
この特許をJ-PlatPat(特許庁公式サイト)で参照する
関連特許
住友理工株式会社
断熱材
25日前
住友理工株式会社
断熱材
1か月前
住友理工株式会社
ブッシュ
1か月前
住友理工株式会社
摩擦ダンパ
15日前
住友理工株式会社
圧力センサ
4日前
住友理工株式会社
仕切り部材
4日前
住友理工株式会社
シール部材
5日前
住友理工株式会社
防振ゴム部材
4日前
住友理工株式会社
ブロック装置
1か月前
住友理工株式会社
接触検知装置
1か月前
住友理工株式会社
防振ブッシュ
1か月前
住友理工株式会社
被覆金属物品
1か月前
住友理工株式会社
防振ゴム部材
4日前
住友理工株式会社
産業用ホース
2か月前
住友理工株式会社
筒型防振装置
6日前
住友理工株式会社
冷却用熱交換器
1か月前
住友理工株式会社
生体振動センサ
1か月前
住友理工株式会社
冷却用熱交換器
5日前
住友理工株式会社
断熱材の製造方法
1か月前
住友理工株式会社
筒型モータマウント
13日前
住友理工株式会社
カップ付シートラバー
1か月前
住友理工株式会社
口腔用圧力センサシート
1か月前
住友理工株式会社
電子写真機器用帯電ロール
6日前
住友理工株式会社
電子写真機器用帯電ロール
6日前
住友理工株式会社
電子写真機器用現像ロール
1か月前
住友理工株式会社
電子写真機器用導電性ロール
1か月前
住友理工株式会社
電池モジュール用緩衝シート
4日前
住友理工株式会社
ラテックス組成物の評価方法
4日前
住友理工株式会社
モータマウント用の筒型防振装置
1か月前
住友理工株式会社
制振ストッパー及び自動倉庫のラック
1か月前
住友理工株式会社
シート用振動低減装置および乗員状態推定システム
4日前
住友理工株式会社
建造物用ゴム製品の補修工法および建造物用ゴム製品
5日前
住友理工株式会社
押出成形用ゴム組成物、ホース、およびホースの製造方法
4日前
住友理工株式会社
咬合力センサシート
25日前
住友理工株式会社
マトリックスポリマーにフィラーが分散されたポリマー複合材料を解析する方法
1か月前
住友理工株式会社
導電性熱可塑性エラストマー組成物、それを用いた導電性シート、および導電性シートの製造方法
1か月前
続きを見る
他の特許を見る