TOP
|
特許
|
意匠
|
商標
特許ウォッチ
Twitter
他の特許を見る
10個以上の画像は省略されています。
公開番号
2025137656
公報種別
公開特許公報(A)
公開日
2025-09-19
出願番号
2025120256,2021172909
出願日
2025-07-17,2021-10-22
発明の名称
咬合力センサシート
出願人
住友理工株式会社
代理人
弁理士法人笠井中根国際特許事務所
,
個人
,
個人
主分類
G01L
5/00 20060101AFI20250911BHJP(測定;試験)
要約
【課題】特定の条件下では検出精度が低下してしまうといった従来構造の咬合力センサシートが内在していた問題を解決する。
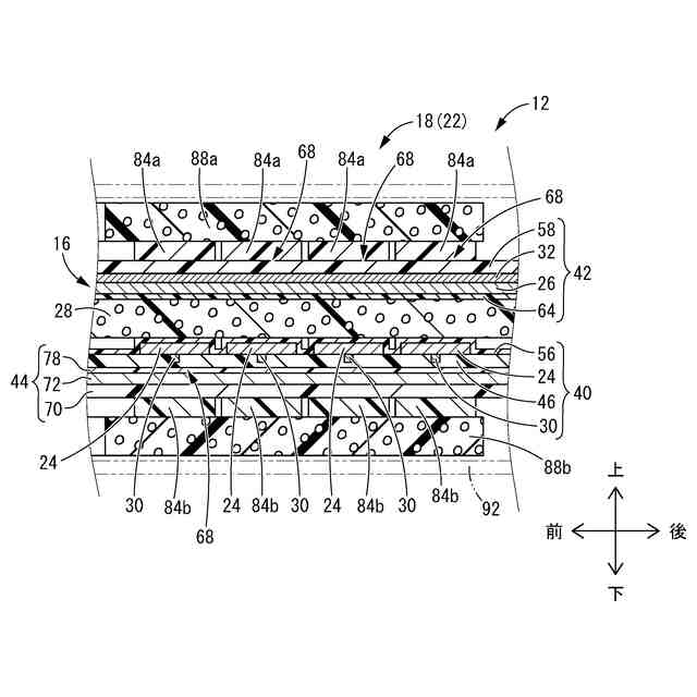
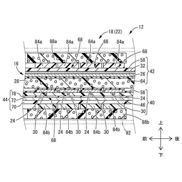
【解決手段】歯の噛み合わせによる咬合力が外部から及ぼされることに伴って弾性的に形状変化する検出部68を複数備えており、各検出部68には第一電極24と第二電極26が対向配置されて圧力が電気的に検出されるようになっている咬合力センサシート12であって、複数の検出部68の少なくとも一つにおいて、第一電極24及び第二電極26の少なくとも一方には、第一電極24と第二電極26が対向する内面側と反対の外面側に位置して、検出部68の局所的変形を抑える補強材84が配されている。
【選択図】図2A
特許請求の範囲
【請求項1】
歯の噛み合わせによる咬合力が外部から及ぼされることに伴って弾性的に形状変化する検出部を複数備えており、各該検出部には第一電極と第二電極が対向配置されて圧力が電気的に検出されるようになっている咬合力センサシートであって、
前記複数の検出部の少なくとも一つにおいて、前記第一電極及び前記第二電極の少なくとも一方には、該第一電極と該第二電極が対向する内面側と反対の外面側に位置して、該検出部の局所的変形を抑える補強材が配されている咬合力センサシート。
続きを表示(約 1,200 文字)
【請求項2】
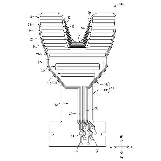
前記第一電極と前記第二電極が互いに異なる方向に延びて各複数本形成されており、該第一電極と該第二電極における複数の交差状の対向箇所においてそれぞれ前記検出部が構成されている請求項1に記載の咬合力センサシート。
【請求項3】
前記検出部には、前記第一電極と前記第二電極との対向間において弾性変形可能なセンサ弾性層が配されていると共に、該センサ弾性層が誘電体層とされており、外部から該第一電極と該第二電極との対向方向に及ぼされる圧力が該第一電極と該第二電極の対向距離の変化による静電容量の変化に基づいて電気的に検出されるようになっている請求項1又は2に記載の咬合力センサシート。
【請求項4】
前記補強材が、前記第一電極及び前記第二電極の各外面側にそれぞれ配されている請求項1~3の何れか一項に記載の咬合力センサシート。
【請求項5】
前記第一電極と前記第二電極のうちの一方の電極の外面側に配された前記補強材が、他方の電極の外面側に配された前記補強材に対して、シート厚さ方向において全体に亘って重なるように配されている請求項4に記載の咬合力センサシート。
【請求項6】
前記補強材が、隣り合う別の前記検出部にまで至らない大きさであり、且つ、隣り合う別の該検出部に配された前記補強材と重ならないで配されている請求項1~5の何れか一項に記載の咬合力センサシート。
【請求項7】
前記検出部の周囲には前記第一電極と前記第二電極とが対向配置されていない非検出部が設けられており、前記補強材が該検出部の全体を覆い且つ該非検出部まではり出して配されている請求項1~6の何れか一項に記載の咬合力センサシート。
【請求項8】
前記補強材は、前記第一電極が積層形成される第一基体シート及び前記第二電極が積層形成される第二基体シートよりも変形強度が大きい請求項1~7の何れか一項に記載の咬合力センサシート。
【請求項9】
前記複数の検出部のうちの少なくとも一つにおいて、前記第一電極と前記第二電極の少なくとも一方の外面側で前記補強材よりも外側に位置して、荷重の作用と除去に際して弾性的に形状復元する形状復元層が設けられている請求項1~8の何れか一項に記載の咬合力センサシート。
【請求項10】
前記補強材は前記複数の検出部の合計面積よりも大きな合計面積を有しており、
前記形状復元層は該補強材の合計面積よりも大きな合計面積を有しており、
それによって、該補強材が何れの検出部も全体に亘って覆うように配されていると共に、該形状復元層が何れの該補強材も全体に亘って覆うように設けられている請求項9に記載の咬合力センサシート。
(【請求項11】以降は省略されています)
発明の詳細な説明
【技術分野】
【0001】
本発明は、全体としてシート状とされて外部から面方向に及ぼされる圧力を電気的に検出する検出部を複数箇所に備えている面圧センサシートに関する。
続きを表示(約 1,700 文字)
【背景技術】
【0002】
外部から及ぼされる圧力を複数箇所で検出する面圧センサシートは、例えば特開2018-112405号公報(特許文献1)や特開2010-043881号公報(特許文献2),特開2012-181084号公報(特許文献3),特開2015-136620号公報(特許文献4)などにおいて、従来から知られている。
【0003】
このような面圧センサシートは、複数の検出部をシートの面方向の異なる箇所に備えており、それらの検出部による電気的な圧力検出信号に基づいて、各検出部毎に圧力検出値を出力する他、圧力の分布状態を出力したり、圧力の変化を出力したりなど、用途に応じて各種センサ装置として用いられ得る。
【0004】
ところで、かかる面圧センサシートにおける検出部は、一般に第一電極と第二電極が対向配置されており、これら第一電極と第二電極との対向面間における電気的な状態について、外部から及ぼされる圧力に起因する変化を検出するようになっている。具体的には、例えば導電層や誘電体層又は抵抗層などからなる中間層が第一電極と第二電極との対向面間に配されており、圧力作用に伴って当該中間層が変形等することに伴う導電率や静電容量,電気抵抗などの変化に基づいて、検出部に作用する圧力を検出するようになっている。
【0005】
また、かかる面圧センサシートは、圧力の検出面の各種形状に対応したり、部分的な圧力作用にも対応したりすることができるように、一般にセンサシート自体が全体として柔軟に変形可能とされている。特に検出部は、中間層自体が変形することで圧力検出するようになっていることから、一般に第一電極と第二電極を含む検出部の全体が変形可能とされている。また、検出部が弾性変形によって復元可能とされることで、例えば面圧センサシートを再利用や再検出可能にすることもできる。
【先行技術文献】
【特許文献】
【0006】
特開2018-112405号公報
特開2010-043881号公報
特開2012-181084号公報
特開2015-136620号公報
【発明の概要】
【発明が解決しようとする課題】
【0007】
ところが、上述の如き従来構造の面圧センサシートについて、本発明者が検討を重ねたところ、特定の条件下では検出精度が低下してしまうという、新規な問題を内在することが判った。
【0008】
そして、かかる新規な問題は、従来の面圧センサシートにおける構造に起因すると考えられるとの新たな知見を得た。即ち、従来の面圧センサシートは、各検出部において第一電極及び第二電極を含む全体が変形可能とされていることから、検出部に対して局所的に大きな荷重が入力された場合に、当該検出部において第一電極と第二電極が局所的に大きく接近するような変形が惹起される。その結果、中間層が局所的に底付きをしたり、局所的に変形量が大きくなることで、検出部全体としての弾性的な変形特性が異常となるために、検出部による荷重の検出精度に悪影響が及ぼされると推定されるのである。
【0009】
ここにおいて、本発明は、本発明者が新たに得たかくの如き知見に基づいて、従来構造の面圧センサシートが内在していた前述の如き新規な問題を解決するために為されたものである。
【課題を解決するための手段】
【0010】
以下、本発明を把握するための好ましい態様について記載するが、以下に記載の各態様は、例示的に記載したものであって、適宜に互いに組み合わせて採用され得るだけでなく、各態様に記載の複数の構成要素についても、可能な限り独立して認識及び採用することができ、適宜に別の態様に記載の何れかの構成要素と組み合わせて採用することもできる。それによって、本発明では、以下に記載の態様に限定されることなく、種々の別態様が実現され得る。
(【0011】以降は省略されています)
この特許をJ-PlatPat(特許庁公式サイト)で参照する
関連特許
住友理工株式会社
カバー
1か月前
住友理工株式会社
冷却用熱交換器
11日前
住友理工株式会社
カップ付シートラバー
10日前
住友理工株式会社
電動コンプレッサの支持構造
1か月前
住友理工株式会社
バイポーラプレートおよびその製造方法
3日前
住友理工株式会社
発泡ウレタン樹脂組成物、ポリウレタンフォームおよびその製造方法
10日前
個人
視触覚センサ
3日前
個人
採尿及び採便具
1か月前
日本精機株式会社
検出装置
1か月前
個人
計量機能付き容器
28日前
個人
高精度同時多点測定装置
1か月前
個人
アクセサリー型テスター
1か月前
株式会社カクマル
境界杭
18日前
甲神電機株式会社
電流検出装置
1か月前
株式会社ミツトヨ
測定器
1か月前
日本精機株式会社
発光表示装置
11日前
ユニパルス株式会社
トルク変換器
3日前
ユニパルス株式会社
トルク変換器
3日前
株式会社トプコン
測量装置
10日前
ユニパルス株式会社
トルク変換器
3日前
アズビル株式会社
電磁流量計
1か月前
大成建設株式会社
風洞実験装置
28日前
長崎県
形状計測方法
1か月前
ローム株式会社
半導体装置
1か月前
ローム株式会社
半導体装置
1か月前
大和製衡株式会社
組合せ計量装置
1か月前
大和製衡株式会社
組合せ計量装置
1か月前
愛知電機株式会社
軸部材の外観検査装置
1か月前
愛知時計電機株式会社
ガスメータ
1か月前
双庸電子株式会社
誤配線検査装置
1か月前
日本特殊陶業株式会社
ガスセンサ
3日前
日本特殊陶業株式会社
ガスセンサ
26日前
日本特殊陶業株式会社
ガスセンサ
4日前
個人
計量具及び計量機能付き容器
28日前
個人
システム、装置及び実験方法
1か月前
日本信号株式会社
距離画像センサ
1か月前
続きを見る
他の特許を見る