TOP
|
特許
|
意匠
|
商標
特許ウォッチ
Twitter
他の特許を見る
10個以上の画像は省略されています。
公開番号
2025152325
公報種別
公開特許公報(A)
公開日
2025-10-09
出願番号
2024054160
出願日
2024-03-28
発明の名称
建造物用ゴム製品の補修工法および建造物用ゴム製品
出願人
住友理工株式会社
代理人
個人
,
個人
,
個人
主分類
E04G
23/02 20060101AFI20251002BHJP(建築物)
要約
【課題】 亀裂の進行を抑止して、建造物用ゴム製品の製品寿命を長くすることができる建造物用ゴム製品の補修工法を提供する。補修効果が高く耐久性に優れた建造物用ゴム製品を提供する。
【解決手段】 建造物用ゴム製品の補修工法は、建造物用ゴム製品1の表面に発生した亀裂17を含む領域を切削して凹部20を形成する切削工程と、凹部20に充填材21を充填する充填工程と、凹部20の開口部を被覆するようにコーティング材を塗布して保護膜22を形成するコーティング工程と、を有し、凹部20の開口部の鉛直方向の長さは、凹部20の深さ以上である。建造物用ゴム製品1は、補修部2を有し、補修部2は、補修前の該建造物用ゴム製品1の表面を切削することにより形成された凹部20と、凹部20に充填された充填材21と、凹部20の開口部を被覆する保護膜22と、を有し、凹部20の開口部の鉛直方向の長さは、凹部20の深さ以上である。
【選択図】 図2
特許請求の範囲
【請求項1】
建造物用ゴム製品の表面に発生した亀裂を含む領域を切削して凹部を形成する切削工程と、
該凹部に充填材を充填する充填工程と、
該凹部の開口部を被覆するようにコーティング材を塗布して保護膜を形成するコーティング工程と、
を有し、
該凹部の該開口部の鉛直方向の長さは、該凹部の深さ以上であることを特徴とする建造物用ゴム製品の補修工法。
続きを表示(約 760 文字)
【請求項2】
前記切削工程において、前記凹部は、前記開口部から深さ方向に向かって内部空間の鉛直方向の長さが小さくなるように形成される請求項1に記載の建造物用ゴム製品の補修工法。
【請求項3】
前記凹部は、曲面状を呈する請求項1に記載の建造物用ゴム製品の補修工法。
【請求項4】
前記亀裂の深さは、10mm未満である請求項1に記載の建造物用ゴム製品の補修工法。
【請求項5】
前記充填材は、常温硬化型ポリウレタン樹脂および常温硬化型ポリウレア樹脂から選ばれる一種以上を有する請求項1に記載の建造物用ゴム製品の補修工法。
【請求項6】
前記コーティング材は、ポリウレタン樹脂を有する請求項1に記載の建造物用ゴム製品の補修工法。
【請求項7】
前記コーティング材は、種類が異なる第一コーティング材と第二コーティング材とを有し、前記保護膜は、厚さ方向に積層され、該第一コーティング材から形成される第一層と、該第二コーティング材から形成される第二層と、を有する請求項1に記載の建造物用ゴム製品の補修工法。
【請求項8】
前記第一層は前記凹部側に配置され、前記第一コーティング材はポリウレタン樹脂を有し、前記第二層は該第一層の外側に配置され、前記第二コーティング材はシリコーン樹脂を有する請求項7に記載の建造物用ゴム製品の補修工法。
【請求項9】
前記保護膜は、前記凹部を形成した前記表面の全体に形成される請求項1に記載の建造物用ゴム製品の補修工法。
【請求項10】
前記建造物用ゴム製品は、ゴム支承体である請求項1に記載の建造物用ゴム製品の補修工法。
(【請求項11】以降は省略されています)
発明の詳細な説明
【技術分野】
【0001】
本開示は、建築物、橋梁、高架道路などの建造物に配置されるゴム製品の補修工法に関する。
続きを表示(約 2,600 文字)
【背景技術】
【0002】
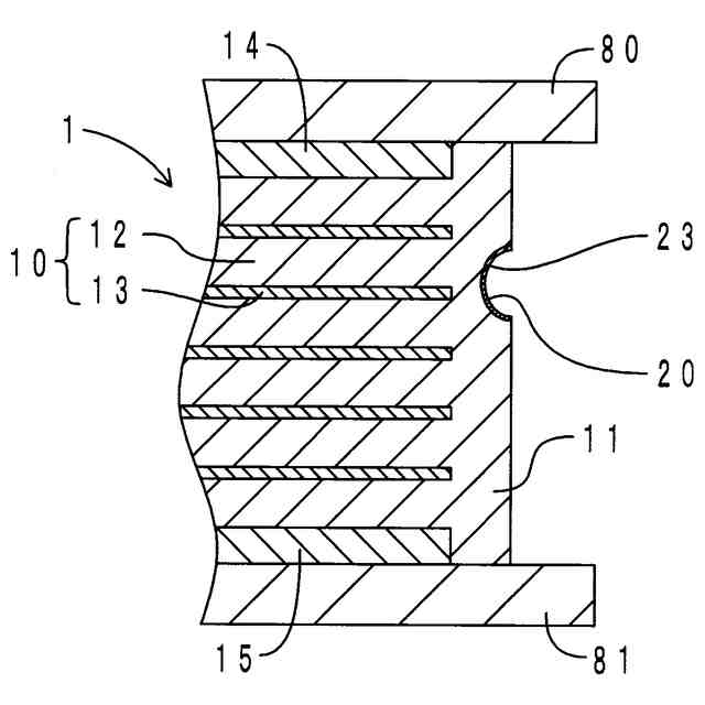
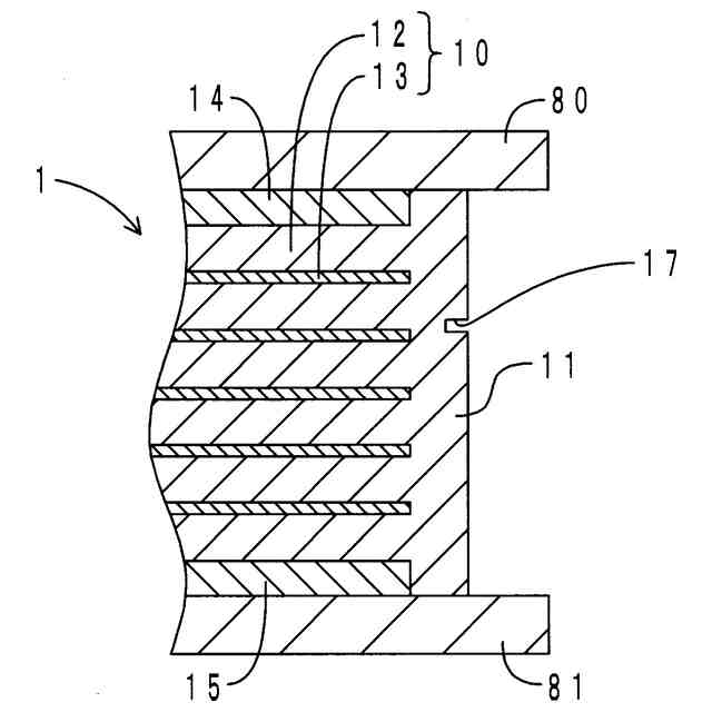
建築物、橋梁、高架道路などの建造物においては、免震などを目的としてゴム製品が配置される。当該ゴム製品としては、上部構造と下部構造との間に配置されるゴム支承体が挙げられる。ゴム支承体は、上部構造を支持し、せん断変形に追従して水平力を分散、減衰させる機能を有する。ゴム支承体の一例として、ゴム層と、金属板などの剛性を有する硬質板と、が交互に積層され一体化された積層体が知られている。積層体の周囲には、ゴム層が外部に露出しないよう、被覆ゴム層が配置される場合もある。ゴム層(以下、特に明記しない場合は被覆ゴム層を含む)は、外部に露出されると、水、酸素、オゾン、光などに晒されて経年劣化する。なかでも、オゾンなどによる亀裂の発生は、ゴム支承体の製品寿命に関わるため大きな問題である。
【0003】
ゴム層に亀裂が発生した場合、ゴム支承体の全体を取り替えることは、施工時間や費用の面で実用的ではない。このため、亀裂を補修してゴム支承体を長寿命化する手段が望まれる。例えば、特許文献1には、ゴム支承体の劣化した部分を切削し、その部分に耐候性の良いゴム系保護材を塗布して、電磁誘導加熱装置によりゴム系保護材を加熱して加硫する補修工法が記載されている。特許文献2には、劣化したゴム支承体の表面に、補修材を塗布し乾燥させて保護被膜を形成する補修工法が記載されている。
【先行技術文献】
【特許文献】
【0004】
特開2009-101616号公報
特開2013-244606号公報
【発明の概要】
【発明が解決しようとする課題】
【0005】
しかしながら、従来の工法においては補修効果が十分ではなく、補修後においてもオゾンなどによる亀裂の進行を止めることは難しい。原因としては、次の二点が考えられる。第一に、ゴム支承体と補修材との密着性不足が挙げられる。第二に、寒暖差、水、酸素、オゾン、光などの劣化因子に対する補修材の耐性不足が挙げられる。第一の原因については、ゴム支承体には、上部構造からの圧縮力に加えて、せん断変形が繰り返し作用する。このため、補修材にも、せん断変形に対する追従性、耐久性が必要になる。例えば、特許文献2に記載されている補修工法のように、劣化したゴム支承体の表面に補修材を塗布しただけでは、せん断変形を繰り返すうちに補修材が剥離するおそれがある。また、本発明者の検討によると、補修時には補修材が亀裂に充填されたとしても、せん断変形により亀裂が開閉を繰り返し、これにより補修材が押し出されて剥離するおそれがあることが明らかになった。この点、特許文献1に記載されている補修工法においては、ゴム支承体の劣化した部分を切削してからゴム系保護材を塗布しているが、特許文献1には、せん断変形時の切削部の挙動についての検討はなく、切削部の大きさ、形状などについての知見はない。また、当該補修工法によると、ゴム系保護材を電磁誘導加熱装置を用いて加熱する必要があるため、施工作業が煩雑である。
【0006】
本開示は、このような実状に鑑みてなされたものであり、亀裂の進行を抑止して、建造物用ゴム製品の製品寿命を長くすることができる建造物用ゴム製品の補修工法を提供することを課題とする。また、補修効果が高く耐久性に優れた建造物用ゴム製品を提供することを課題とする。
【課題を解決するための手段】
【0007】
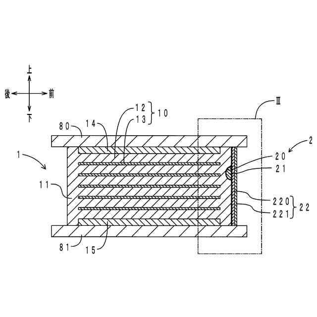
(1)上記課題を解決するため、本開示の建造物用ゴム製品の補修工法は、建造物用ゴム製品の表面に発生した亀裂を含む領域を切削して凹部を形成する切削工程と、該凹部に充填材を充填する充填工程と、該凹部の開口部を被覆するようにコーティング材を塗布して保護膜を形成するコーティング工程と、を有し、該凹部の該開口部の鉛直方向の長さは、該凹部の深さ以上であることを特徴とする。
【0008】
本開示の建造物用ゴム製品の補修工法(以下、単に「本開示の補修工法」と称する場合がある)においては、まず、亀裂を含む領域を切削して凹部を形成し、次に、形成した凹部に充填材を充填し、さらに、充填材が充填された凹部の開口部を被覆するようにコーティング材を塗布して保護膜を形成する。亀裂などの劣化部分を除去し、補修材として、充填材およびコーティング材の少なくとも二種類を用いることにより、補修効果を向上させ、その持続性を高めることができる。例えば、充填材として、ゴム層との密着性に優れたり、柔軟性を有し変形に対する追従性に優れたりする材料を選択すると、ゴム層に対する充填材の密着性、追従性が向上し、せん断変形が繰り返し作用しても充填材が剥離しにくくなる。また、コーティング材として、耐オゾン性に優れるなど、劣化因子に対する耐性が高い材料を選択すると、保護膜の耐久性が高くなり、亀裂などの発生を抑制することができる。結果、建造物用ゴム製品の高寿命化を図ることができる。
【0009】
また、本開示の補修工法においては、亀裂を含む領域を切削して形成される凹部の大きさを規定している。本発明者は、後述するFEM解析などによる検討の結果、切削により亀裂を除去する際、形成される凹部の開口部の鉛直方向の長さ(以下、「凹部の幅」と称する場合がある)を切削深さ(凹部の深さ)以上にすると、せん断変形時に凹部における歪みが小さくなり、引張り力が作用した場合には凹部の開き具合を小さくすることができ、圧縮力が作用した場合には凹部の閉じ具合を小さくすることができる、という知見を得た。このような知見に基づいてなされた本開示の補修工法によると、せん断変形が繰り返されても、充填材が凹部から押し出されるのを抑制することができ、充填材による補修効果を長期間維持することができる。
【0010】
(2)上記構成の前記切削工程において、前記凹部は、前記開口部から深さ方向に向かって内部空間の鉛直方向の長さが小さくなるように形成される構成としてもよい。本構成によると、充填材を凹部全体に充填しやすい。
(【0011】以降は省略されています)
この特許をJ-PlatPat(特許庁公式サイト)で参照する
関連特許
住友理工株式会社
断熱材
1か月前
住友理工株式会社
断熱材
22日前
住友理工株式会社
ブッシュ
1か月前
住友理工株式会社
摩擦ダンパ
12日前
住友理工株式会社
圧力センサ
1日前
住友理工株式会社
仕切り部材
1日前
住友理工株式会社
シール部材
2日前
住友理工株式会社
筒型防振装置
3日前
住友理工株式会社
防振ブッシュ
1か月前
住友理工株式会社
被覆金属物品
1か月前
住友理工株式会社
防振ゴム部材
1日前
住友理工株式会社
防振ゴム部材
1日前
住友理工株式会社
接触検知装置
1か月前
住友理工株式会社
生体振動センサ
1か月前
住友理工株式会社
冷却用熱交換器
1か月前
住友理工株式会社
冷却用熱交換器
2日前
住友理工株式会社
断熱材の製造方法
1か月前
住友理工株式会社
筒型モータマウント
10日前
住友理工株式会社
口腔用圧力センサシート
1か月前
住友理工株式会社
電子写真機器用帯電ロール
3日前
住友理工株式会社
電子写真機器用現像ロール
1か月前
住友理工株式会社
電子写真機器用帯電ロール
3日前
住友理工株式会社
電池モジュール用緩衝シート
1日前
住友理工株式会社
ラテックス組成物の評価方法
1日前
住友理工株式会社
電子写真機器用導電性ロール
1か月前
住友理工株式会社
モータマウント用の筒型防振装置
1か月前
住友理工株式会社
制振ストッパー及び自動倉庫のラック
1か月前
住友理工株式会社
シート用振動低減装置および乗員状態推定システム
1日前
住友理工株式会社
建造物用ゴム製品の補修工法および建造物用ゴム製品
2日前
住友理工株式会社
押出成形用ゴム組成物、ホース、およびホースの製造方法
1日前
住友理工株式会社
咬合力センサシート
22日前
住友理工株式会社
マトリックスポリマーにフィラーが分散されたポリマー複合材料を解析する方法
1か月前
住友理工株式会社
導電性熱可塑性エラストマー組成物、それを用いた導電性シート、および導電性シートの製造方法
1か月前
個人
接合構造
5日前
個人
屋台
22日前
個人
タッチミー
4日前
続きを見る
他の特許を見る