TOP
|
特許
|
意匠
|
商標
特許ウォッチ
Twitter
他の特許を見る
10個以上の画像は省略されています。
公開番号
2025155669
公報種別
公開特許公報(A)
公開日
2025-10-14
出願番号
2024191998
出願日
2024-10-31
発明の名称
冷却用熱交換器
出願人
住友理工株式会社
代理人
弁理士法人笠井中根国際特許事務所
,
個人
,
個人
主分類
H01M
10/6556 20140101AFI20251002BHJP(基本的電気素子)
要約
【課題】簡単な構造で両面に冷却面を備えた両面冷却構造を実現しつつ、優れた冷却性能を安定して得ることができる、新規な構造の冷却用熱交換器を提供する。
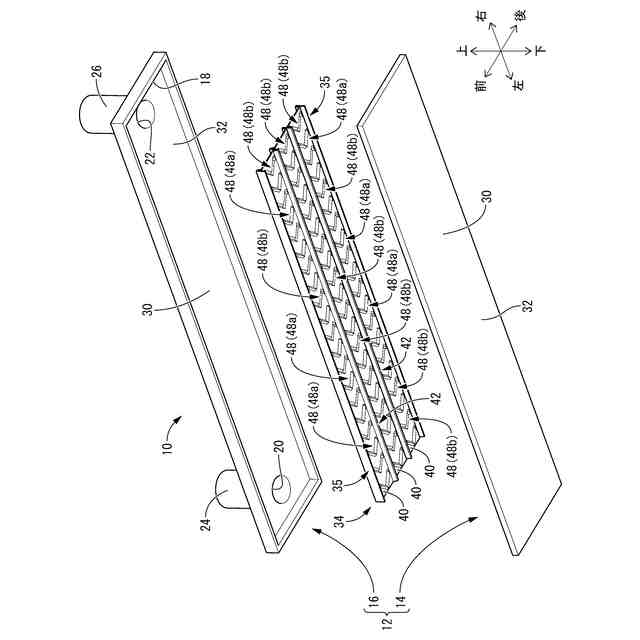
【解決手段】冷却用の熱媒体が流れる冷却流路28が内部に形成されて、表面に設けられた冷却面32に重ね合わされる冷却対象62を冷却する冷却用熱交換器10であって、内部に冷却流路28を備えた中空の外壁部材12が設けられて、外壁部材12における相互対向部分には表面に冷却面32を備えた一対の冷却壁部30,30が設けられており、外壁部材12の内部領域28には、内部領域28を一対の冷却壁部30,30の対向方向で二分するプレート状のインナーフィン34が配設されており、インナーフィン34には、各一方の面に突出する第一突起48a及び第二突起48bが一体的に形成されている。
【選択図】図1
特許請求の範囲
【請求項1】
冷却用の熱媒体が流れる冷却流路が内部に形成されて、表面に設けられた冷却面に重ね合わされる冷却対象を冷却する冷却用熱交換器であって、
内部に前記冷却流路を備えた中空の外壁部材が設けられて、該外壁部材における相互対向部分には表面に前記冷却面を備えた一対の冷却壁部が設けられており、
該外壁部材の内部領域には、該内部領域を該一対の冷却壁部の対向方向で二分するプレート状のインナーフィンが配設されており、
該インナーフィンには、各一方の面に突出する第一突起及び第二突起が一体的に形成されている冷却用熱交換器。
続きを表示(約 1,100 文字)
【請求項2】
前記冷却流路は、前記インナーフィンで流路幅方向に区切られて隣り合って並列的に延びる複数の流路部で構成された並列流路部を備えており、
該並列流路部を構成する該複数の流路部における前記熱媒体の流動方向が同じとされている請求項1に記載の冷却用熱交換器。
【請求項3】
前記外壁部材は、前記一方の冷却壁部を構成する第一部材と、前記他方の冷却壁部を構成する第二部材とを、それら一対の冷却壁部の対向方向で相互に重ね合わせた構造とされており、
前記インナーフィンがそれら第一部材と第二部材との対向間に配設されている請求項1又は2に記載の冷却用熱交換器。
【請求項4】
前記インナーフィンは、前記一対の冷却壁部の対向方向でジグザグ状や波状に折り返す断面を有しており、
前記第一突起と前記第二突起とが該インナーフィンにおける隣り合う折返しの頂部間に形成されている請求項1又は2に記載の冷却用熱交換器。
【請求項5】
前記インナーフィンは、前記外壁部材における前記一対の冷却壁部の両方から離れて配置されて、該一対の冷却壁部の対向面間を該一対の冷却壁部の対向方向で二分する中間仕切部を備えており、
該中間仕切部に前記第一突起及び前記第二突起が形成されており、
該インナーフィンは該中間仕切部から該一対の冷却壁部に向けて両側へ突出する隔壁部を備えており、該隔壁部によって該外壁部材の内部領域が前記冷却流路の流路幅方向で複数の流路部に区分されている請求項1又は2に記載の冷却用熱交換器。
【請求項6】
前記第一突起及び前記第二突起は、前記インナーフィンの面上でV字状とされて、前記冷却流路の上流側へ向けて幅狭とされている請求項1又は2に記載の冷却用熱交換器。
【請求項7】
前記インナーフィンが前記冷却流路の流路長さ方向で部分的に配されている請求項1又は2に記載の冷却用熱交換器。
【請求項8】
前記冷却流路には、各複数の前記第一突起と前記第二突起との少なくとも一方によって前記熱媒体の流れを乱す作用が互いに異ならされた領域が設定されている請求項1又は2に記載の冷却用熱交換器。
【請求項9】
前記熱媒体の流れを乱す作用が互いに異ならされた前記領域が、前記冷却流路において該熱媒体の流れ方向で異なる位置に設定されている請求項8に記載の冷却用熱交換器。
【請求項10】
前記熱媒体の流れを乱す作用が互いに異ならされて前記冷却流路における該熱媒体の流れ方向で異なる位置に設定された前記領域は、下流側の該領域ほど該熱媒体の流れを乱す作用が強く設定されている請求項9に記載の冷却用熱交換器。
(【請求項11】以降は省略されています)
発明の詳細な説明
【技術分野】
【0001】
本発明は、例えば、電動化車両に用いられるバッテリー等の冷却対象の冷却に用いられる冷却用熱交換器に関するものである。
続きを表示(約 1,500 文字)
【背景技術】
【0002】
従来から、バッテリーやインバータの冷却に用いられる冷却用熱交換器が知られている。冷却用熱交換器は、例えば、特許第7000777号公報(特許文献1)に開示されているように、外壁部材の内部に熱媒体が流れる冷却流路が形成された構造を有している。そして、表面に設けられた冷却面にバッテリー等の冷却対象が重ね合わされて、冷却対象と熱媒体との間での熱交換によって冷却対象が冷却されるようになっている。
【0003】
また、特許文献1の冷却用熱交換器は、外壁部材を構成する一対の冷却壁部が対向配置されて、それら一対の冷却壁部の両外面にそれぞれ冷却面が設定されており、両面に設けられた冷却面に重ね合わされる冷却対象を冷却可能な両面冷却構造とされている。
【先行技術文献】
【特許文献】
【0004】
特許第7000777号公報
【発明の概要】
【発明が解決しようとする課題】
【0005】
ところで、特許文献1では、熱媒体との接触面積を大きく得て、熱媒体による冷却面の冷却効率を向上させる目的で、外壁部材の内部にインナーフィンが収容されている。特許文献1では、効率的な両面冷却を目的として、外壁部材の内部空間が中間プレートによって一対の冷却壁部の対向方向に区分されており、中間プレートの両側にそれぞれインナーフィンが配された構造とされている。
【0006】
しかしながら、特許文献1の構造では、中間プレートと2つのインナーフィンが必要になることから、部品点数が多くなって構造が複雑になるという問題があった。
【0007】
また、冷却対象に近い位置を流れる熱媒体だけが冷却対象との熱交換によって高温となることで、冷却対象に近い位置を流れる熱媒体との熱交換による冷却性能が低下するおそれがあった。更に、冷却対象から遠い位置を流れる熱媒体は、中間プレートやインナーフィンを介して冷却対象を間接的に冷却することから、冷却対象から近い位置を流れる熱媒体に比して熱交換効率が低くなり易く、熱媒体全体の熱容量を有効に利用できずに、冷却性能が低下してしまうおそれがあった。
【0008】
本発明の解決課題は、簡単な構造で両面に冷却面を備えた両面冷却構造を実現しつつ、優れた冷却性能を安定して得ることができる、新規な構造の冷却用熱交換器を提供することにある。
【課題を解決するための手段】
【0009】
以下、本発明を把握するための好ましい態様について記載するが、以下に記載の各態様は、例示的に記載したものであって、適宜に互いに組み合わせて採用され得るだけでなく、各態様に記載の複数の構成要素についても、可能な限り独立して認識及び採用することができ、適宜に別の態様に記載の何れかの構成要素と組み合わせて採用することもできる。それによって、本発明では、以下に記載の態様に限定されることなく、種々の別態様が実現され得る。
【0010】
第一の態様は、冷却用の熱媒体が流れる冷却流路が内部に形成されて、表面に設けられた冷却面に重ね合わされる冷却対象を冷却する冷却用熱交換器であって、内部に前記冷却流路を備えた中空の外壁部材が設けられて、該外壁部材における相互対向部分には表面に前記冷却面を備えた一対の冷却壁部が設けられており、該外壁部材の内部領域には、該内部領域を該一対の冷却壁部の対向方向で二分するプレート状のインナーフィンが配設されており、該インナーフィンには、各一方の面に突出する第一突起及び第二突起が一体的に形成されているものである。
(【0011】以降は省略されています)
この特許をJ-PlatPat(特許庁公式サイト)で参照する
関連特許
住友理工株式会社
断熱材
1か月前
住友理工株式会社
断熱材
25日前
住友理工株式会社
仕切り部材
4日前
住友理工株式会社
シール部材
5日前
住友理工株式会社
摩擦ダンパ
15日前
住友理工株式会社
圧力センサ
4日前
住友理工株式会社
筒型防振装置
6日前
住友理工株式会社
被覆金属物品
1か月前
住友理工株式会社
防振ゴム部材
4日前
住友理工株式会社
防振ゴム部材
4日前
住友理工株式会社
生体振動センサ
1か月前
住友理工株式会社
冷却用熱交換器
1か月前
住友理工株式会社
冷却用熱交換器
5日前
住友理工株式会社
冷却用熱交換器
今日
住友理工株式会社
断熱材の製造方法
1か月前
住友理工株式会社
筒型モータマウント
13日前
住友理工株式会社
口腔用圧力センサシート
1か月前
住友理工株式会社
電子写真機器用現像ロール
1か月前
住友理工株式会社
電子写真機器用帯電ロール
6日前
住友理工株式会社
電子写真機器用帯電ロール
6日前
住友理工株式会社
電池モジュール用緩衝シート
4日前
住友理工株式会社
ラテックス組成物の評価方法
4日前
住友理工株式会社
ゴム組成物の物性の予測方法
今日
住友理工株式会社
制振ストッパー及び自動倉庫のラック
1か月前
住友理工株式会社
シート用振動低減装置および乗員状態推定システム
4日前
住友理工株式会社
建造物用ゴム製品の補修工法および建造物用ゴム製品
5日前
住友理工株式会社
押出成形用ゴム組成物、ホース、およびホースの製造方法
4日前
住友理工株式会社
咬合力センサシート
25日前
個人
フレキシブル電気化学素子
4日前
日本発條株式会社
積層体
15日前
ローム株式会社
半導体装置
13日前
ローム株式会社
半導体装置
13日前
ローム株式会社
半導体装置
6日前
日新イオン機器株式会社
イオン源
今日
ローム株式会社
半導体装置
13日前
ローム株式会社
半導体装置
11日前
続きを見る
他の特許を見る