TOP
|
特許
|
意匠
|
商標
特許ウォッチ
Twitter
他の特許を見る
10個以上の画像は省略されています。
公開番号
2025153118
公報種別
公開特許公報(A)
公開日
2025-10-10
出願番号
2024055422
出願日
2024-03-29
発明の名称
電池モジュール用緩衝シート
出願人
住友理工株式会社
,
本田技研工業株式会社
代理人
弁理士法人あいち国際特許事務所
主分類
H01M
50/242 20210101AFI20251002BHJP(基本的電気素子)
要約
【課題】電池セルに荷重を均等に印加することができる電池モジュール用緩衝シートを提供する。
【解決手段】第1クッションシート11と、第2クッションシート12と、第1クッションシート11と第2クッションシート12との間に配置されて積層方向Aに荷重を印加するバネ部材20と、第1クッションシート11とバネ部材20との間に配置されて、バネ部材20からの荷重を第1クッションシート11に分散して伝達する第1均圧板31と、第2クッションシート12とバネ部材20との間に配置されて、バネ部材20からの荷重を第2クッションシート12に分散して伝達する第2均圧板32と、を備え、バネ部材10は、大径開口20aから底部20bに向かって幅狭となる椀型に形成されたバネ部20cを備え、バネ部20cは、大径開口20aから底部20bに向かう方向が積層方向Aに一致するように配置される、電池モジュール用緩衝シート4a。
【選択図】図1
特許請求の範囲
【請求項1】
電池セルと相手部材との間に配置される電池モジュール用緩衝シートであって、
前記電池セル側に配置される、シート状の第1クッションシートと、
前記相手部材側に配置される、シート状の第2クッションシートと、
前記第1クッションシートと前記第2クッションシートとの間に配置されて前記第1クッションシートおよび前記第2クッションシートが重なる積層方向に荷重を印加するバネ部材と、
前記第1クッションシートと前記バネ部材との間に配置されて、前記バネ部材からの前記荷重を前記第1クッションシートに分散して伝達する第1均圧板と、
前記第2クッションシートと前記バネ部材との間に配置されて、前記バネ部材からの前記荷重を前記第2クッションシートに分散して伝達する第2均圧板と、を備え、
前記バネ部材は、大径開口から底部に向かって幅狭に形成されたバネ部を備え、
前記バネ部は、前記大径開口から前記底部に向かう方向が前記積層方向に一致するように配置される、電池モジュール用緩衝シート。
続きを表示(約 930 文字)
【請求項2】
前記バネ部材は、皿型または椀型に形成されている、請求項1に記載の電池モジュール用緩衝シート。
【請求項3】
前記バネ部材は、
板状の基板と、
大径開口から底部に向かって幅狭となる皿型または椀型に形成されるとともに、前記大径開口から前記底部に向かう方向が前記積層方向に一致するように配置される複数のバネ部と、を備える請求項1または2に記載の電池モジュール用緩衝シート。
【請求項4】
前記複数のバネ部が、前記基板の板面方向について一定の間隔で並んで配置されている、請求項3に記載の電池モジュール用緩衝シート。
【請求項5】
複数の前記バネ部材が前記積層方向に重なっており、
さらに、前記複数のバネ部が前記積層方向に重なっている、請求項3に記載の電池モジュール用緩衝シート。
【請求項6】
複数の前記バネ部材は、前記積層方向について偶数層重なっており、
複数の前記バネ部材のうち、前記積層方向に重なる2つのバネ部材は、前記積層方向について対称に配置されている、請求項5に記載の電池モジュール用緩衝シート。
【請求項7】
重なって配置された複数の前記バネ部材のうち、前記バネ部の前記底部が突き合わせて配置された前記バネ部の前記底部には、平坦面が形成されている、請求項5に記載の電池モジュール用緩衝シート。
【請求項8】
前記平坦面の差渡し寸法は、前記大径開口の差渡し寸法の五分の一以下である、請求項7に記載の電池モジュール用緩衝シート。
【請求項9】
さらに、前記積層方向に重なる前記複数のバネ部のうち、隣り合うバネ部の間に配置された中間板材を備える、請求項5に記載の電池モジュール用緩衝シート。
【請求項10】
前記基板は、前記第1均圧板側または前記第2均圧板側に配置されており、
第1補助弾性部材が、前記皿型または椀型に形成された前記バネ部の、皿内部空間または椀内部空間に配置されている、請求項3に記載の電池モジュール用緩衝シート。
(【請求項11】以降は省略されています)
発明の詳細な説明
【技術分野】
【0001】
本発明は、電池モジュール用緩衝シートに関する。
続きを表示(約 2,500 文字)
【背景技術】
【0002】
電気自動車やハイブリッド車用の電池モジュールでは、出力を大きくするために、複数の電池セルが並べられて、電気的に接続されている。電池セルは、作動時に膨張、収縮を繰り返す。電池モジュールの性能向上のためには、膨張時には電池セルからの圧力を吸収し、収縮時には電池セルに加圧することにより、常時、電池セルに所定の圧力が印加されることが望まれる。
【0003】
特許文献1には、複数のセルが積層された燃料電池をセルの積層方向に押圧する弾性体が開示されている。弾性体は、第1当接面と、第1当接面の裏側に形成された第2当接面を有している。第1当接面には複数の第1凸部が散点状に形成されており、第2当接面の第1凸部に対応する位置には第1凹部がそれぞれ形成されている。これにより、燃料電池のセル毎の寸法変化に対応することができ、かつ、セルの全面を押圧することができる。
【先行技術文献】
【特許文献】
【0004】
特開2009-076379号公報
【発明の概要】
【発明が解決しようとする課題】
【0005】
特許文献1に記載された技術によれば、電池セルは、弾性体に形成された第1凸部の先端部によって、局所的に強い荷重で押圧される。このため、特許文献1に記載された技術によっては、電池セルに荷重を均等に印加することはできないという課題がある。
【0006】
本発明は、かかる背景に鑑みてなされたものであり、電池セルに荷重を均等に印加することができる電池モジュール用緩衝シートを提供しようとするものである。
【課題を解決するための手段】
【0007】
本発明の一態様は、
電池セルと相手部材との間に配置される電池モジュール用緩衝シートであって、
前記電池セル側に配置される、シート状の第1クッションシートと、
前記相手部材側に配置される、シート状の第2クッションシートと、
前記第1クッションシートと前記第2クッションシートとの間に配置されて前記第1クッションシートおよび前記第2クッションシートが重なる積層方向に荷重を印加するバネ部材と、
前記第1クッションシートと前記バネ部材との間に配置されて、前記バネ部材からの前記荷重を前記第1クッションシートに分散して伝達する第1均圧板と、
前記第2クッションシートと前記バネ部材との間に配置されて、前記バネ部材からの前記荷重を前記第2クッションシートに分散して伝達する第2均圧板と、を備え、
前記バネ部材は、大径開口から底部に向かって幅狭に形成されたバネ部を備え、
前記バネ部は、前記大径開口から前記底部に向かう方向が前記積層方向に一致するように配置される、電池モジュール用緩衝シートにある。
【発明の効果】
【0008】
本発明の一態様によれば、バネ部材が弾性変形することにより発生した荷重は、第1均圧板および第2均圧板に伝達される。これにより、バネ部材からの荷重は第1均圧板および第2均圧板全体で受け止められて、第1均圧板の板面から第1クッションシートへと均等に伝達されるとともに、第2均圧板の板面から第2クッションシートへと均等に伝達される。さらに、第1クッションシートから電池セルへ均等に荷重が印加されるとともに、第2クッションシートから相手部材へ均等に荷重が印加される。以上により、バネ部材からの荷重が、電池セルおよび相手部材に均等に印加される。
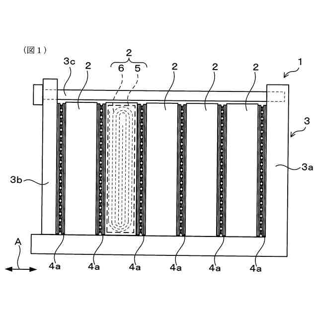
【図面の簡単な説明】
【0009】
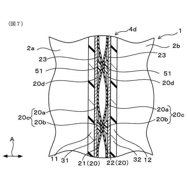
実施形態1の電池モジュールを示す図である。
実施形態1の緩衝シートの部分断面図である。
実施形態1のバネ部材を示す図であり、(a)はバネ部材の部分平面図であり、(b)は、(a)におけるIIIb-IIIb線断面図である。
実施形態2のバネ部材を示す図であり、(a)はバネ部を示す部分平面図であり、(b)は、(a)におけるIVb-IVb線断面図である。
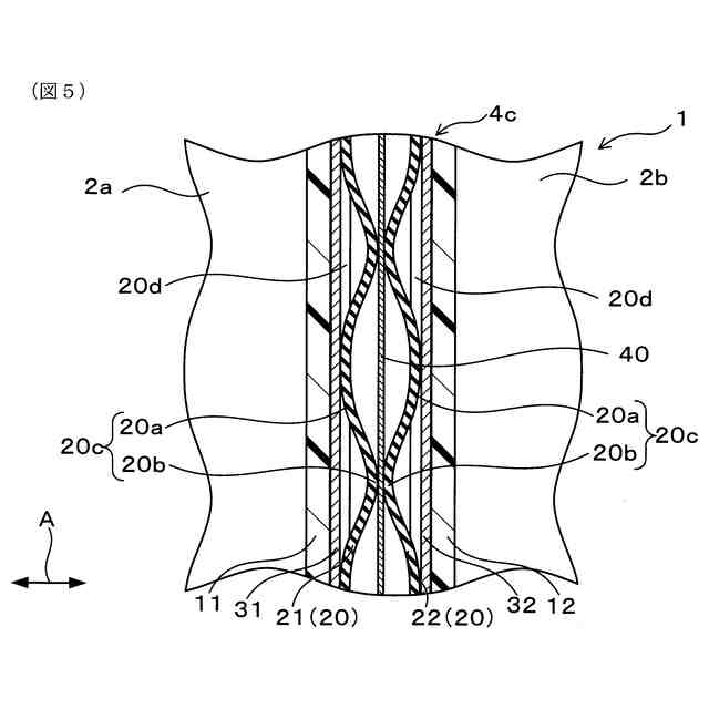
実施形態3の緩衝シートの部分断面図である。
実施形態4の緩衝シートの部分断面図である。
実施形態4の緩衝シートが積層方向について弾性変形した状態を示す部分断面図である。
実施形態5の緩衝シートの部分断面図である。
実施形態6の緩衝シートの部分断面図である。
実施形態6の変形例の緩衝シートの部分断面図である。
実施形態7の緩衝シートの部分断面図である。
実施形態8の緩衝シートの部分断面図である。
実施形態8の緩衝シートが積層方向について弾性変形した状態を示す部分断面図である。
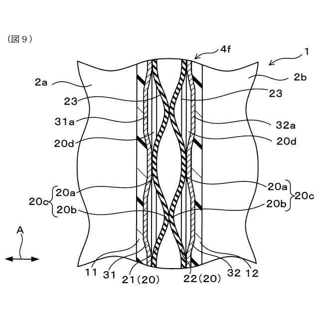
実施形態9の緩衝シートの部分断面図である。
実施形態10の緩衝シートの部分断面図である。
実施形態11の緩衝シートの部分断面図である。
他の実施形態(1)の緩衝シートの部分断面図である。
他の実施形態(2)の緩衝シートの部分断面図である。
【発明を実施するための形態】
【0010】
(実施形態1)
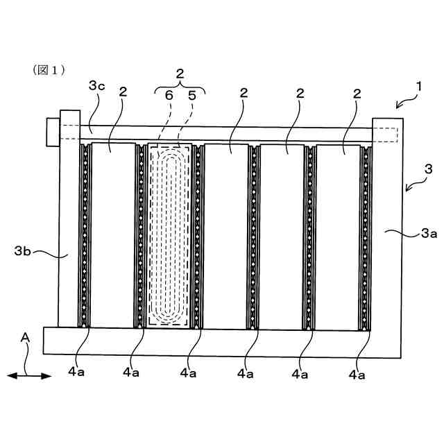
1.電池モジュール1の構成
電池モジュール1について図1および図2を参照して説明する。電池モジュール1は、例えば、自動車用や家庭用におけるリチウムイオン二次電池などの蓄電池、燃料電池システムのセルスタックなどを例にあげることができる。なお、蓄電池としては、例えばリチウムイオンキャパシタなどのキャパシタを含んでも良い。電池モジュール1は、図1に示すように、積層方向Aに積層された複数の電池セル2と、支持部材3と、複数の緩衝シート4aとを備える。以下の説明において、複数の同一部材については、一部の部材にのみ符号を付し、他の部材の符号を省略する場合がある。
(【0011】以降は省略されています)
この特許をJ-PlatPat(特許庁公式サイト)で参照する
関連特許
住友理工株式会社
カバー
1か月前
住友理工株式会社
断熱材
2か月前
住友理工株式会社
断熱材
2か月前
住友理工株式会社
シール部材
1か月前
住友理工株式会社
圧力センサ
1か月前
住友理工株式会社
摩擦ダンパ
1か月前
住友理工株式会社
仕切り部材
1か月前
住友理工株式会社
防振ゴム部材
1か月前
住友理工株式会社
防振ゴム部材
1か月前
住友理工株式会社
筒型防振装置
1か月前
住友理工株式会社
冷却用熱交換器
1か月前
住友理工株式会社
冷却用熱交換器
2か月前
住友理工株式会社
冷却用熱交換器
今日
住友理工株式会社
冷却用熱交換器
1か月前
住友理工株式会社
生体振動センサ
2か月前
住友理工株式会社
断熱材の製造方法
2か月前
住友理工株式会社
筒型モータマウント
1か月前
住友理工株式会社
口腔用圧力センサシート
2か月前
住友理工株式会社
電子写真機器用帯電ロール
1か月前
住友理工株式会社
電子写真機器用帯電ロール
1か月前
住友理工株式会社
電動コンプレッサの支持構造
1か月前
住友理工株式会社
電池モジュール用緩衝シート
1か月前
住友理工株式会社
ラテックス組成物の評価方法
1か月前
住友理工株式会社
ゴム組成物の物性の予測方法
1か月前
住友理工株式会社
制振ストッパー及び自動倉庫のラック
2か月前
住友理工株式会社
シート用振動低減装置および乗員状態推定システム
1か月前
住友理工株式会社
建造物用ゴム製品の補修工法および建造物用ゴム製品
1か月前
住友理工株式会社
押出成形用ゴム組成物、ホース、およびホースの製造方法
1か月前
住友理工株式会社
咬合力センサシート
2か月前
東ソー株式会社
絶縁電線
1か月前
APB株式会社
蓄電セル
1か月前
ローム株式会社
半導体装置
1か月前
株式会社東芝
端子台
28日前
マクセル株式会社
電源装置
28日前
株式会社GSユアサ
蓄電装置
29日前
株式会社GSユアサ
蓄電装置
7日前
続きを見る
他の特許を見る