TOP
|
特許
|
意匠
|
商標
特許ウォッチ
Twitter
他の特許を見る
公開番号
2025116639
公報種別
公開特許公報(A)
公開日
2025-08-08
出願番号
2024011169
出願日
2024-01-29
発明の名称
冷却用熱交換器及び冷却用熱交換器の製造方法
出願人
住友理工株式会社
代理人
弁理士法人笠井中根国際特許事務所
,
個人
,
個人
主分類
H01L
23/473 20060101AFI20250801BHJP(基本的電気素子)
要約
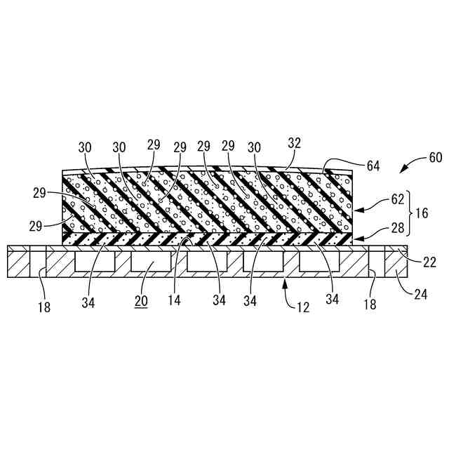
【課題】冷却対象の装着作業を容易にしつつ、冷却対象との間で高い熱交換効率を実現することができる、新規な構造の冷却用熱交換器を提供する。
【解決手段】冷却用の熱媒体が内部に形成された冷却流路20を流れることで、表面に設けられた冷却面14に重ね合わされる冷却対象36を冷却する冷却用熱交換器10であって、冷却面14上には熱伝導材層26が配されて、熱伝導材層26は、熱伝導フィラー30が混合された弾性材料の成形体からなる熱伝導弾性体とされており、冷却面14と熱伝導材層26との重ね合わせ面間には、それら冷却面14と熱伝導材層26との重ね合わせ面にそれぞれ密着する熱伝導性の充填材層28が設けられている。
【選択図】図1
特許請求の範囲
【請求項1】
冷却用の熱媒体が内部に形成された冷却流路を流れることで、表面に設けられた冷却面に重ね合わされる冷却対象を冷却する冷却用熱交換器であって、
前記冷却面上には熱伝導材層が配されて、
該熱伝導材層は、熱伝導フィラーが混合された弾性材料の成形体からなる熱伝導弾性体とされており、
該冷却面と該熱伝導材層との重ね合わせ面間には、それら冷却面と熱伝導材層との重ね合わせ面にそれぞれ密着する熱伝導性の充填材層が設けられている冷却用熱交換器。
続きを表示(約 730 文字)
【請求項2】
前記充填材層の外周面を覆って該充填材層の硬化反応を抑制する硬化調節シートが設けられている請求項1に記載の冷却用熱交換器。
【請求項3】
多数の前記熱伝導フィラーが前記熱伝導材層の内部において熱伝達経路を形成するように配向されている請求項1又は2に記載の冷却用熱交換器。
【請求項4】
前記熱伝導材層が発泡体とされている請求項1又は2に記載の冷却用熱交換器。
【請求項5】
前記熱伝導材層が前記充填材層よりも厚肉且つ軟質とされている請求項1又は2に記載の冷却用熱交換器。
【請求項6】
前記充填材層が前記熱伝導材層よりも厚肉且つ軟質とされている請求項1又は2に記載の冷却用熱交換器。
【請求項7】
前記熱伝導材層における前記冷却対象との重ね合わせ面が凸状面とされている請求項1又は2に記載の冷却用熱交換器。
【請求項8】
冷却用の熱媒体が内部に形成された冷却流路を流れることで、表面に設けられた冷却面に重ね合わされる冷却対象を冷却する冷却用熱交換器の製造方法であって、
熱伝導フィラーが混合された弾性材料を型成形して熱伝導材層を準備する工程と、
前記冷却面上に軟質且つ熱伝導性の充填材を載せる工程と、
該冷却面上に載せられた軟質の該充填材に該熱伝導材層を重ね合わせて、該冷却面と該熱伝導材層の間で該充填材を圧縮しながら硬化させることで、該冷却面と該熱伝導材層との重ね合わせ面間に充填材層を形成して、該充填材層を該冷却面と該熱伝導材層との重ね合わせ面にそれぞれ密着させる工程と
を、有する冷却用熱交換器の製造方法。
発明の詳細な説明
【技術分野】
【0001】
本発明は、電気自動車等の電動化車両においてバッテリーパック等の冷却対象の冷却に用いられる冷却用熱交換器に関するものである。
続きを表示(約 1,600 文字)
【背景技術】
【0002】
電気自動車やハイブリッド自動車等の電動化車両において、冷却対象であるリチウムイオンバッテリー等のバッテリーパックや電子機器等は、小型化や高性能化によって発熱量が大きくなっており、冷却性能の重要性が増している。従来では、例えば、国際公開第2019/008000号(特許文献1)に開示されているように、相互に重ね合わされたプレート間に冷却流路が形成された構造の冷却用熱交換器が採用されていた。この冷却用熱交換器は、一方のプレートがバッテリーパック等の冷却対象に重ね合わされており、当該一方のプレートが冷却流路を流れる冷媒で冷却されることによって、冷却対象が冷却されるようになっている。
【先行技術文献】
【特許文献】
【0003】
国際公開第2019/008000号
【発明の概要】
【発明が解決しようとする課題】
【0004】
ところで、冷却用熱交換器の冷却面に冷却対象を重ね合わせる際には、熱交換効率を高めるために、冷却面と冷却対象との重ね合わせ面間に隙間を充填するためのギャップフィラーを使用する場合もある。ギャップフィラーは、例えば、冷却対象を冷却面に重ね合わす前に流動性を有する状態で冷却面に塗布されて、冷却面と冷却対象との間で硬化することによって、冷却面と冷却対象との重ね合わせ面間の隙間を埋める伝熱性の充填材層を形成する。
【0005】
しかしながら、ギャップフィラーは、硬化反応によって経時的に硬質化することから、冷却面に予め塗布しておくことができず、冷却対象を冷却面に重ね合わせる直前に塗布する必要がある。その結果、冷却対象を冷却用熱交換器の冷却面上に装着する作業が煩雑になるという問題があった。
【0006】
本発明の解決課題は、冷却対象の装着作業を容易にしつつ、冷却対象との間で高い熱交換効率を実現することができる、新規な構造の冷却用熱交換器を提供することにある。
【0007】
また、本発明は、新規な冷却用熱交換器の製造方法を提供することも、目的とする。
【課題を解決するための手段】
【0008】
以下、本発明を把握するための好ましい態様について記載するが、以下に記載の各態様は、例示的に記載したものであって、適宜に互いに組み合わせて採用され得るだけでなく、各態様に記載の複数の構成要素についても、可能な限り独立して認識及び採用することができ、適宜に別の態様に記載の何れかの構成要素と組み合わせて採用することもできる。それによって、本発明では、以下に記載の態様に限定されることなく、種々の別態様が実現され得る。
【0009】
第一の態様は、冷却用の熱媒体が内部に形成された冷却流路を流れることで、表面に設けられた冷却面に重ね合わされる冷却対象を冷却する冷却用熱交換器であって、前記冷却面上には熱伝導材層が配されて、該熱伝導材層は、熱伝導フィラーが混合された弾性材料の成形体からなる熱伝導弾性体とされており、該冷却面と該熱伝導材層との重ね合わせ面間には、それら冷却面と熱伝導材層との重ね合わせ面にそれぞれ密着する熱伝導性の充填材層が設けられているものである。
【0010】
本態様に従う構造とされた冷却用熱交換器によれば、冷却対象に直接重ね合わされる面が弾性を有する熱伝導材層で構成されており、熱伝導材層と冷却面との間が充填材層で充填されている。それゆえ、予め形成された充填材層が仮に完全硬化していても、冷却対象に対する重ね合わせ面を構成する熱伝導材層の弾性によって、冷却対象に対する密着性や冷却対象の取付けによる入力荷重に対する干渉性等が有効に発揮される。
(【0011】以降は省略されています)
この特許をJ-PlatPat(特許庁公式サイト)で参照する
関連特許
住友理工株式会社
断熱材
1か月前
住友理工株式会社
断熱材
22日前
住友理工株式会社
ブッシュ
1か月前
住友理工株式会社
摩擦ダンパ
12日前
住友理工株式会社
圧力センサ
1日前
住友理工株式会社
仕切り部材
1日前
住友理工株式会社
シール部材
2日前
住友理工株式会社
筒型防振装置
3日前
住友理工株式会社
防振ブッシュ
1か月前
住友理工株式会社
被覆金属物品
1か月前
住友理工株式会社
防振ゴム部材
1日前
住友理工株式会社
防振ゴム部材
1日前
住友理工株式会社
接触検知装置
1か月前
住友理工株式会社
生体振動センサ
1か月前
住友理工株式会社
冷却用熱交換器
1か月前
住友理工株式会社
冷却用熱交換器
2日前
住友理工株式会社
断熱材の製造方法
1か月前
住友理工株式会社
筒型モータマウント
10日前
住友理工株式会社
口腔用圧力センサシート
1か月前
住友理工株式会社
電子写真機器用帯電ロール
3日前
住友理工株式会社
電子写真機器用現像ロール
1か月前
住友理工株式会社
電子写真機器用帯電ロール
3日前
住友理工株式会社
電池モジュール用緩衝シート
1日前
住友理工株式会社
ラテックス組成物の評価方法
1日前
住友理工株式会社
電子写真機器用導電性ロール
1か月前
住友理工株式会社
モータマウント用の筒型防振装置
1か月前
住友理工株式会社
制振ストッパー及び自動倉庫のラック
1か月前
住友理工株式会社
シート用振動低減装置および乗員状態推定システム
1日前
住友理工株式会社
建造物用ゴム製品の補修工法および建造物用ゴム製品
2日前
住友理工株式会社
押出成形用ゴム組成物、ホース、およびホースの製造方法
1日前
住友理工株式会社
咬合力センサシート
22日前
住友理工株式会社
マトリックスポリマーにフィラーが分散されたポリマー複合材料を解析する方法
1か月前
住友理工株式会社
導電性熱可塑性エラストマー組成物、それを用いた導電性シート、および導電性シートの製造方法
1か月前
個人
フレキシブル電気化学素子
1日前
日本発條株式会社
積層体
12日前
ローム株式会社
半導体装置
10日前
続きを見る
他の特許を見る