TOP
|
特許
|
意匠
|
商標
特許ウォッチ
Twitter
他の特許を見る
公開番号
2025174376
公報種別
公開特許公報(A)
公開日
2025-11-28
出願番号
2024080718
出願日
2024-05-17
発明の名称
カップ付シートラバー
出願人
住友理工株式会社
代理人
弁理士法人笠井中根国際特許事務所
,
個人
,
個人
主分類
F16F
9/32 20060101AFI20251120BHJP(機械要素または単位;機械または装置の効果的機能を生じ維持するための一般的手段)
要約
【課題】カップ部材とスプリング支持部との打ち当たり等に起因する異音を低減することができる、新規な構造のカップ付シートラバーを提供する。
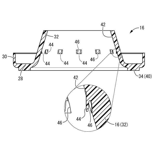
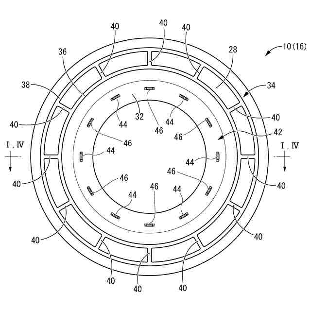
【解決手段】車両のサスペンション機構においてコイルスプリング22とスプリング支持部12との間に介装される環状のシートラバー14を備えており、シートラバー14とスプリング支持部12との間に配される硬質のカップ部材16がシートラバー14に取り付けられているカップ付シートラバー10であって、カップ部材16は、スプリング支持部12に当接状態で重ね合わされる底壁部28の内周端部から先細筒状の周壁部32が中心軸方向に突出した構造を有しており、スプリング支持部12における先細筒状の挿入部52に対して隙間54をもって重ね合わされるカップ部材16の周壁部32には、挿入部52へ向けて突出して挿入部52への当接によって弾性的に曲げ変形される弾性突起44が設けられている。
【選択図】図1
特許請求の範囲
【請求項1】
車両のサスペンション機構においてコイルスプリングとスプリング支持部との間に介装される環状のシートラバーを備えており、該シートラバーと該スプリング支持部との間に配される硬質のカップ部材が該シートラバーに取り付けられているカップ付シートラバーであって、
前記カップ部材は、前記スプリング支持部に当接状態で重ね合わされる底壁部の内周端部から先細筒状の周壁部が中心軸方向に突出した構造を有しており、
該スプリング支持部における先細筒状の挿入部に対して隙間をもって重ね合わされる該カップ部材の該周壁部には、該挿入部へ向けて突出して該挿入部への当接によって弾性的に曲げ変形される弾性突起が設けられているカップ付シートラバー。
続きを表示(約 340 文字)
【請求項2】
前記弾性突起が周方向に広がる板形状とされている請求項1に記載のカップ付シートラバー。
【請求項3】
前記弾性突起が周方向の複数箇所に設けられている請求項1又は2に記載のカップ付シートラバー。
【請求項4】
前記カップ部材が合成樹脂製とされている請求項1又は2に記載のカップ付シートラバー。
【請求項5】
前記カップ部材の前記周壁部における前記弾性突起の隣接する部分には、凹状の抉り部が形成されている請求項1又は2に記載のカップ付シートラバー。
【請求項6】
前記弾性突起が、前記カップ部材における前記周壁部の内周面において基端側へ向かって突出している請求項1又は2に記載のカップ付シートラバー。
発明の詳細な説明
【技術分野】
【0001】
本発明は、車両のサスペンション機構におけるコイルスプリングとショックアブソーバのスプリング支持部との間に介装されるカップ付シートラバーに関するものである。
続きを表示(約 1,900 文字)
【背景技術】
【0002】
従来から、車両のサスペンション機構において、コイルスプリングとショックアブソーバに設けられたスプリング支持部(ショックアブソーバにおけるコイルスプリングの支持部分)との直接的な当接による打音等を防止する目的で、コイルスプリングとスプリング支持部との間に介装されるシートラバーが知られている。シートラバーは、例えば特許第6615857号公報(特許文献1)に示されているように、環状とされており、ショックアブソーバから外周へ突出するように設けられるスプリング支持部のフランジ状部に重ね合わされて、コイルスプリングの端部とスプリング支持部との間に介装される。
【先行技術文献】
【特許文献】
【0003】
特許第6615857号公報
【発明の概要】
【発明が解決しようとする課題】
【0004】
ところで、シートラバーには、ばね特性の調節等を目的とするカップ部材が取り付けられる場合がある。カップ部材は、例えば、シートラバーの下面及び内周面を覆うように設けられて、スプリング支持部に重ね合わされている。
【0005】
ところが、シートラバーとスプリング支持部との間にカップ部材が介装されていると、車両走行時の振動入力等によってカップ部材とスプリング支持部とが打ち当たる等して、異音が発生するおそれがあった。特に、カップ部材が硬質である場合には、シートラバーとスプリング支持部とがカップ部材を介さずに直接接触する場合に比して、異音が問題になり易かった。
【0006】
本発明の解決課題は、カップ部材とスプリング支持部との打ち当たり等に起因する異音を低減することができる、新規な構造のカップ付シートラバーを提供することにある。
【課題を解決するための手段】
【0007】
以下、本発明を把握するための好ましい態様について記載するが、以下に記載の各態様は、例示的に記載したものであって、適宜に互いに組み合わせて採用され得るだけでなく、各態様に記載の複数の構成要素についても、可能な限り独立して認識及び採用することができ、適宜に別の態様に記載の何れかの構成要素と組み合わせて採用することもできる。それによって、本発明では、以下に記載の態様に限定されることなく、種々の別態様が実現され得る。
【0008】
第一の態様は、車両のサスペンション機構においてコイルスプリングとスプリング支持部との間に介装される環状のシートラバーを備えており、該シートラバーと該スプリング支持部との間に配される硬質のカップ部材が該シートラバーに取り付けられているカップ付シートラバーであって、前記カップ部材は、前記スプリング支持部に当接状態で重ね合わされる底壁部の内周端部から先細筒状の周壁部が中心軸方向に突出した構造を有しており、該スプリング支持部における先細筒状の挿入部に対して隙間をもって重ね合わされる該カップ部材の該周壁部には、該挿入部へ向けて突出して該挿入部への当接によって弾性的に曲げ変形される弾性突起が設けられているものである。
【0009】
本態様に従う構造とされたカップ付シートラバーによれば、カップ部材の周壁部がスプリング支持部の挿入部に対して隙間をもって重ね合わされることから、例えば、カップ部材の周壁部とスプリング支持部の挿入部との干渉によってカップ部材の底壁部がスプリング支持部に当接しなくなる等のカップ部材のスプリング支持部に対する組付け不良の発生を防止することができる。
【0010】
カップ部材の周壁部とスプリング支持部の挿入部との間に隙間が設けられていると、カップ部材とスプリング支持部が底壁部とスプリング支持部との重ね合わせ方向と直交する方向において位置決めされ難く、例えば車両走行時の振動入力によってカップ部材の周壁部とスプリング支持部の挿入部とが打ち当たる等して、異音が発生するおそれがある。そこで、カップ部材の周壁部から挿入部へ向けて突出して挿入部への当接によって弾性的に曲げ変形される弾性突起が設けられている。これにより、初期状態では、カップ部材の周壁部とスプリング支持部の挿入部とが曲げ変形された弾性突起を介して当接することから、スプリング支持部の挿入部に対するカップ部材の当接面積が小さくされる。それに加えて、車両走行時の振動等が入力された場合には、弾性突起が更に変形することで当該振動が吸収されて、カップ部材とスプリング支持部の挿入部との当接による打音等の低減が図られる。
(【0011】以降は省略されています)
この特許をJ-PlatPat(特許庁公式サイト)で参照する
関連特許
住友理工株式会社
カバー
1か月前
住友理工株式会社
冷却用熱交換器
1日前
住友理工株式会社
カップ付シートラバー
今日
住友理工株式会社
電動コンプレッサの支持構造
1か月前
住友理工株式会社
発泡ウレタン樹脂組成物、ポリウレタンフォームおよびその製造方法
今日
個人
留め具
1か月前
個人
鍋虫ねじ
3か月前
個人
回転伝達機構
3か月前
個人
紛体用仕切弁
3か月前
個人
差動歯車用歯形
5か月前
個人
給排気装置
1か月前
個人
ジョイント
2か月前
個人
ナット
2か月前
株式会社不二工機
電磁弁
4か月前
株式会社不二工機
電磁弁
6か月前
個人
ナット
23日前
個人
地震の揺れ回避装置
4か月前
個人
吐出量監視装置
2か月前
個人
ゲート弁バルブ
8日前
カヤバ株式会社
ダンパ
5か月前
カヤバ株式会社
ダンパ
5か月前
柿沼金属精機株式会社
分岐管
3か月前
兼工業株式会社
バルブ
24日前
カヤバ株式会社
緩衝器
1か月前
カヤバ株式会社
緩衝器
4か月前
カヤバ株式会社
緩衝器
4か月前
個人
固着具と固着具の固定方法
6か月前
株式会社タカギ
水栓装置
3か月前
株式会社フジキン
ボールバルブ
5か月前
株式会社奥村組
制振機構
2か月前
株式会社奥村組
制振機構
2か月前
株式会社不二工機
電動弁
1か月前
株式会社三五
ドライブシャフト
1か月前
個人
固着具と固着具の固定方法
6か月前
個人
固着具と固着具の固定方法
6か月前
株式会社ニフコ
クリップ
8日前
続きを見る
他の特許を見る