TOP
|
特許
|
意匠
|
商標
特許ウォッチ
Twitter
他の特許を見る
公開番号
2025154692
公報種別
公開特許公報(A)
公開日
2025-10-10
出願番号
2024057834
出願日
2024-03-29
発明の名称
インジケータ及びアウターミラー
出願人
トヨタ自動車株式会社
,
株式会社村上開明堂
代理人
個人
,
個人
,
個人
,
個人
,
個人
,
個人
主分類
B60R
1/06 20060101AFI20251002BHJP(車両一般)
要約
【課題】アウターミラーにおける物体の視認性を高める。
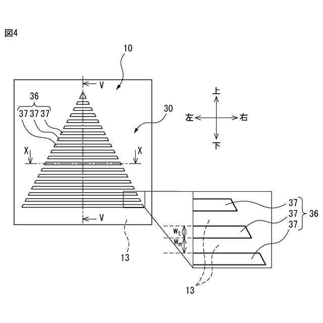
【解決手段】車両100のアウターミラー1に設けられるインジケータ30は、アウターミラーのミラー部材10の鏡面部13に形成された光透過部36と、ミラー部材の外部に露出する露出面11側とは反対側に、光透過部を通って光を発することができるように配置された発光部33と、を備える。光透過部は、それぞれ水平方向に延びると共に鉛直方向に並んで配置された複数の線状透過部37を有する。
【選択図】図4
特許請求の範囲
【請求項1】
車両のアウターミラーに設けられるインジケータであって、
前記アウターミラーのミラー部材の鏡面部に形成された光透過部と、
前記ミラー部材の外部に露出する露出面側とは反対側に、前記光透過部を通って光を発することができるように配置された発光部と、を備え、
前記光透過部は、それぞれ水平方向に延びると共に鉛直方向に並んで配置された複数の線状透過部を有する、インジケータ。
続きを表示(約 580 文字)
【請求項2】
前記光透過部は、前記複数の線状透過部が全体として一つの閉じた平面図形を構成するように形成される、請求項1に記載のインジケータ。
【請求項3】
前記光透過部は、前記複数の線状透過部が全体として一つの三角形を構成するように形成される、請求項2に記載のインジケータ。
【請求項4】
前記光透過部は、前記複数の線状透過部が全体として、底辺が水平に延びる一つの三角形を構成するように形成される、請求項3に記載のインジケータ。
【請求項5】
前記光透過部は、前記複数の線状透過部のみから構成される、請求項1~4のいずれか1項に記載のインジケータ。
【請求項6】
前記発光部は、発光体と、該発光体と前記光透過部との間に配置されたレンズと、を備える、請求項1~4のいずれか1項に記載のインジケータ。
【請求項7】
前記発光部の周りに配置されたハウジングを更に備え、
前記ハウジングの内面は鏡面状に形成される、請求項6に記載のインジケータ。
【請求項8】
請求項1~4のいずれか1項に記載のインジケータを有するアウターミラーであって、
前記光透過部は、前記ミラー部材の車幅方向の中心よりも外側において前記鏡面部に形成される、アウターミラー。
発明の詳細な説明
【技術分野】
【0001】
本開示は、インジケータ及びアウターミラーに関する。
続きを表示(約 2,000 文字)
【背景技術】
【0002】
従来から、発光するインジケータを有するアウターミラーが知られている(特許文献1、2)。特に、特許文献1に記載のドアミラーのインジケータは、三角形環状の外マークと、三角形状の内マークとを有し、外マークは内マークの全周を囲むように配置されている。また、特許文献1に記載のドアミラーでは、外マーク及び内マークの位置において反射膜が設けられておらず、よってこの位置ではドアミラーの内外で光が透過される。
【先行技術文献】
【特許文献】
【0003】
特開2017-218113号公報
米国特許第8242896号明細書
【発明の概要】
【発明が解決しようとする課題】
【0004】
特許文献1に記載のドアミラーでは、外マーク及び内マークが位置する領域に反射膜が設けられていない。したがって、この領域に対応する位置に他車両等の物体が位置しても、ドライバは必ずしもその物体を適切に視認することができない可能性がある。
【0005】
上記課題に鑑みて、本開示の目的は、アウターミラーにおける物体の視認性を高めることにある。
【課題を解決するための手段】
【0006】
本開示の要旨は以下のとおりである。
【0007】
(1)車両のアウターミラーに設けられるインジケータであって、
前記アウターミラーのミラー部材の鏡面部に形成された光透過部と、
前記ミラー部材の外部に露出する露出面側とは反対側に、前記光透過部を通って光を発することができるように配置された発光部と、を備え、
前記光透過部は、それぞれ水平方向に延びると共に鉛直方向に並んで配置された複数の線状透過部を有する、インジケータ。
(2)前記光透過部は、前記複数の線状透過部が全体として一つの閉じた平面図形を構成するように形成される、上記(1)に記載のインジケータ。
(3)前記光透過部は、前記複数の線状透過部が全体として一つの三角形を構成するように形成される、上記(2)に記載のインジケータ。
(4)前記光透過部は、前記複数の線状透過部が全体として、底辺が水平に延びる一つの三角形を構成するように形成される、上記(3)に記載のインジケータ。
(5)前記光透過部は、前記複数の線状透過部のみから構成される、上記(1)~(4)のいずれか1つに記載のインジケータ。
(6)前記発光部は、発光体と、該発光体と前記光透過部との間に配置されたレンズと、を備える、上記(1)~(5)のいずれか1つに記載のインジケータ。
(7)前記発光部の周りに配置されたハウジングを更に備え、
前記ハウジングの内面は鏡面状に形成される、上記(6)に記載のインジケータ。
(8)上記(1)~(7)のいずれか1つに記載のインジケータを有するアウターミラーであって、
前記光透過部は、前記ミラー部材の車幅方向の中心よりも外側において前記鏡面部に形成される、アウターミラー。
【発明の効果】
【0008】
本開示によれば、アウターミラーにおける物体の視認性を高めることができる。
【図面の簡単な説明】
【0009】
図1は、ドアミラーを備えた車両を概略的に示す斜視図である。
図2は、ドアミラーを概略的に示す斜視図である。
図3は、図2の面III-IIIに沿った、ミラー部材の断面図である。
図4は、図2の領域Rを拡大して示した図である。
図5は、図4の線V-Vに沿って見た、インジケータの断面図である。
図6は、車両の機器構成を示す概略的なブロック図である。
図7は、鉛直方向に延びる線状透過部を有する光透過部を拡大して示した、図4と同様な図である。
図8は、図7の線IIX-IIXに沿って見た、インジケータの断面図である。
図9は、図7の線IX-IXに沿って見た、図5と同様なインジケータの断面図である。
図10は、図4の線X-Xに沿って見た、図8と同様なインジケータの断面図である。
図11は、図4の線V-Vに沿って見た、図5と同様なインジケータの断面図である。
図12は、一つの変形例に係るインジケータの光透過部を拡大して示した、図4と同様な図である。
図13は、別の一つの変形例に係るインジケータの光透過部を拡大して示した、図4と同様な図である。
【発明を実施するための形態】
【0010】
以下、図面を参照して実施形態について詳細に説明する。なお、以下の説明では、同様な構成要素には同一の参照番号を付す。
(【0011】以降は省略されています)
この特許をJ-PlatPat(特許庁公式サイト)で参照する
関連特許
トヨタ自動車株式会社
車両
2日前
トヨタ自動車株式会社
電池
4日前
トヨタ自動車株式会社
車両
1日前
トヨタ自動車株式会社
電池
3日前
トヨタ自動車株式会社
ケース
3日前
トヨタ自動車株式会社
加熱器
1日前
トヨタ自動車株式会社
電動車
4日前
トヨタ自動車株式会社
固定子
2日前
トヨタ自動車株式会社
ロボット
4日前
トヨタ自動車株式会社
蓄電装置
3日前
トヨタ自動車株式会社
制御装置
3日前
トヨタ自動車株式会社
路側装置
3日前
トヨタ自動車株式会社
バッテリ
2日前
トヨタ自動車株式会社
バッテリ
2日前
トヨタ自動車株式会社
塗工装置
2日前
トヨタ自動車株式会社
二次電池
2日前
トヨタ自動車株式会社
製造装置
2日前
トヨタ自動車株式会社
監視装置
2日前
トヨタ自動車株式会社
蓄電装置
1日前
トヨタ自動車株式会社
車両構造
1日前
トヨタ自動車株式会社
制御装置
1日前
トヨタ自動車株式会社
車載装置
1日前
トヨタ自動車株式会社
通話装置
1日前
トヨタ自動車株式会社
電池パック
4日前
トヨタ自動車株式会社
三角表示板
1日前
トヨタ自動車株式会社
電池パック
4日前
トヨタ自動車株式会社
ガスタンク
1日前
トヨタ自動車株式会社
電池交換装置
3日前
トヨタ自動車株式会社
情報処理装置
2日前
トヨタ自動車株式会社
電池システム
1日前
トヨタ自動車株式会社
車両制御装置
4日前
トヨタ自動車株式会社
人工筋肉装置
2日前
トヨタ自動車株式会社
被膜形成装置
2日前
トヨタ自動車株式会社
電力制御装置
2日前
トヨタ自動車株式会社
車両前部構造
2日前
トヨタ自動車株式会社
車両前部構造
2日前
続きを見る
他の特許を見る