TOP
|
特許
|
意匠
|
商標
特許ウォッチ
Twitter
他の特許を見る
公開番号
2025150420
公報種別
公開特許公報(A)
公開日
2025-10-09
出願番号
2024051283
出願日
2024-03-27
発明の名称
人工筋肉装置
出願人
トヨタ自動車株式会社
,
協同油脂株式会社
代理人
弁理士法人明成国際特許事務所
主分類
A61F
2/08 20060101AFI20251002BHJP(医学または獣医学;衛生学)
要約
【課題】コンプレッサを用いることなく、人工筋肉を作動できる技術を提供する。
【解決手段】人工筋肉装置は、基油および増ちょう剤を含むグリースを収容した状態で密閉された袋と、袋の外周面を覆う編組スリーブと、編組スリーブの内部と外部との少なくとも一方に配置された電磁石と、を備える。
【選択図】図1
特許請求の範囲
【請求項1】
人工筋肉装置であって、
基油および増ちょう剤を含むグリースを収容した状態で密閉された袋と、
前記袋の外周面を覆う編組スリーブと、
前記編組スリーブの内部と外部との少なくとも一方に配置された電磁石と、を備える、人工筋肉装置。
続きを表示(約 1,300 文字)
【請求項2】
請求項1に記載の人工筋肉装置であって、
前記電磁石は、第1電磁石と第2電磁石とを含み、
前記グリースは、磁性を有さず、
前記第1電磁石と前記第2電磁石とが、予め定められた第1方向に沿って対向するように配置され、
前記袋は、前記第1電磁石と前記第2電磁石との間に配置され、
前記第1電磁石および前記第2電磁石に通電した場合に、前記第1電磁石と前記第2電磁石とが前記第1方向に沿って互いに引き合うことで、前記袋は、前記第1方向に直交する第2方向に沿って膨張しながら前記第1方向に沿って収縮し、
前記第1電磁石および前記第2電磁石への通電を停止した場合に、前記第1電磁石と前記第2電磁石との間に働く引力が消失することで、前記袋は、前記第1方向に沿って弛緩する、人工筋肉装置。
【請求項3】
請求項1に記載の人工筋肉装置であって、さらに、
磁性体を備え、
前記グリースは、磁性を有さず、
前記電磁石と前記磁性体とが、予め定められた第3方向に沿って対向するように配置され、
前記袋は、前記電磁石と前記磁性体との間に配置され、
前記電磁石に通電した場合に、前記電磁石が前記第3方向に沿って前記磁性体を引きつけることで、前記袋は、前記第3方向に直交する第4方向に沿って膨張しながら前記第3方向に沿って収縮し、
前記電磁石への通電を停止した場合に、前記電磁石が前記磁性体を引きつける引力が消失することで、前記袋は、前記第3方向に沿って弛緩する、人工筋肉装置。
【請求項4】
請求項1に記載の人工筋肉装置であって、
前記電磁石は、第1電磁石と第2電磁石とを含み、
前記グリースは、磁性を有し、
前記第1電磁石と前記第2電磁石とが、前記編組スリーブの前記外部において、予め定められた第5方向に沿って対向するように配置され、
前記袋は、前記第1電磁石と前記第2電磁石との間に配置され、
前記第1電磁石および前記第2電磁石に通電した場合に、前記グリースが前記第1電磁石および前記第2電磁石に引きつけられることで、前記袋は、前記第5方向に沿って膨張しながら前記第5方向に直交する第6方向に収縮し、
前記第1電磁石および前記第2電磁石への通電を停止した場合に、前記第1電磁石および前記第2電磁石が前記グリースを引きつける引力が消失することで、前記袋は、前記第6方向に沿って弛緩する、人工筋肉装置。
【請求項5】
請求項1に記載の人工筋肉装置であって、
前記グリースは、磁性を有し、
前記電磁石は、前記編組スリーブの前記外部において、前記袋を囲むように、予め定められた第7方向を中心とする周方向に亘って配置され、
前記電磁石に通電した場合に、前記グリースが前記電磁石に引きつけられることで、前記袋は、前記第7方向に直交する第8方向に沿って膨張しながら前記第7方向に収縮し、
前記電磁石への通電を停止した場合に、前記電磁石が前記グリースを引きつける引力が消失することで、前記袋は、前記第7方向に沿って弛緩する、人工筋肉装置。
発明の詳細な説明
【技術分野】
【0001】
本開示は、人工筋肉装置に関する。
続きを表示(約 3,500 文字)
【背景技術】
【0002】
従来、流体圧式アクチュエータを備える人工筋肉が知られている(特許文献1)。この流体圧式アクチュエータは、チューブと、チューブの外周面を覆うスリーブと、を備える。チューブは、流体を収容し、流体圧によって膨張および収縮する。スリーブは、所定方向に配向されたコードを編み込んだ筒状の構造体であり、チューブの膨張および収縮を規制しつつ追従する。この技術では、流体としての液体がチューブに流出入するときに生じる液圧と、流体としての空気がチューブに流出入するときに生じる空気圧と、の少なくともいずれかによって、流体圧式アクチュエータを作動させている。
【先行技術文献】
【特許文献】
【0003】
特開2021-76167号公報
【発明の概要】
【発明が解決しようとする課題】
【0004】
従来の技術では、液圧や空気圧を発生させるために、コンプレッサが必要となる。
【課題を解決するための手段】
【0005】
本開示は、以下の形態として実現することが可能である。
【0006】
(1)本開示の第1形態によれば、人工筋肉装置が提供される。人工筋肉装置は、基油および増ちょう剤を含むグリースを収容した状態で密閉された袋と、前記袋の外周面を覆う編組スリーブと、前記編組スリーブの内部と外部との少なくとも一方に配置された電磁石と、を備える。この形態によれば、人工筋肉装置は、コンプレッサを用いることなく、磁力を利用して、人工筋肉として作動させることができる。
(2)上記形態であって、前記電磁石は、第1電磁石と第2電磁石とを含み、前記グリースは、磁性を有さず、前記第1電磁石と前記第2電磁石とが、予め定められた第1方向に沿って対向するように配置され、前記袋は、前記第1電磁石と前記第2電磁石との間に配置され、前記第1電磁石および前記第2電磁石に通電した場合に、前記第1電磁石と前記第2電磁石とが前記第1方向に沿って互いに引き合うことで、前記袋は、前記第1方向に直交する第2方向に沿って膨張しながら前記第1方向に沿って収縮し、前記第1電磁石および前記第2電磁石への通電を停止した場合に、前記第1電磁石と前記第2電磁石との間に働く引力が消失することで、前記袋は、前記第1方向に沿って弛緩する構成であってもよい。この形態によれば、人工筋肉装置は、磁力を利用して、第1電磁石および第2電磁石を移動させることで、袋を物理的に押圧したり弛緩させたりすることができる。これにより、人工筋肉装置は、袋に収容されたグリースを流動させて、袋および編組スリーブを変形させることで、人工筋肉として作動させることができる。
(3)上記形態であって、さらに、磁性体を備え、前記グリースは、磁性を有さず、前記電磁石と前記磁性体とが、予め定められた第3方向に沿って対向するように配置され、前記袋は、前記電磁石と前記磁性体との間に配置され、前記電磁石に通電した場合に、前記電磁石が前記第3方向に沿って前記磁性体を引きつけることで、前記袋は、前記第3方向に直交する第4方向に沿って膨張しながら前記第3方向に沿って収縮し、前記電磁石への通電を停止した場合に、前記電磁石が前記磁性体を引きつける引力が消失することで、前記袋は、前記第3方向に沿って弛緩する構成であってもよい。この形態によれば、人工筋肉装置は、磁力を利用して、電磁石に磁性体を引きつけることで、袋を物理的に押圧したり弛緩させたりすることができる。これにより、人工筋肉装置は、袋に収容されたグリースを流動させて、袋および編組スリーブ変形させることで、人工筋肉として作動させることができる。
(4)上記形態であって、前記電磁石は、第1電磁石と第2電磁石とを含み、前記グリースは、磁性を有し、前記第1電磁石と前記第2電磁石とが、前記編組スリーブの前記外部において、予め定められた第5方向に沿って対向するように配置され、前記袋は、前記第1電磁石と前記第2電磁石との間に配置され、前記第1電磁石および前記第2電磁石に通電した場合に、前記グリースが前記第1電磁石および前記第2電磁石に引きつけられることで、前記袋は、前記第5方向に沿って膨張しながら前記第5方向に直交する第6方向に収縮し、前記第1電磁石および前記第2電磁石への通電を停止した場合に、前記第1電磁石および前記第2電磁石が前記グリースを引きつける引力が消失することで、前記袋は、前記第6方向に沿って弛緩する構成であってもよい。この形態によれば、人工筋肉装置は、袋を挟みこむように対向する位置に配置された一対の電磁石に通電することで生じさせた磁力により、電磁石にグリースを引きつけることができる。これにより、人工筋肉装置は、袋に収容されたグリースを流動させて、袋および編組スリーブを変形させることで、人工筋肉として作動させることができる。
(5)上記形態であって、前記グリースは、磁性を有し、前記電磁石は、前記編組スリーブの前記外部において、前記袋を囲むように、予め定められた第7方向を中心とする周方向に亘って配置され、前記電磁石に通電した場合に、前記グリースが前記電磁石に引きつけられることで、前記袋は、前記第7方向に直交する第8方向に沿って膨張しながら前記第7方向に収縮し、前記電磁石への通電を停止した場合に、前記電磁石が前記グリースを引きつける引力が消失することで、前記袋は、前記第7方向に沿って弛緩する構成であってもよい。この形態によれば、人工筋肉装置は、袋を囲むように配置された1つの電磁石に通電することで生じさせた磁力により、電磁石にグリースを引きつけることができる。これにより、人工筋肉装置は、袋に収容されたグリースを流動させて、袋および編組スリーブを変形させることで、人工筋肉として作動させることができる。
本開示は、上記の人工筋肉装置以外の種々の形態で実現することが可能である。例えば、人工筋肉装置の製造方法、人工筋肉装置の制御方法、その制御方法を実現するコンピュータプログラム、そのコンピュータプログラムを記録した一時的でない記録媒体等の形態で実現することができる。
【図面の簡単な説明】
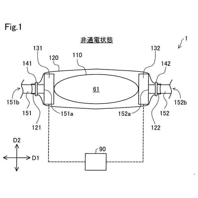
【0007】
第1実施形態における人工筋肉装置の構成を示す第1図。
第1実施形態における人工筋肉装置の構成を示す第2図。
第2実施形態における人工筋肉装置の構成を示す図。
第3実施形態における人工筋肉装置の構成を示す第1図。
第3実施形態における人工筋肉装置の構成を示す第2図。
第4実施形態における人工筋肉装置の構成を示す図。
【発明を実施するための形態】
【0008】
A.第1実施形態:
図1は、第1実施形態における人工筋肉装置1の構成を示す第1図である。図2は、第1実施形態における人工筋肉装置1の構成を示す第2図である。人工筋肉装置1は、袋110と、編組スリーブ120と、第1電磁石131と、第2電磁石132と、を備える。さらに、人工筋肉装置1は、第1固定部材141と、第2固定部材142と、第1軸部151と、第2軸部152と、を備える。図1では、電磁石131,132に通電していない非通電状態における人工筋肉装置1の構成を図示している。図2では、電磁石131,132に通電している通電状態における人工筋肉装置1の構成を図示している。
【0009】
袋110は、グリース61を収容した状態で密閉されている。袋110は、グリース61の流動に応じて変形する。袋110は、伸縮性を有していてもよく、伸縮性を有していなくてもよい。本実施形態では、袋110は、固定されることなく、編組スリーブ120の内部において、第1電磁石131と第2電磁石132との間に配置されている。他の実施形態では、袋110は、軸部151,152などの任意の部材に固定されていてもよい。
【0010】
グリース61は、日本産業規格(JIS K 2220)に規定された粘性流体組成物である。本実施形態では、グリース61は、磁性粉体を含むことなく、基油および増ちょう剤を含む。つまり、本実施形態のグリース61は、磁性を有さない。グリース61は、酸化防止剤などの他の成分を含んでもよい。
(【0011】以降は省略されています)
この特許をJ-PlatPat(特許庁公式サイト)で参照する
関連特許
トヨタ自動車株式会社
車両
11日前
トヨタ自動車株式会社
方法
18日前
トヨタ自動車株式会社
方法
4日前
トヨタ自動車株式会社
車両
13日前
トヨタ自動車株式会社
治具
12日前
トヨタ自動車株式会社
車両
17日前
トヨタ自動車株式会社
車両
11日前
トヨタ自動車株式会社
車両
5日前
トヨタ自動車株式会社
電池
17日前
トヨタ自動車株式会社
方法
18日前
トヨタ自動車株式会社
電池
5日前
トヨタ自動車株式会社
車両
18日前
トヨタ自動車株式会社
車両
4日前
トヨタ自動車株式会社
車両
4日前
トヨタ自動車株式会社
車体
4日前
トヨタ自動車株式会社
車両
19日前
トヨタ自動車株式会社
方法
19日前
トヨタ自動車株式会社
車体
20日前
トヨタ自動車株式会社
方法
17日前
トヨタ自動車株式会社
モータ
3日前
トヨタ自動車株式会社
モータ
19日前
トヨタ自動車株式会社
サーバ
14日前
トヨタ自動車株式会社
モータ
14日前
トヨタ自動車株式会社
蓄電池
4日前
トヨタ自動車株式会社
自動車
18日前
トヨタ自動車株式会社
正極層
17日前
トヨタ自動車株式会社
電動機
17日前
トヨタ自動車株式会社
蓄電装置
17日前
トヨタ自動車株式会社
電動車両
4日前
トヨタ自動車株式会社
樹脂外板
4日前
トヨタ自動車株式会社
蓄電装置
18日前
トヨタ自動車株式会社
充電装置
19日前
トヨタ自動車株式会社
蓄電装置
20日前
トヨタ自動車株式会社
コネクタ
18日前
トヨタ自動車株式会社
濾過装置
5日前
トヨタ自動車株式会社
駆動装置
18日前
続きを見る
他の特許を見る