TOP
|
特許
|
意匠
|
商標
特許ウォッチ
Twitter
他の特許を見る
公開番号
2025147623
公報種別
公開特許公報(A)
公開日
2025-10-07
出願番号
2024047965
出願日
2024-03-25
発明の名称
電池パック
出願人
トヨタ自動車株式会社
代理人
弁理士法人太陽国際特許事務所
主分類
H01M
50/204 20210101AFI20250930BHJP(基本的電気素子)
要約
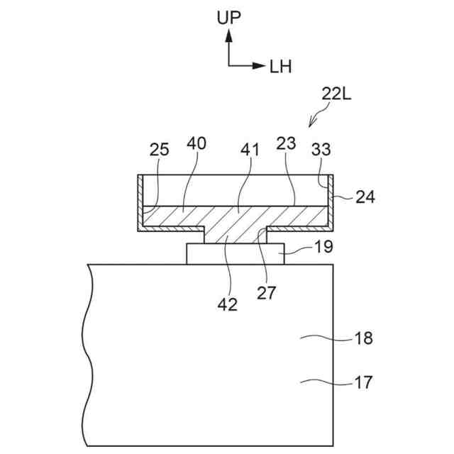
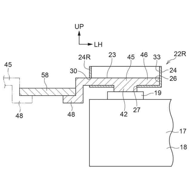
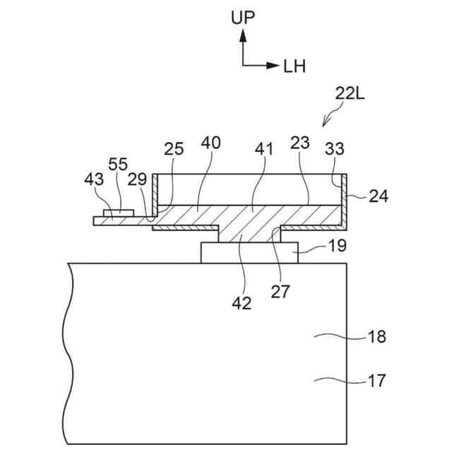
【課題】バスバーの上方にある水分が、隣り合うバスバーの間に形成された隙間を下方に通り抜けて電池セルの端子側へ流れるのを防止可能できる電池パックを提供する。
【解決手段】所定方向に積層された複数の電池セル17を有する電池スタック15と、隣り合う2つの電池セルの上面に設けられた端子同士を接続する、この上面の上方に位置し且つ各々導電性を有する複数のバスバー40、45と、複数のバスバーを収納し、隣り合うバスバーの間の隙間を埋める隙間閉鎖部31を備え、且つ絶縁性を有するカバー部材22L、22Rと、電池スタック、バスバー、及びカバー部材を収納する電池ケースと、を備える。
【選択図】図3
特許請求の範囲
【請求項1】
所定方向に積層された複数の電池セルを有する電池スタックと、
隣り合う2つの前記電池セルの上面に設けられた端子同士を接続すると共に、前記上面の上方に位置し且つ各々導電性を有する複数のバスバーと、
複数の前記バスバーを収納し、隣り合う前記バスバーの間の隙間を埋める隙間閉鎖部を備え、且つ絶縁性を有するカバー部材と、
前記電池スタック、前記バスバー、及び前記カバー部材を収納する電池ケースと、
を備える電池パック。
続きを表示(約 510 文字)
【請求項2】
前記カバー部材が、
複数の前記バスバーをそれぞれ収納する複数のバスバー収納部と、
隣り合う前記バスバー収納部の間に形成された少なくとも1個の前記隙間閉鎖部と、
前記バスバー収納部及び前記隙間閉鎖部の直上に位置し、前記バスバーに接触する冷却部材を収納する冷却部材収納部と、
を備える請求項1に記載の電池パック。
【請求項3】
前記カバー部材が、平面視において自身の内周側に前記バスバーを位置させる環状外周壁を備え、
前記バスバーが、前記環状外周壁の一部を液密状態で貫通し且つ導電性を有する突片を備える請求項1又は請求項2に記載の電池パック。
【請求項4】
前記カバー部材が、前記バスバーに対して下方から対向する底壁を備え、
前記バスバーが、前記底壁の一部を液密状態で貫通し且つ前記端子と電気的に接続する端子接続部を有する請求項1又は請求項2に記載の電池パック。
【請求項5】
前記カバー部材が樹脂製であり、
前記カバー部材が複数の前記バスバーに一体的に設けられた請求項3に記載の電池パック。
発明の詳細な説明
【技術分野】
【0001】
本発明は、電池パックに関する。
続きを表示(約 1,500 文字)
【背景技術】
【0002】
下記特許文献1には、所定方向に積層された複数の電池セルを有する電池スタックと、隣り合う2つの電池セルの上面に設けられた端子同士を接続し且つ電池セルの上方に位置する複数の導電性を有するバスバーと、を備える電池ユニットが開示されている。
【先行技術文献】
【特許文献】
【0003】
特開2013-054940号公報
【発明の概要】
【発明が解決しようとする課題】
【0004】
上記特許文献1の電池ユニットでは、例えばバスバーの上方において発生した結露に含まれる水分が、隣り合うバスバーの間に形成された隙間を下方に通り抜けて、バスバーの直下に位置する電池セルに付着するおそれがある。この場合、この水分が隣接する電池セルの端子同士を短絡させるおそれがある。
【0005】
本発明は上記事実を考慮し、バスバーの上方にある水分が、隣り合うバスバーの間に形成された隙間を下方に通り抜けて電池セルの端子側へ流れるのを防止可能な電池パックを得ることを目的とする。
【課題を解決するための手段】
【0006】
第1態様の電池パックは、所定方向に積層された複数の電池セルを有する電池スタックと、隣り合う2つの前記電池セルの上面に設けられた端子同士を接続すると共に、前記上面の上方に位置し且つ各々導電性を有する複数のバスバーと、複数の前記バスバーを収納し、隣り合う前記バスバーの間の隙間を埋める隙間閉鎖部を備え、且つ絶縁性を有するカバー部材と、前記電池スタック、前記バスバー、及び前記カバー部材を収納する電池ケースと、
を備える。
【0007】
第1態様の電池パックは、所定方向に積層された複数の電池セルを有する電池スタックと、隣り合う2つの電池セルの上面に設けられた端子同士を接続する、電池セルの上面の上方に位置し且つ各々導電性を有する複数のバスバーと、複数のバスバーを収納する絶縁性を有するカバー部材と、を備える。さらにカバー部材が、隣り合うバスバーの間の隙間を埋める隙間閉鎖部を備える。そのため、バスバーの上方にある水分が、隣り合うバスバーの間に形成された隙間を下方に通り抜けて電池セルの端子側へ流れることを、隙間閉鎖部が防止可能である。
【0008】
第2態様の電池パックは、第1態様において、前記カバー部材が、複数の前記バスバーをそれぞれ収納する複数のバスバー収納部と、隣り合う前記バスバー収納部の間に形成された少なくとも1個の前記隙間閉鎖部と、前記バスバー収納部及び前記隙間閉鎖部の直上に位置し、前記バスバーに接触する冷却部材を収納する冷却部材収納部と、を備える。
【0009】
第2態様の電池パックでは、カバー部材の冷却部材収納部に収納された冷却部材によってバスバーが冷却される。また、冷却部材の周辺で結露が生じた場合に、結露水がバスバー収納部及び隙間閉鎖部へ流れ落ちることがある。しかしカバー部材が、隣り合うバスバーの間の隙間を埋める隙間閉鎖部を備えるため、結露水が隣り合うバスバーの間に形成された隙間を下方に通り抜けて電池セルの端子側へ流れることを隙間閉鎖部が防止可能である。
【0010】
第3態様の電池パックは、第1態様又は第2態様において、前記カバー部材が、平面視において自身の内周側に前記バスバーを位置させる環状外周壁を備え、前記バスバーが、前記環状外周壁の一部を液密状態で貫通し且つ導電性を有する突片を備える。
(【0011】以降は省略されています)
この特許をJ-PlatPat(特許庁公式サイト)で参照する
関連特許
トヨタ自動車株式会社
車体
3日前
トヨタ自動車株式会社
車両
10日前
トヨタ自動車株式会社
車両
3日前
トヨタ自動車株式会社
方法
3日前
トヨタ自動車株式会社
方法
16日前
トヨタ自動車株式会社
車両
3日前
トヨタ自動車株式会社
電池
4日前
トヨタ自動車株式会社
車両
10日前
トヨタ自動車株式会社
車両
12日前
トヨタ自動車株式会社
治具
11日前
トヨタ自動車株式会社
車両
4日前
トヨタ自動車株式会社
モータ
2日前
トヨタ自動車株式会社
サーバ
13日前
トヨタ自動車株式会社
モータ
13日前
トヨタ自動車株式会社
蓄電池
3日前
トヨタ自動車株式会社
路側装置
2日前
トヨタ自動車株式会社
電池装置
12日前
トヨタ自動車株式会社
制御装置
2日前
トヨタ自動車株式会社
電動車両
2日前
トヨタ自動車株式会社
推定装置
2日前
トヨタ自動車株式会社
蓄電装置
10日前
トヨタ自動車株式会社
蓄電装置
10日前
トヨタ自動車株式会社
電源装置
11日前
トヨタ自動車株式会社
樹脂外板
3日前
トヨタ自動車株式会社
路側装置
2日前
トヨタ自動車株式会社
路側装置
2日前
トヨタ自動車株式会社
電動車両
2日前
トヨタ自動車株式会社
路側装置
2日前
トヨタ自動車株式会社
鋳造装置
2日前
トヨタ自動車株式会社
蓄電装置
2日前
トヨタ自動車株式会社
路側装置
16日前
トヨタ自動車株式会社
蓄電装置
11日前
トヨタ自動車株式会社
蓄電装置
10日前
トヨタ自動車株式会社
電動車両
3日前
トヨタ自動車株式会社
蓄電装置
13日前
トヨタ自動車株式会社
制御装置
13日前
続きを見る
他の特許を見る