TOP
|
特許
|
意匠
|
商標
特許ウォッチ
Twitter
他の特許を見る
公開番号
2025151192
公報種別
公開特許公報(A)
公開日
2025-10-09
出願番号
2024052494
出願日
2024-03-27
発明の名称
車両前部構造
出願人
トヨタ自動車株式会社
代理人
弁理士法人太陽国際特許事務所
主分類
B62D
25/08 20060101AFI20251002BHJP(鉄道以外の路面車両)
要約
【課題】部材のコスト及び車体の質量の増加を抑制するとともに車両の微小ラップ衝突時に車両を衝突体から効率よく逃がすことができる車両前部構造を得る。
【解決手段】車両前部構造10は車両幅方向の両側部に設けられ、車両前後方向に延在する一対のフロントサイドメンバ16と、車両幅方向に沿って延在し、車両幅方向外側の端部がフロントサイドメンバ16の車両前方側の端部を越えて車両幅方向外側へ張り出した状態で接続されたバンパリインフォースメント80と、一対のフロントサイドメンバ16の間に設けられ、バンパリインフォースメント80の車両幅方向外側の端部が車両前方側からの衝突荷重の入力により曲げ変形した状態で、当該端部と車両幅方向に重なるように配置されたラジエータ30と、を備える。
【選択図】図3
特許請求の範囲
【請求項1】
車両前部における車両幅方向の両側部に設けられ、車両前後方向に延在する一対の骨格部と、
車両幅方向に沿って延在し、車両幅方向外側の端部が前記骨格部の車両前方側の端部を越えて車両幅方向外側へ張り出した状態で接続されたバンパリインフォースメントと、
一対の前記骨格部の間に設けられ、前記バンパリインフォースメントの車両幅方向外側の端部が車両前方側からの衝突荷重の入力により曲げ変形した状態で、当該端部と車両幅方向に重なるように配置された熱交換器と、
を備える車両前部構造。
続きを表示(約 500 文字)
【請求項2】
前記バンパリインフォースメントの車両幅方向外側の端部には、車両後方側かつ車両幅方向内側に向けて突出した突出部が設けられている、
請求項1に記載の車両前部構造。
【請求項3】
前記骨格部において、前記バンパリインフォースメントの車両幅方向の端部が曲げ変形した状態で、当該端部と前記熱交換器との間に配置される領域には、他の領域よりも剛性が高い高剛性部が設けられている、
請求項1又は請求項2に記載の車両前部構造。
【請求項4】
前記骨格部の車両前方側の端部には、前記骨格部から車両前方側へ延出されたクラッシュボックスが設けられており、
前記高剛性部は、前記骨格部の車両前方側の端部と前記クラッシュボックスとの接合部とされている、
請求項3に記載の車両前部構造。
【請求項5】
一対の前記骨格部には、サスペンションメンバが車両下方側から支持されており、
前記高剛性部は、前記骨格部の車両前方側の端部と前記サスペンションメンバとの接合部とされている、
請求項3に記載の車両前部構造。
発明の詳細な説明
【技術分野】
【0001】
本発明は、車両前部構造に関する。
続きを表示(約 1,500 文字)
【背景技術】
【0002】
特許文献1には、一対のフロントサイドメンバを車両幅方向に連結する連結部材を備え、微小ラップ衝突時にバンパリインフォースメントから車両幅方向に入力される荷重を当該連結部材に伝達することで車両幅方向の曲げ剛性による反力を作用させる構造が開示されている。
【先行技術文献】
【特許文献】
【0003】
特開2013-233820号公報
【発明の概要】
【発明が解決しようとする課題】
【0004】
しかしながら、上記特許文献1に記載された技術のように、一対のフロントサイドメンバの間に微小ラップ衝突に対応した専用の連結部材を設けると、部材のコスト及び車体の質量が増加する。
【0005】
本発明は上記事実を考慮し、部材のコスト及び車体の質量の増加を抑制するとともに車両の微小ラップ衝突時に車両を衝突体から効率よく逃がすことができる車両前部構造を得ることを目的とする。
【課題を解決するための手段】
【0006】
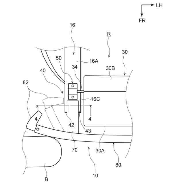
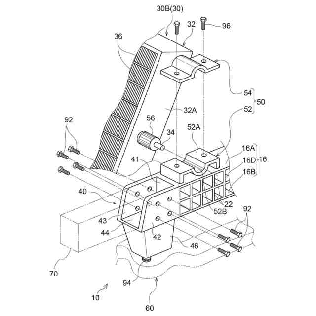
請求項1に記載の車両前部構造は、車両前部における車両幅方向の両側部に設けられ、車両前後方向に延在する一対の骨格部と、車両幅方向に沿って延在し、車両幅方向外側の端部が前記骨格部の車両前方側の端部を越えて車両幅方向外側へ張り出した状態で接続されたバンパリインフォースメントと、一対の前記骨格部の間に設けられ、前記バンパリインフォースメントの車両幅方向外側の端部が車両前方側からの衝突荷重の入力により曲げ変形した状態で、当該端部と車両幅方向に重なるように配置された熱交換器と、を備える。
【0007】
請求項1に記載の車両前部構造では、車両前後方向に延びる一対の骨格部の車両前方側の端部にバンパリインフォースメントが接続されている。このバンパリインフォースメントは、車両幅方向に沿って延在し、車両幅方向外側の端部が骨格部の車両前方側の端部を越えて車両幅方向外側へ張り出した状態で接続されている。
【0008】
ここで、一対の骨格部の間には、熱交換器が設けられており、熱交換器は、バンパリインフォースメントの車両幅方向外側の端部が車両前方側からの衝突荷重の入力により曲げ変形した状態で、当該端部と車両幅方向に重なるように配置されている。
【0009】
このため、車両が衝突体と微小ラップ衝突する際に、主として車両後方への衝突荷重がバンパリインフォースメントの車両幅方向の端部に入力されると、バンパリインフォースメントの車両幅方向の端部が車両幅方向内側へ曲げ変形して一方のフロントサイドメンバに当接する。そして、衝突荷重の車両幅方向内側への分力が、一方のフロントサイドメンバから熱交換器を介して他方のフロントサイドメンバに伝達される。その結果、熱交換器の曲げ剛性を利用してフロントサイドメンバとバンパリインフォースメントとの当接部位に反力が発生し、反衝突側(車両幅方向内側)への横力が車両前部に作用する。これにより、車両の微小ラップ衝突時に車両を衝突体から効率よく逃がすことができる。また、車両前部に搭載される部材として知られる熱交換器の曲げ剛性を利用することにより、微小ラップ衝突に対応した専用の連結部材を追加する必要がない。このため、部材のコスト及び車体の質量の増加を抑制することができる。
【0010】
請求項2に記載の車両前部構造は、請求項1に記載の構成において、前記バンパリインフォースメントの車両幅方向外側の端部には、車両後方側かつ車両幅方向内側に向けて突出した突出部が設けられている。
(【0011】以降は省略されています)
この特許をJ-PlatPat(特許庁公式サイト)で参照する
関連特許
トヨタ自動車株式会社
電池
3日前
トヨタ自動車株式会社
電池
4日前
トヨタ自動車株式会社
車両
2日前
トヨタ自動車株式会社
車両
8日前
トヨタ自動車株式会社
車両
1日前
トヨタ自動車株式会社
車両
8日前
トヨタ自動車株式会社
電動車
8日前
トヨタ自動車株式会社
電動車
8日前
トヨタ自動車株式会社
固定子
2日前
トヨタ自動車株式会社
ケース
3日前
トヨタ自動車株式会社
電解液
8日前
トヨタ自動車株式会社
電動車
8日前
トヨタ自動車株式会社
加熱器
1日前
トヨタ自動車株式会社
回転子
8日前
トヨタ自動車株式会社
電動車
4日前
トヨタ自動車株式会社
路側装置
3日前
トヨタ自動車株式会社
制御装置
3日前
トヨタ自動車株式会社
バッテリ
2日前
トヨタ自動車株式会社
蓄電装置
3日前
トヨタ自動車株式会社
バッテリ
2日前
トヨタ自動車株式会社
塗工装置
2日前
トヨタ自動車株式会社
二次電池
2日前
トヨタ自動車株式会社
製造装置
2日前
トヨタ自動車株式会社
車両構造
1日前
トヨタ自動車株式会社
ロボット
4日前
トヨタ自動車株式会社
蓄電セル
8日前
トヨタ自動車株式会社
切断装置
8日前
トヨタ自動車株式会社
電源装置
8日前
トヨタ自動車株式会社
蓄電装置
8日前
トヨタ自動車株式会社
駆動装置
8日前
トヨタ自動車株式会社
制御装置
8日前
トヨタ自動車株式会社
電動車両
8日前
トヨタ自動車株式会社
蓄電装置
9日前
トヨタ自動車株式会社
蓄電装置
9日前
トヨタ自動車株式会社
育苗装置
9日前
トヨタ自動車株式会社
塗布装置
10日前
続きを見る
他の特許を見る