TOP
|
特許
|
意匠
|
商標
特許ウォッチ
Twitter
他の特許を見る
公開番号
2025152798
公報種別
公開特許公報(A)
公開日
2025-10-10
出願番号
2024054885
出願日
2024-03-28
発明の名称
カイトの離着陸用ガイド装置
出願人
トヨタ自動車株式会社
代理人
個人
,
個人
,
個人
主分類
B64U
10/50 20230101AFI20251002BHJP(航空機;飛行;宇宙工学)
要約
【課題】カイトを利用するシステムを構成する浮体側ユニットにおいて、カイトの着陸、格納、離陸などを円滑に行えるようにカイトやテザーをガイドする。
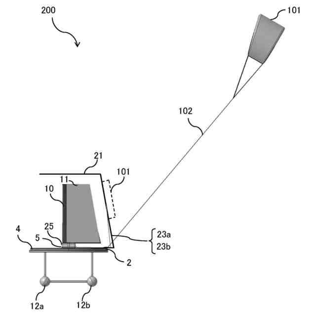
【解決手段】離着陸用ガイド装置(1)は、テザー(102)を繰出し/繰入れするためのウインチ(5)及びセイル(11)を有する浮体側ユニット(100)に配置される。離着陸用ガイド装置は、テザーの繰出し/繰入れの位置を、テザー及びカイト(101)がセイルに干渉しない位置に規定する位置規定部(2)と、テザーが巻き取られた際にカイトを固定可能であり、テザーを繰出し/繰入れする際に、カイト及びテザーをガイドする離着陸用ガイド部(3a、3b)とを備える。
【選択図】図1
特許請求の範囲
【請求項1】
カイトが付けられたテザーを繰出し/繰入れするためのウインチ及びセイルを有する浮体側ユニットに配置されるカイトの離着陸用ガイド装置であって、
前記テザーの繰出し/繰入れの位置を、前記テザー及び前記カイトが前記浮体側ユニットの少なくとも前記セイルに干渉しない位置に規定する位置規定部と、
当接部を有し、前記ウインチで前記テザーが巻き取られた際に、前記ウインチから前記テザーを介して受ける張力によって、前記当接部で前記カイトと当接することで、前記カイトを固定可能であり、前記位置規定部を介して前記テザーを繰出し/繰入れする際に、前記当接部の脇又は間の空間を前記テザーが通るように、前記カイト及び前記テザーをガイドする離着陸用ガイド部と
を備えることを特徴とするカイトの離着陸用ガイド装置。
続きを表示(約 640 文字)
【請求項2】
前記離着陸用ガイド部は、
前記当接部として、前記位置規定部の両脇に設けられた一対のアームを有し、
前記一対のアームで当接することで、前記テザーが巻き取られた際に、前記カイトを離着陸用の所定姿勢で保持し、
前記テザーを繰出し/繰入れする際に、前記テザーを前記一対のアームの間を通すことで、前記カイト及び前記テザーをガイドする
ことを特徴とする請求項1記載のカイトの離着陸用ガイド装置。
【請求項3】
前記位置規定部及び前記離着陸用ガイド部を、平面視して前記セイルが回動することで前記セイルが存在する可能性が有る干渉領域の外周に沿って、移動可能に保持する移動ガイド部を更に備えることを特徴とする請求項1又は2記載の離着陸用ガイド装置。
【請求項4】
前記移動ガイド部は、前記外周に沿って敷設された周回軌道を持つガイドレールを有し、
前記位置規定部は、前記ガイドレールに沿って移動可能に取り付けられた移動式プーリを有し、
前記離着陸用ガイド部は、前記ガイドレールに沿って前記位置規定部と一体的に移動可能に取り付けられている
ことを特徴とする請求項3記載のカイトの離着陸用ガイド装置。
【請求項5】
前記離着陸用ガイド部は、前記セイルを側方及び上方から部分的に囲う形状を有することを特徴とする請求項1から4のいずれか一項に記載のカイトの離着陸用ガイド装置。
発明の詳細な説明
【技術分野】
【0001】
本発明は、例えば、ヨット等の浮体側ユニットからカイトを飛ばす、テザー型風力発電システム、観測システム、運搬システム、通信システム等の各種システムを構成する、浮体側ユニットにおいて、カイトの着陸若しくは回収、格納若しくは固定、又は離陸を円滑に行えるように、カイトやテザーをガイドする離着陸用ガイド装置に関する。
続きを表示(約 1,600 文字)
【背景技術】
【0002】
この種の浮体側ユニット或いは洋上ユニットとして、船尾からカイトを上げるセイル付き船が各種提案されている(特許文献1参照)。これらの技術によれば、セイルより後方の船上から、カイトを後方に向かって上げることで、陸上で上げるのと同じ要領でカイトを離着陸させることが想定される。
【先行技術文献】
【特許文献】
【0003】
特開2018-151113号公報
【発明の概要】
【発明が解決しようとする課題】
【0004】
しかしながら、上述の背景技術によれば、例えば強風や防風の際にカイトを一時的に退避或いは緊急着陸させたい場合等に、空中で暴れるカイトやテザーがセイル等に絡まったりぶつかったりしないように位置或いは軌道、更に空中姿勢の制御を行いしつつ、カイトの着陸或いは離着陸を行うことは困難極まりないという技術的問題点がある。
【0005】
本発明は、例えば各種のカイトを利用するシステムを構成する、ヨット等の浮体側ユニットにおいて、カイトの着陸若しくは回収、格納若しくは固定、又は離陸を円滑に行えるようにカイトやテザーをガイドする、カイトの離着陸用ガイド装置を提供することを課題とする。
【課題を解決するための手段】
【0006】
本発明に係るカイトの離着陸用ガイド装置の一の態様は上記課題を解決するために、カイトが付けられたテザーを繰出し/繰入れするためのウインチ及びセイルを有する浮体側ユニットに配置されるカイトの離着陸用ガイド装置であって、前記テザーの繰出し/繰入れの位置を、前記テザー及び前記カイトが前記浮体側ユニットの少なくとも前記セイルに干渉しない位置に規定する位置規定部と、当接部を有し、前記ウインチで前記テザーが巻き取られた際に、前記ウインチから前記テザーを介して受ける張力によって、前記当接部で前記カイトと当接することで、前記カイトを固定可能であり、前記位置規定部を介して前記テザーを繰出し/繰入れする際に、前記当接部の脇又は間の空間を前記テザーが通るように、前記カイト及び前記テザーをガイドする離着陸用ガイド部とを備える。
【発明の効果】
【0007】
本発明に係る一の態様に記載の離着陸用ガイド装置によれば、カイトを着陸させる際に、ウインチにより高速でテザーを巻取っても、テザーやカイトがセイルに絡まったりぶつかったりしないようにできる。カイトは、その着陸後には、テザーがピンと張った状態で、当接部に当接されることで、浮体側ユニット上で固定される。更に、次回の離陸についても、カイトが離着陸用ガイド装置に固定された所定姿勢を初期状態としてカイトを揚げるようにできるので、比較的簡単に実行できる。
【0008】
本発明によるこのような作用効果は、以下に説明する発明の実施形態により、より明らかにされる。
【図面の簡単な説明】
【0009】
第1実施形態に係る浮体側ユニットに設けられたカイトの離着陸用ガイド装置の全体構成を、それらの主要部と共に示す図式的側面図である。
第1実施形態の図式的平面図である。
第2実施形態に係る浮体側ユニットに設けられたカイトの離着陸用ガイド装置の全体構成を、それらの主要部と共に示す図式的平面図である。
第2実施形態に係るカイトの離着陸用ガイド装置を、カイト及びテザーと共に示す図式的側面図である。
【発明を実施するための形態】
【0010】
先ず、図1及び図2を参照して、第1実施形態に係る浮体側ユニットに設けられたカイトの離着陸用ガイド装置について説明する。本実施形態では、例えばヨット等の浮体側ユニット或いは洋上ユニットが、そこから揚げられるカイトを含むカイト側ユニットと共に、テザー型風力発電システムを構築している。
(【0011】以降は省略されています)
この特許をJ-PlatPat(特許庁公式サイト)で参照する
関連特許
トヨタ自動車株式会社
車両
9日前
トヨタ自動車株式会社
電池
1日前
トヨタ自動車株式会社
治具
17日前
トヨタ自動車株式会社
方法
9日前
トヨタ自動車株式会社
車体
9日前
トヨタ自動車株式会社
車両
9日前
トヨタ自動車株式会社
電池
10日前
トヨタ自動車株式会社
車両
16日前
トヨタ自動車株式会社
車両
16日前
トヨタ自動車株式会社
車両
10日前
トヨタ自動車株式会社
蓄電池
9日前
トヨタ自動車株式会社
モータ
8日前
トヨタ自動車株式会社
蓄電装置
16日前
トヨタ自動車株式会社
電動車両
8日前
トヨタ自動車株式会社
蓄電装置
8日前
トヨタ自動車株式会社
監視装置
1日前
トヨタ自動車株式会社
蓄電装置
16日前
トヨタ自動車株式会社
樹脂外板
9日前
トヨタ自動車株式会社
電動車両
9日前
トヨタ自動車株式会社
電動車両
8日前
トヨタ自動車株式会社
濾過装置
10日前
トヨタ自動車株式会社
電源装置
17日前
トヨタ自動車株式会社
蓄電装置
17日前
トヨタ自動車株式会社
路側装置
8日前
トヨタ自動車株式会社
蓄電装置
16日前
トヨタ自動車株式会社
制御装置
8日前
トヨタ自動車株式会社
路側装置
8日前
トヨタ自動車株式会社
推定装置
8日前
トヨタ自動車株式会社
蓄電セル
3日前
トヨタ自動車株式会社
路側装置
8日前
トヨタ自動車株式会社
製造設備
1日前
トヨタ自動車株式会社
路側装置
8日前
トヨタ自動車株式会社
制御装置
8日前
トヨタ自動車株式会社
鋳造装置
8日前
トヨタ自動車株式会社
電池パック
9日前
トヨタ自動車株式会社
サーバ装置
16日前
続きを見る
他の特許を見る