TOP
|
特許
|
意匠
|
商標
特許ウォッチ
Twitter
他の特許を見る
公開番号
2025166585
公報種別
公開特許公報(A)
公開日
2025-11-06
出願番号
2024070706
出願日
2024-04-24
発明の名称
電池パック
出願人
トヨタ自動車株式会社
代理人
弁理士法人太陽国際特許事務所
主分類
H01M
50/298 20210101AFI20251029BHJP(基本的電気素子)
要約
【課題】互いに隣り合う電池スタック同士の間の隙間に電池スタックと接続される装置が配置される構成においてサブワイヤーハーネスを追加しなくても前記装置と電池スタックとの接続を容易にすることが可能な電池パックを得る。
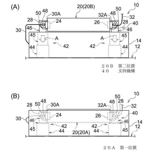
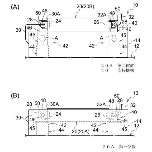
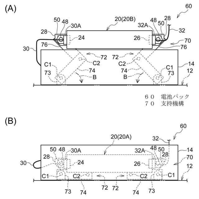
【解決手段】ケース12内において互いに隣り合う電池スタック14同士の間の隙間には監視ユニット20が配置され(図2(B)参照)、この監視ユニット20の第一接続部24は、電池スタック14から延出された第一ワイヤーハーネス30のコネクタ30Aと接続される。ここで、監視ユニット20は支持機構40によって支持され、支持機構40は、監視ユニット20が搭載される位置である第一位置20A(図2(B)参照)と、少なくとも第一接続部24の一部が電池スタック14同士の間の隙間の外に配置される第二位置20B(図2(A)参照)と、の間で監視ユニット20が移動できるように構成されている。
【選択図】図2
特許請求の範囲
【請求項1】
ケースと、
前記ケース内に取り付けられ、隙間をあけて並べられた複数の電池スタックと、
前記ケース内の前記隙間に配置され、前記電池スタックから延出されたワイヤーハーネスと接続される接続部を備える装置と、
前記装置を支持し、前記装置が搭載される位置である第一位置と、少なくとも前記接続部の一部が前記隙間の外に配置される第二位置と、の間で前記装置が移動できるように構成された支持機構と、
を有する電池パック。
続きを表示(約 240 文字)
【請求項2】
前記支持機構は、前記装置が上下方向に移動できるように構成され、前記装置が前記第二位置にあるときに前記装置の全体が前記電池スタックよりも高い位置に配置されるように構成されている、請求項1に記載の電池パック。
【請求項3】
前記接続部は、前記装置において平面視での前記隙間の長手方向と同じ方向の端部に設けられ、
前記支持機構は、平面視で前記隙間の長手方向に沿って前記装置が移動できるように構成されている、請求項1に記載の電池パック。
発明の詳細な説明
【技術分野】
【0001】
本発明は、電池パックに関する。
続きを表示(約 1,500 文字)
【背景技術】
【0002】
複数の電池スタック(「電池モジュール」、「バッテリモジュール」と称されることもある)がケース内に収容された電池パックに関する技術が知られている(例えば、下記特許文献1参照)。
【先行技術文献】
【特許文献】
【0003】
特開2015-49931号公報
【発明の概要】
【発明が解決しようとする課題】
【0004】
ところで、電池パックにおいては、スペース上の問題等からケース内において互いに隣り合う電池スタック同士の間の隙間に、電池スタックと接続される装置が配置される場合がある。
【0005】
このような構成の場合、装置を前記隙間に配置した後に電池スタックから延出されたワイヤーハーネスのコネクタを装置の接続部に接続することが考えられるが、このような手順を採った場合には、作業者は目視しながらの接続作業が難しくなる。このため、上記のような構成の場合、例えば、予め装置の接続部にサブワイヤーハーネスの一端側のコネクタを嵌合し、装置を前記隙間に配置した後に、サブワイヤーハーネスの他端側のコネクタと、電池スタックから延出されたワイヤーハーネスのコネクタとを接続させる場合がある。しかしながら、このような構成では、サブワイヤーハーネスを追加しなければならない。
【0006】
本発明は、上記事実を考慮して、互いに隣り合う電池スタック同士の間の隙間に電池スタックと接続される装置が配置される構成においてサブワイヤーハーネスを追加しなくても前記装置と電池スタックとの接続を容易にすることが可能な電池パックを得ることが目的である。
【課題を解決するための手段】
【0007】
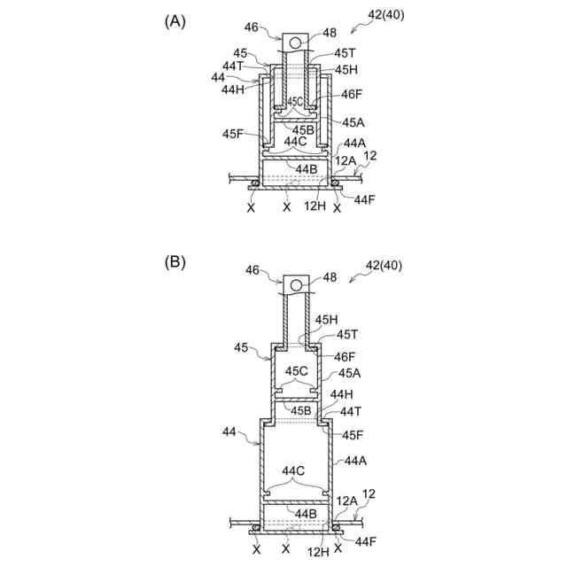
第1の態様の電池パックは、ケースと、前記ケース内に取り付けられ、隙間をあけて並べられた複数の電池スタックと、前記ケース内の前記隙間に配置され、前記電池スタックから延出されたワイヤーハーネスと接続される接続部を備える装置と、前記装置を支持し、前記装置が搭載される位置である第一位置と、少なくとも前記接続部の一部が前記隙間の外に配置される第二位置と、の間で前記装置が移動できるように構成された支持機構と、を有する。
【0008】
第1の態様の電池パックによれば、ケース内に取り付けられた複数の電池スタックが、隙間をあけて並べられている。ケース内の前記隙間には装置が配置され、この装置の接続部は、電池スタックから延出されたワイヤーハーネスと接続される。ここで、装置は支持機構によって支持され、支持機構は、装置が搭載される位置である第一位置と、少なくとも接続部の一部が前記隙間の外に配置される第二位置と、の間で装置が移動できるように構成されている。このため、装置を第二位置に配置させることによって、装置の接続部と電池スタックから延出されたワイヤーハーネスとの接続を容易にすることができる。
【0009】
第2の態様の電池パックは、第1の態様の電池パックにおいて、前記支持機構は、前記装置が上下方向に移動できるように構成され、前記装置が前記第二位置にあるときに前記装置の全体が前記電池スタックよりも高い位置に配置されるように構成されている。
【0010】
第2の態様の電池パックによれば、支持機構は、装置が上下方向に移動できるように構成されており、装置が第二位置にあるときには、装置の全体が電池スタックよりも高い位置に配置される。このため、装置の接続部と電池スタックから延出されたワイヤーハーネスとの接続を極めて容易にすることができる。
(【0011】以降は省略されています)
この特許をJ-PlatPat(特許庁公式サイト)で参照する
関連特許
トヨタ自動車株式会社
電池
15日前
トヨタ自動車株式会社
車体
29日前
トヨタ自動車株式会社
車両
29日前
トヨタ自動車株式会社
車両
15日前
トヨタ自動車株式会社
方法
今日
トヨタ自動車株式会社
車両
1日前
トヨタ自動車株式会社
電池
21日前
トヨタ自動車株式会社
車両
29日前
トヨタ自動車株式会社
配管
16日前
トヨタ自動車株式会社
方法
29日前
トヨタ自動車株式会社
電池
1か月前
トヨタ自動車株式会社
車両
16日前
トヨタ自動車株式会社
電池
7日前
トヨタ自動車株式会社
電池
7日前
トヨタ自動車株式会社
車両
1か月前
トヨタ自動車株式会社
電動車
16日前
トヨタ自動車株式会社
蓄電池
29日前
トヨタ自動車株式会社
ロータ
16日前
トヨタ自動車株式会社
電動車
15日前
トヨタ自動車株式会社
モータ
28日前
トヨタ自動車株式会社
タンク
今日
トヨタ自動車株式会社
蓄電装置
7日前
トヨタ自動車株式会社
蓄電装置
15日前
トヨタ自動車株式会社
蓄電装置
15日前
トヨタ自動車株式会社
エンジン
15日前
トヨタ自動車株式会社
反応容器
15日前
トヨタ自動車株式会社
樹脂外板
29日前
トヨタ自動車株式会社
制御装置
15日前
トヨタ自動車株式会社
制御装置
15日前
トヨタ自動車株式会社
蓄電装置
15日前
トヨタ自動車株式会社
蓄電装置
7日前
トヨタ自動車株式会社
判定装置
15日前
トヨタ自動車株式会社
蓄電装置
7日前
トヨタ自動車株式会社
蓄電装置
7日前
トヨタ自動車株式会社
蓄電装置
7日前
トヨタ自動車株式会社
蓄電装置
7日前
続きを見る
他の特許を見る