TOP
|
特許
|
意匠
|
商標
特許ウォッチ
Twitter
他の特許を見る
10個以上の画像は省略されています。
公開番号
2025153331
公報種別
公開特許公報(A)
公開日
2025-10-10
出願番号
2024055766
出願日
2024-03-29
発明の名称
車両用ホイール構造
出願人
トヨタ自動車株式会社
代理人
弁理士法人中部国際特許事務所
主分類
B60B
7/10 20060101AFI20251002BHJP(車両一般)
要約
【課題】ホイールに装着されたホイール装着部材を容易に脱することが可能な車両用ホイール構造を提供すること。
【解決手段】車両用ホイール構造10は、タイヤ12を支持して車両に組み付けられるホイール11と、ホイール11に装着されるアクセサリピース13と、を備え、アクセサリピース13が、本体部131と、本体部131においてホイール11の径方向に沿うように設けられてホイール11の第一被係合部118及び第二被係合部119に係合する一対の第一係合部132及び第二係合部133と、第一係合部132の変位を規制するように径方向に沿って設けられた規制部134と、を有し、規制部134によって変位が規制されない第二係合部133を変位させることにより、ホイール11に装着されたアクセサリピース13をホイール11から脱する。
【選択図】図8
特許請求の範囲
【請求項1】
タイヤを支持して車両に組み付けられるホイールと、
前記ホイールに装着されるホイール装着部材と、を備え、
前記ホイール装着部材が、
本体部と、
前記本体部において前記ホイールの径方向に沿うように設けられて前記ホイールの被係合部に係合する一対の係合部と、
一対の前記係合部のうちの一方の前記係合部である第一係合部の変位を規制するように前記径方向に沿って設けられた規制部と、を有し、
一対の前記係合部のうちの前記規制部によって変位が規制されない他方の前記係合部である第二係合部を変位させることにより、前記ホイールに装着された前記ホイール装着部材を前記ホイールから脱する、車両用ホイール構造。
続きを表示(約 860 文字)
【請求項2】
前記第二係合部が、
前記被係合部に係合する係合爪と、
前記係合爪を変位させるための操作が可能な摘み部と、を有する、請求項1に記載の車両用ホイール構造。
【請求項3】
前記第一係合部が、
前記径方向にて前記ホイールを構成するリムに近い側に配置され、
前記第二係合部が、
前記径方向にて前記ホイールの中央部に近い側に配置される、請求項1に記載の車両用ホイール構造。
【請求項4】
前記第一係合部が、
前記ホイールに設けられた貫通孔を有する前記被係合部に係合する、請求項1に記載の車両用ホイール構造。
【請求項5】
前記規制部が、
前記第一係合部に対して一体に連結される、請求項1に記載の車両用ホイール構造。
【請求項6】
前記規制部が、
前記ホイールに当接することにより、前記ホイールの前記径方向にて外側への前記ホイール装着部材の相対移動を規制する、請求項1に記載の車両用ホイール構造。
【請求項7】
前記ホイール装着部材が、
樹脂材料を用いて成形される、請求項1に記載の車両用ホイール構造。
【請求項8】
前記ホイール装着部材が、
前記ホイールに装着された状態で、前記ホイールの前記車両の外方に対応する表面の少なくとも一部を覆う、請求項1に記載の車両用ホイール構造。
【請求項9】
前記ホイール装着部材が、
前記本体部に対応する複数の本体形成部材と、
前記ホイールに装着された状態で、前記ホイールを形成するディスクの周方向に沿って前記本体形成部材を連結する連結部と、を有する、請求項8に記載の車両用ホイール構造。
【請求項10】
前記連結部が、
前記ホイールに装着された状態で、前記ディスクの中央部において複数の前記本体形成部材を連結する、請求項9に記載の車両用ホイール構造。
発明の詳細な説明
【技術分野】
【0001】
本開示は、車両用ホイール構造に関する。
続きを表示(約 1,800 文字)
【背景技術】
【0002】
従来から、例えば、特許文献1に開示されたキャップが知られている。従来のキャップは、ホイールに装着される際に、内周側と外周側とで係合することによって装着されるようになっている。そして、従来のキャップは、遠心力によって径方向にて外側に移動した際に、移動を規制するためのリブを備えるようになっている。
【先行技術文献】
【特許文献】
【0003】
特許第6363551号公報
【発明の概要】
【発明が解決しようとする課題】
【0004】
近年、ホイールの意匠性や空力特性を向上させる目的で、ホイールカバーや上述したキャップを含むアクセサリピース等のホイール装着部材がホイールに装着される場合がある。そして、ホイールに装着される際には、上述した従来のキャップのように、ホイールから容易に脱落することなく、又、ホイールに対する相対移動が低減されるように固定される。この場合、例えば、修理や交換等を行うためにホイール装着部材をホイールから脱する(取り外す)際には、容易に取り外すことができない場合がある。
【0005】
本開示の目的は、ホイールに装着されたホイール装着部材を容易に脱することが可能な車両用ホイール構造を提供することである。
【課題を解決するための手段】
【0006】
本開示の車両用ホイール構造は、タイヤを支持して車両に組み付けられるホイールと、ホイールに装着されるホイール装着部材と、を備え、ホイール装着部材が、本体部と、本体部においてホイールの径方向に沿うように設けられてホイールの被係合部に係合する一対の係合部と、一対の係合部のうちの一方の係合部である第一係合部の変位を規制するように径方向に沿って設けられた規制部と、を有し、一対の係合部のうちの規制部によって変位が規制されない他方の係合部である第二係合部を変位させることにより、ホイールに装着されたホイール装着部材をホイールから脱する。
【発明の効果】
【0007】
本開示の車両用ホイール構造によれば、規制部によって変位が規制されない第二係合部を変位させることにより、第二係合部と被係合部との係合を解除することができる。これにより、径方向の沿うように設けられた第一係合部において、規制部による変位の規制が解除されることによって第一係合部と被係合部との係合を解除することが可能となり、ホイール装着部材をホイールから容易に脱することができる。
【図面の簡単な説明】
【0008】
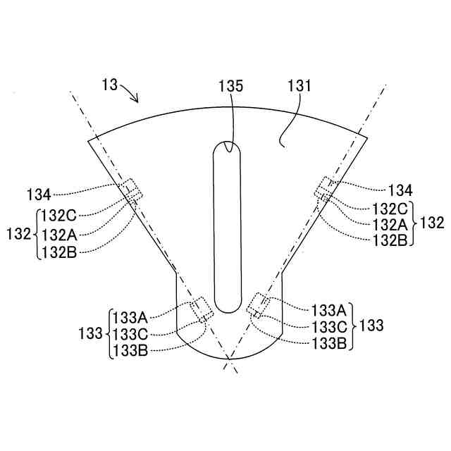
車両用ホイール構造を説明するための図である。
ホイールを説明するための図である。
ホイールの被係合部を説明するための拡大図である。
ホイール装着部材を説明するための図である。
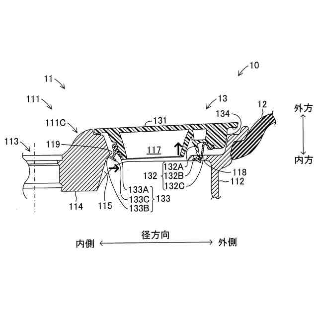
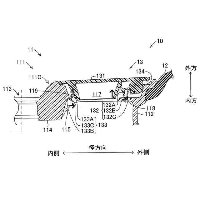
ホイール装着部材の装着を説明するための断面図である。
ホイール装着部材の第一係合部を説明するための拡大断面図である。
ホイール装着部材の第二係合部を説明するための拡大断面図である。
ホイール装着部材の取り外しを説明するための断面図である。
変形例に係るホイール装着部材を説明するための図である。
図9のホイール装着部材のセンター係合部を説明するための図である。
その他の変形例に係るホイール装着部材を説明するための図である。
その他の変形例に係るホイール装着部材の第二係合部を説明するための図である。
【発明を実施するための形態】
【0009】
以下、本開示の車両用ホイール構造を、図面を参照しながら詳しく説明する。尚、本開示は、下記の実施形態の他、当業者の知識に基づいて種々の変更、改良を施した種々の形態で実施することができる。
【0010】
1.実施形態
本実施形態の車両用ホイール構造10は、図1に示すように、車両の車輪を構成するホイール11を備えている。ホイール11は、タイヤ12を支持して車両に組み付けられる。そして、本実施形態の車両用ホイール構造10は、ホイール11に装着されるホイール装着部材としてのアクセサリピース13を備えている。
(【0011】以降は省略されています)
この特許をJ-PlatPat(特許庁公式サイト)で参照する
関連特許
トヨタ自動車株式会社
車両
7日前
トヨタ自動車株式会社
電池
8日前
トヨタ自動車株式会社
車両
1日前
トヨタ自動車株式会社
椅子
2日前
トヨタ自動車株式会社
車両
6日前
トヨタ自動車株式会社
方法
2日前
トヨタ自動車株式会社
方法
2日前
トヨタ自動車株式会社
電磁弁
2日前
トヨタ自動車株式会社
モータ
今日
トヨタ自動車株式会社
固定子
7日前
トヨタ自動車株式会社
加熱器
6日前
トヨタ自動車株式会社
電動車
2日前
トヨタ自動車株式会社
二次電池
7日前
トヨタ自動車株式会社
監視装置
7日前
トヨタ自動車株式会社
蓄電装置
6日前
トヨタ自動車株式会社
製造装置
7日前
トヨタ自動車株式会社
塗工装置
7日前
トヨタ自動車株式会社
バッテリ
7日前
トヨタ自動車株式会社
電動車両
今日
トヨタ自動車株式会社
判定装置
2日前
トヨタ自動車株式会社
制御装置
6日前
トヨタ自動車株式会社
通話装置
6日前
トヨタ自動車株式会社
車両構造
6日前
トヨタ自動車株式会社
車載装置
6日前
トヨタ自動車株式会社
バッテリ
7日前
トヨタ自動車株式会社
ガスタンク
6日前
トヨタ自動車株式会社
三角表示板
6日前
トヨタ自動車株式会社
人工筋肉装置
7日前
トヨタ自動車株式会社
電力制御装置
7日前
トヨタ自動車株式会社
情報処理装置
6日前
トヨタ自動車株式会社
情報処理装置
6日前
トヨタ自動車株式会社
車載システム
6日前
トヨタ自動車株式会社
情報処理装置
7日前
トヨタ自動車株式会社
車両制御装置
今日
トヨタ自動車株式会社
位置特定方法
今日
トヨタ自動車株式会社
車両制御装置
2日前
続きを見る
他の特許を見る