TOP
|
特許
|
意匠
|
商標
特許ウォッチ
Twitter
他の特許を見る
公開番号
2025157795
公報種別
公開特許公報(A)
公開日
2025-10-16
出願番号
2024060033
出願日
2024-04-03
発明の名称
車両制御装置
出願人
トヨタ自動車株式会社
代理人
弁理士法人プロスペック特許事務所
主分類
G08G
1/16 20060101AFI20251008BHJP(信号)
要約
【課題】自車両のガラスに曇りが生じていて、且つ当該ガラスが面する領域に位置する物標と自車両との接触リスクが高い場合に、自車両の運転者が当該物標を早期に視認可能とする機能を備えた車両制御装置を提供する。
【解決手段】車両制御装置1は、周囲センサと、窓ガラスを下降させる窓開放装置と、自車両の窓ガラスに生じている曇りを検知する曇りセンサ25と、前記曇りセンサ25から取得した情報に基づいて、自車両の周辺に、自車両の運転者が視認不能な領域である視界不良領域が存在していることを検知し、且つ、前記周囲センサから取得した情報に基づいて、前記視界不良領域内に位置する物標と自車両との接触リスクが高いと判定した場合に、前記視界不良領域に面する窓が開放されるように前記開放装置を制御する窓開放処理、及び、運転者に対して所定の警報が発せられるように報知装置30を制御する報知処理を実行するように構成される。
【選択図】図1
特許請求の範囲
【請求項1】
自車両の周辺に位置する物標に関する情報を取得するための周囲センサと、
自車両の窓ガラスを下降させて窓を開放する窓開放装置と、
前記窓ガラスに生じている曇りを検知するための曇りセンサと、
前記曇りセンサから取得した情報に基づいて、自車両の周辺に、自車両の運転者が視認し難い領域である視界不良領域が存在していることを検知し、且つ、前記周囲センサから取得した情報に基づいて、前記視界不良領域内に位置する物標と自車両との接触リスクが高いと判定するための所定条件が成立した場合に、前記視界不良領域に面する窓が開放されるように前記開放装置を制御する窓開放処理、及び、運転者に対して所定の警報が発せられるように報知装置を制御する報知処理を実行する、ように構成されたプロセッサと、
を備えた車両制御装置。
続きを表示(約 580 文字)
【請求項2】
請求項1に記載の車両制御装置において、
前記プロセッサは、自車両と前記視界不良領域内の物標とが接触するまでの時間を予測し、当該予測時間が所定の第一閾値以下になった時点で前記報知処理を開始し、前記予測時間が、前記第一閾値に所定時間を加算して得られた第二閾値以下になった時点で前記窓開放処理を開始する、ように構成された、車両制御装置。
【請求項3】
請求項2に記載の車両制御装置において、
前記所定時間は、前記窓を全閉状態から全開状態へ遷移させるために要する時間に基づいて予め定められている、車両制御装置。
【請求項4】
請求項2に記載の車両制御装置において、
運転者の眼の高さ位置を検知するためのドライバーセンサを備え、
前記プロセッサは、前記運転者の眼の高さが低いほど、前記所定時間に大きい値を割り当てる、ように構成された、車両制御装置。
【請求項5】
請求項1乃至請求項4のうちのいずれか1つに記載の車両制御装置において、
前記プロセッサは、前記窓開放処理を開始する時点又は前記窓開放処理を実行中に、開放される窓の外側に位置する物標への注意を促す所定の音声が発せられるように前記報知装置を制御する音声報知処理を実行する、ように構成された、車両制御装置。
発明の詳細な説明
【技術分野】
【0001】
本発明は、自車両と物標との接触リスクが低減されるように自車両を制御する車両制御装置に関する。
続きを表示(約 2,000 文字)
【背景技術】
【0002】
車両と物標との接触リスクが低減されるように自車両を制御する車両制御装置が提案されている(例えば、下記特許文献1を参照。)。特許文献1の車両制御装置(以下、「従来装置」と称呼する。)は、自車両の周辺に位置する物標と自車両との距離及び両者の相対速度に基づいて、自車両と当該物標とが接触するまでの時間を予測し、当該予測時間が閾値以下である場合に、運転者に対し所定の警報を発する。これにより、運転者は、自車両と当該物標との接触を回避するための運転操作を速やかに開始することができ、両者の接触リスクが低減される。
【先行技術文献】
【特許文献】
【0003】
特開2023-101773号公報
【発明の概要】
【0004】
ところで、自車両の窓ガラス(ドアガラス)の一部又は全体に曇りが生じている場合、運転者が自車両の側方から自車両へ接近してくる物標を視認し難い。この状態で車載レーダー(ミリ波レーダー、超音波センサなど)により取得された情報に基づいて当該物標が検知され、当該物標と自車両との接触リスクを低減するために警報が発せられたとしても、運転者は当該物標を視認できないため、当該運転者に混乱を招く虞がある。上記従来装置は、自車両のフロントガラスに曇りが生じたことを検知した場合に、当該ガラスに向けて送風することにより、当該ガラスの曇りを除去する機能を備えているが、この機能によりドアガラスの曇りを除去することは困難である。仮に、フロントガラスのみならずドアガラスにも送風されたとしても、当該送風が開始されてからドアガラスの曇りが除去されるまでにある程度の時間がかかる。そのため、例えば、物標が自車両側へ突発的に進行してきた場合などの緊急性の高い状況において、運転者が物標を視認できるようになった時点では、当該物標が自車両にかなり近接した状態になっている虞がある。
【0005】
本発明の目的の1つは、自車両のガラスに曇りが生じていて、且つ当該ガラスが面する領域に位置する物標と自車両との接触リスクが高い場合に、自車両の運転者が当該物標を早期に視認可能とする機能を備えた車両制御装置を提供することにある。
【0006】
上記課題を解決するために、本発明の車両制御装置(1)は、
自車両(V0)の周辺に位置する物標(MO)に関する情報を取得するための周囲センサ(21、22、23)と、
自車両の窓ガラス(DGR、DGL)を下降させて窓(WR、WL)を開放する窓開放装置(40)と、
前記窓ガラスに生じている曇りを検知するための曇りセンサ(25)と、
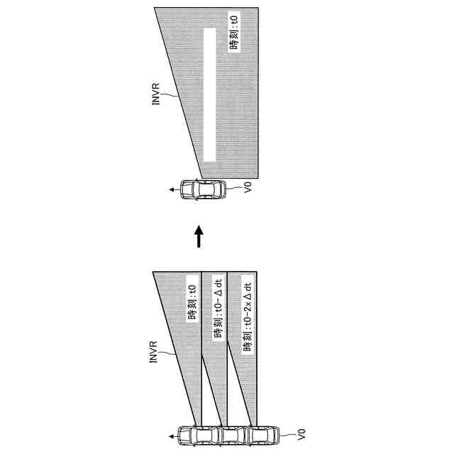
前記曇りセンサから取得した情報に基づいて、自車両の周辺に、自車両の運転者が視認し難い領域である視界不良領域(INVR、INVL)が存在していることを検知し、且つ、前記周囲センサから取得した情報に基づいて、前記視界不良領域内に位置する物標と自車両との接触リスクが高いと判定するための所定条件(TTC≦TTCwop、TTC≦TTCalt)が成立した場合に、前記視界不良領域に面する窓が開放されるように前記開放装置を制御する窓開放処理、及び、運転者に対して所定の警報が発せられるように報知装置(30)を制御する報知処理を実行する、ように構成されたプロセッサ(10)と、
を備える。
【0007】
自車両の窓ガラスに曇りが生じている場合、運転者が当該窓の外側の物標を視認し難くなる。本発明に係る車両制御装置は、窓ガラスの曇りが生じているために運転者が視認し難い領域(視界不良領域)が存在し、当該視界不良領域内に位置する物標と自車両との接触リスクが高い場合に、当該窓を開放する。これによれば、窓ガラスに向けて送風することにより曇りを解消する従来装置に比べ、運転者が比較的早期に当該物標を視認可能になる。
【0008】
本発明の一態様に係る車両制御装置において、
前記プロセッサは、自車両と前記視界不良領域内の物標とが接触するまでの時間を予測し、当該予測時間(TTC)が所定の第一閾値(TTCalt)以下になった時点で前記報知処理を開始し、前記予測時間が、前記第一閾値に所定時間(twop)を加算して得られた第二閾値(TTCwop)以下になった時点で、前記窓開放処理を開始する。
【0009】
これによれば、警報が発せられる以前に窓が開放され始める。これにより、警報が発せられる時点又はその前後の短期間内に、当該窓側の視界が良好になる。
【0010】
本発明の他の態様に係る車両制御装置において、
前記所定時間は、前記窓を全閉状態から全開状態へ遷移させるために要する時間に基づいて予め定められている。
(【0011】以降は省略されています)
この特許をJ-PlatPat(特許庁公式サイト)で参照する
関連特許
トヨタ自動車株式会社
車体
4日前
トヨタ自動車株式会社
車両
11日前
トヨタ自動車株式会社
車両
4日前
トヨタ自動車株式会社
方法
4日前
トヨタ自動車株式会社
方法
17日前
トヨタ自動車株式会社
車両
4日前
トヨタ自動車株式会社
電池
5日前
トヨタ自動車株式会社
車両
11日前
トヨタ自動車株式会社
車両
13日前
トヨタ自動車株式会社
治具
12日前
トヨタ自動車株式会社
車両
5日前
トヨタ自動車株式会社
モータ
3日前
トヨタ自動車株式会社
サーバ
14日前
トヨタ自動車株式会社
モータ
14日前
トヨタ自動車株式会社
蓄電池
4日前
トヨタ自動車株式会社
路側装置
3日前
トヨタ自動車株式会社
電池装置
13日前
トヨタ自動車株式会社
制御装置
3日前
トヨタ自動車株式会社
電動車両
3日前
トヨタ自動車株式会社
推定装置
3日前
トヨタ自動車株式会社
蓄電装置
11日前
トヨタ自動車株式会社
蓄電装置
11日前
トヨタ自動車株式会社
電源装置
12日前
トヨタ自動車株式会社
樹脂外板
4日前
トヨタ自動車株式会社
路側装置
3日前
トヨタ自動車株式会社
路側装置
3日前
トヨタ自動車株式会社
電動車両
3日前
トヨタ自動車株式会社
路側装置
3日前
トヨタ自動車株式会社
鋳造装置
3日前
トヨタ自動車株式会社
蓄電装置
3日前
トヨタ自動車株式会社
路側装置
17日前
トヨタ自動車株式会社
蓄電装置
12日前
トヨタ自動車株式会社
蓄電装置
11日前
トヨタ自動車株式会社
電動車両
4日前
トヨタ自動車株式会社
蓄電装置
14日前
トヨタ自動車株式会社
制御装置
14日前
続きを見る
他の特許を見る