TOP
|
特許
|
意匠
|
商標
特許ウォッチ
Twitter
他の特許を見る
公開番号
2025145534
公報種別
公開特許公報(A)
公開日
2025-10-03
出願番号
2024045749
出願日
2024-03-21
発明の名称
車両用乗員拘束装置
出願人
トヨタ自動車株式会社
代理人
弁理士法人太陽国際特許事務所
主分類
B60R
22/26 20060101AFI20250926BHJP(車両一般)
要約
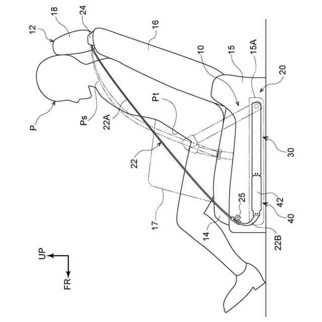
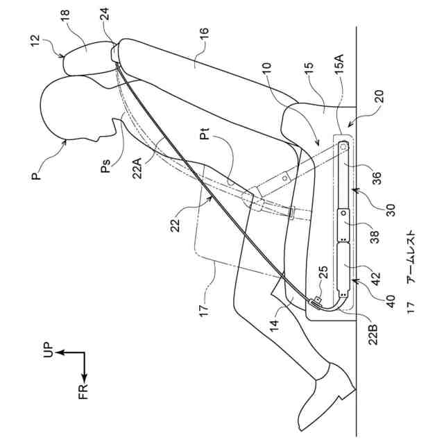
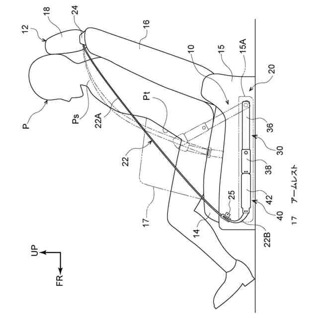
【課題】シートベルトの装着解除時に、ベルト支持エアバッグが設けられたシートベルトの収納性を向上できる車両用乗員拘束装置を得る。
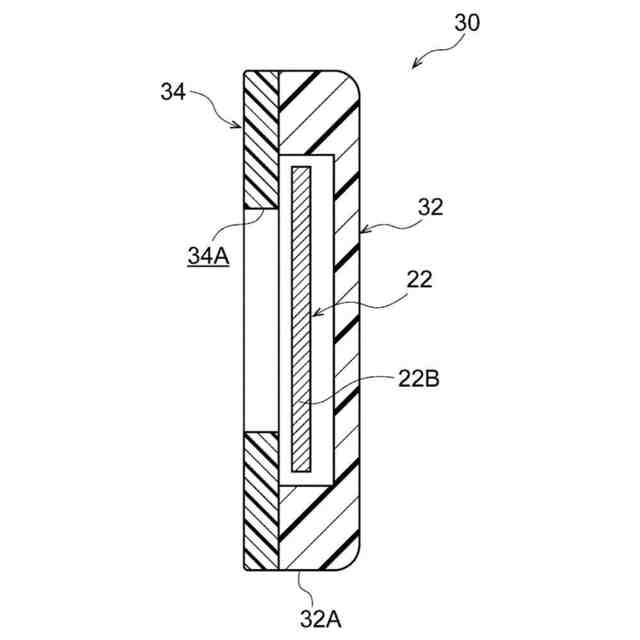
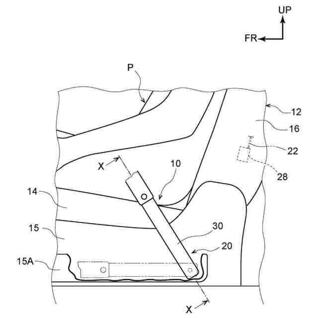
【解決手段】車両用シート12のシートクッション14に着座した乗員Pを車両用シート12に拘束するシートベルト22と、シートベルト22におけるラップベルト22Bに折り畳まれた状態で設けられ、車両の前面衝突時にガスが供給されることで膨張展開するベルト支持エアバッグ42と、少なくともラップベルト22Bのベルトアンカ23側の所定の領域を被覆し、シートベルト22の装着解除時に、ラップベルト22Bを下方へ向けて付勢するベルト被覆部材30と、を備えた車両用乗員拘束装置10とする。
【選択図】図6
特許請求の範囲
【請求項1】
車両用シートのシートクッションに着座した乗員を前記車両用シートに拘束するシートベルトと、
前記シートベルトにおけるラップベルト又はショルダベルトに折り畳まれた状態で設けられ、車両の前面衝突時にガスが供給されることで膨張展開するベルト支持エアバッグと、
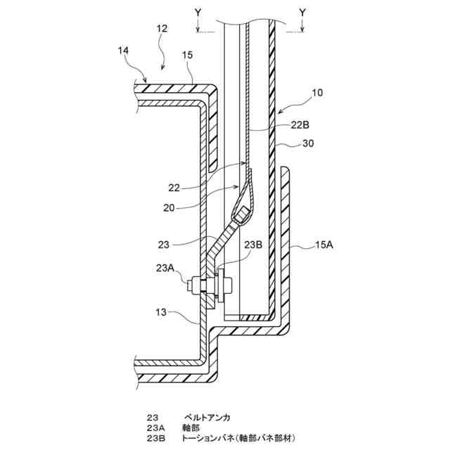
少なくとも前記ラップベルトのベルトアンカ側の所定の領域を被覆し、前記シートベルトの装着解除時に、前記ラップベルトを下方へ向けて付勢するベルト被覆部材と、
を備えた車両用乗員拘束装置。
続きを表示(約 530 文字)
【請求項2】
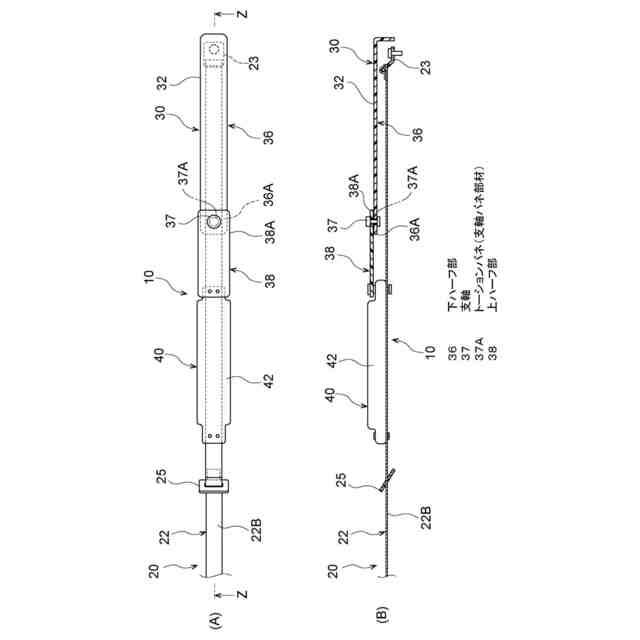
前記ベルト被覆部材は、前記シートベルトに沿って延在する断面略「C」字状とされた樹脂製のプレートで構成されている請求項1に記載の車両用乗員拘束装置。
【請求項3】
前記ベルト被覆部材は、車幅方向内側へは曲がり易く、車幅方向外側へは曲がり難く構成されている請求項2に記載の車両用乗員拘束装置。
【請求項4】
前記ベルト被覆部材は、前記シートベルトのベルトアンカの軸部に設けられた軸部バネ部材により、前記ラップベルトを下方へ向けて付勢する請求項2又は請求項3に記載の車両用乗員拘束装置。
【請求項5】
前記ベルト被覆部材は、前記ベルトアンカ側の下ハーフ部と、前記ベルトアンカ側とは反対側の上ハーフ部と、が支軸によって回動可能に連結されて構成されている請求項2又は請求項3に記載の車両用乗員拘束装置。
【請求項6】
前記上ハーフ部は、前記支軸に設けられた支軸バネ部材により、前記下ハーフ部へ向けて回動するように付勢されている請求項5に記載の車両用乗員拘束装置。
【請求項7】
前記車両用シートは、固定型のアームレストを有する請求項2又は請求項3に記載の車両用乗員拘束装置。
発明の詳細な説明
【技術分野】
【0001】
本発明は、車両用乗員拘束装置に関する。
続きを表示(約 1,700 文字)
【背景技術】
【0002】
車両用シート付きシートベルト装置のシートベルトにおけるラップベルト部にエアバッグを組み付けた乗員保護装置は、従来から知られている。このような乗員保護装置では、シートベルトの装着解除時に、リトラクタのバネ力によってシートベルトを初期位置に戻そう(巻き上げよう)としても、折り畳まれたエアバッグの重さにより、シートベルトが円滑かつ迅速に初期位置に復帰できない課題がある。そのため、次のような対策が従来に提案されている。
【0003】
シートバックの肩口に設けられているベルト繰出口の下方側の近傍領域にだけ、ベルト繰出時又はベルト巻取時にショルダベルト部との干渉を抑制する干渉抑制部(凹状部位)を形成する(特許文献1参照)。シートバックの肩口に設けられているベルト繰出口の開口方向を、シートベルトを前方に向けて繰出可能な前方向から、シートベルトのタングをバックルに締結させるように繰出可能な斜め方向まで回動可能に構成する(特許文献2参照)。
【先行技術文献】
【特許文献】
【0004】
特開2023-132760号公報
特開2023-160205号公報
【発明の概要】
【発明が解決しようとする課題】
【0005】
しかしながら、ショルダベルト部とベルト繰出口周辺との干渉を抑制したり、ベルト繰出口の開口方向を回動可能に構成したりするだけでは、シートベルトに組み付けたエアバッグの質量が大きい場合、シートベルト装着解除時に、その重さにより、シートベルトを円滑かつ迅速に初期位置に復帰させられない可能性がある。また、取り外されたシートベルトが車幅方向外側へはみ出し、乗降時にサイドドアに挟まる可能性も考えられる。なお、モータ付きリトラクタを使用することも考えられるが、それでは大幅なコストアップを招いてしまう。
【0006】
そこで、本発明は、ベルト支持エアバッグが設けられたシートベルトの装着解除時における収納性を向上できる車両用乗員拘束装置を得ることを目的とする。
【課題を解決するための手段】
【0007】
上記の目的を達成するために、本発明に係る第1の態様の車両用乗員拘束装置は、車両用シートのシートクッションに着座した乗員を前記車両用シートに拘束するシートベルトと、前記シートベルトにおけるラップベルト又はショルダベルトに折り畳まれた状態で設けられ、車両の前面衝突時にガスが供給されることで膨張展開するベルト支持エアバッグと、少なくとも前記ラップベルトのベルトアンカ側の所定の領域を被覆し、前記シートベルトの装着解除時に、前記ラップベルトを下方へ向けて付勢するベルト被覆部材と、を備えている。
【0008】
第1の態様の発明によれば、車両の前面衝突時にガスが供給されることで膨張展開するベルト支持エアバッグが、シートベルトにおけるラップベルト又はショルダベルトに折り畳まれた状態で設けられている。そして、少なくともラップベルトのベルトアンカ側の所定の領域を被覆するベルト被覆部材が、シートベルトの装着解除時に、ラップベルトを下方へ向けて付勢する。
【0009】
したがって、シートベルトの装着解除時には、ベルト被覆部材の自重により、少なくともラップベルトがシートクッションの側方へ収納される。つまり、折り畳まれたベルト支持エアバッグの重さでリトラクタのバネ力によって巻き上げられないシートベルトがシートクッションの側方へ収納される。このように、本発明によれば、ベルト支持エアバッグが設けられたシートベルトの装着解除時における収納性が向上される。なお、ここで言う車両の「前面衝突時」には、車両の前面衝突の不可避を予測(予知)したときも含まれる。
【0010】
また、本発明に係る第2の態様の車両用乗員拘束装置は、第1の態様の車両用乗員拘束装置であって、前記ベルト被覆部材は、前記シートベルトに沿って延在する断面略「C」字状とされた樹脂製のプレートで構成されている。
(【0011】以降は省略されています)
この特許をJ-PlatPat(特許庁公式サイト)で参照する
関連特許
個人
カーテント
4か月前
個人
タイヤレバー
2か月前
個人
前輪キャスター
1か月前
個人
上部一体型自動車
1日前
個人
車輪清掃装置
4か月前
個人
タイヤ脱落防止構造
1か月前
個人
ホイルのボルト締結
3か月前
個人
ルーフ付きトライク
1か月前
井関農機株式会社
作業車両
3か月前
個人
マスタシリンダ
8日前
日本精機株式会社
表示装置
2か月前
日本精機株式会社
表示装置
2か月前
井関農機株式会社
作業車両
3か月前
日本精機株式会社
表示装置
2か月前
日本精機株式会社
表示装置
1か月前
個人
キャンピングトライク
3か月前
個人
車両通過構造物
2か月前
個人
乗合路線バスの客室装置
2か月前
個人
キャンピングトレーラー
3か月前
個人
ワイパーゴム性能保持具
4か月前
個人
アクセルのソフトウェア
3か月前
個人
車両用スリップ防止装置
3か月前
個人
音声ガイド、音声サービス
2か月前
株式会社ニフコ
照明装置
1か月前
株式会社豊田自動織機
産業車両
2か月前
株式会社ニフコ
収納装置
25日前
個人
円湾曲ホイール及び球体輪
2か月前
株式会社ニフコ
保持装置
3か月前
個人
車載小物入れ兼雨傘収納具
3か月前
日本精機株式会社
車室演出装置
1か月前
日本精機株式会社
車載表示装置
3か月前
日本精機株式会社
車載表示装置
16日前
井関農機株式会社
作業車両
3か月前
日本精機株式会社
車両用投影装置
15日前
井関農機株式会社
作業車両
15日前
日本無線株式会社
取付金具
2か月前
続きを見る
他の特許を見る