TOP
|
特許
|
意匠
|
商標
特許ウォッチ
Twitter
他の特許を見る
公開番号
2025145943
公報種別
公開特許公報(A)
公開日
2025-10-03
出願番号
2024046467
出願日
2024-03-22
発明の名称
半導体装置および半導体装置の製造方法
出願人
株式会社豊田中央研究所
,
株式会社ミライズテクノロジーズ
,
トヨタ自動車株式会社
,
株式会社デンソー
代理人
弁理士法人 快友国際特許事務所
主分類
H10D
30/66 20250101AFI20250926BHJP()
要約
【課題】リカバリ損失の低減を実現可能な半導体装置を提供する。
【解決手段】ワイドギャップ半導体で構成された縦型の半導体装置は、n型の第1層を備える。半導体装置は、第1層の上面に接しているn型の第2層であって、n型不純物濃度が第1層よりも低い、第2層を備える。半導体装置は、第2層の上面に接しているp型のボディ層を備える。半導体装置は、ボディ層の上部に配置されているn型のソース領域を備える。半導体装置は、ボディ層と接触して配置されているゲート電極構造を備える。第1層内には、p型の第1特定領域が配置されている。第1特定領域は、第1層の上面に垂直な方向から見たときに、第1層の一部に配置されている。
【選択図】図1
特許請求の範囲
【請求項1】
ワイドギャップ半導体で構成された縦型の半導体装置であって、
n型の第1層と、
前記第1層の上面に接しているn型の第2層であって、n型不純物濃度が前記第1層よりも低い、前記第2層と、
前記第2層の上面に接しているp型のボディ層と、
前記ボディ層の上部に配置されているn型のソース領域と、
前記ボディ層と接触して配置されているゲート電極構造と、
を備え、
前記第1層内には、p型の第1特定領域が配置されており、
前記第1特定領域は、前記第1層の上面に垂直な方向から見たときに、前記第1層の一部に配置されている、
半導体装置。
続きを表示(約 1,300 文字)
【請求項2】
前記第1特定領域は、前記第1層と前記第2層との界面近傍の領域を含んでいる、請求項1に記載の半導体装置。
【請求項3】
前記第1層の内部であって、前記第1特定領域の深さ方向下側に配置されている、p型の第2特定領域をさらに備えており、
前記第1特定領域と前記第2特定領域とは、前記第1層によって隔離されている、請求項2に記載の半導体装置。
【請求項4】
前記第1層に垂直な方向から見たときに、前記第1特定領域の範囲内に、前記第2特定領域が含まれており、
前記界面に平行な方向の幅は、前記第2特定領域の方が、前記第1特定領域よりも小さい、請求項3に記載の半導体装置。
【請求項5】
前記第2層の内部であって、前記第1特定領域の深さ方向上側に配置されている、p型の第3特定領域をさらに備えており、
前記第1特定領域と前記第3特定領域とは、前記第2層によって隔離されている、請求項4に記載の半導体装置。
【請求項6】
前記第1特定領域には、イオン注入により形成された欠陥が含まれており、
前記第1特定領域の欠陥密度は、前記第1層の欠陥密度よりも高い、請求項2に記載の半導体装置。
【請求項7】
前記第1特定領域の正孔トラップエネルギ準位は、価電子帯端より大きく、ミッドギャップエネルギよりも小さい、請求項2に記載の半導体装置。
【請求項8】
前記ソース領域は、前記ボディ層によって前記第2層から隔てられており、
前記ゲート電極構造は、前記ソース領域の上面から前記ソース領域および前記ボディ層を貫通して前記第2層に到達するように深部に向けて伸びているトレンチ型の電極であり、
前記ゲート電極構造は、前記第2層と前記ソース領域を隔てる位置の前記ボディ層にゲート絶縁膜を介して対向している、請求項1~7の何れか一項に記載の半導体装置。
【請求項9】
ワイドギャップ半導体で構成された縦型の半導体装置の製造方法であって、
n型の第1層の表面の一部にp型不純物をイオン注入することで、p型の第1特定領域を形成するイオン注入工程と、
前記第1層の上面に、n型不純物濃度が前記第1層よりも低いn型の第2層を、エピタキシャル成長法により形成する工程と、
前記第2層の上面に、p型のボディ層をエピタキシャル成長法により形成する工程と、
前記ボディ層の上部に、n型のソース領域を形成する工程と、
前記ボディ層と接触しているゲート電極構造を形成する工程と、
を備える、半導体装置の製造方法。
【請求項10】
前記イオン注入工程では、第1特定領域が前記第1層と前記第2層との界面近傍の領域を含むようにイオン注入が行われ、
前記イオン注入工程では、前記第1層の内部であって、前記第1特定領域の深さ方向下側に配置されている、p型の第2特定領域がさらに形成され、
前記第1特定領域と前記第2特定領域とは、前記第1層によって隔離されている、請求項9に記載の半導体装置の製造方法。
発明の詳細な説明
【技術分野】
【0001】
本明細書で開示する技術は、半導体装置および半導体装置の製造方法に関する。
続きを表示(約 1,700 文字)
【背景技術】
【0002】
ワイドギャップ半導体で構成された縦型の半導体装置の開発が進められている。その一例が、特許文献1に開示されている。
【先行技術文献】
【特許文献】
【0003】
特開2019-140242号公報
【発明の概要】
【発明が解決しようとする課題】
【0004】
縦型の半導体装置において、ドレイン-ソース間にはダイオードが存在する。大電流動作からターンオフするダイオードのリカバリ動作時に、大きなリカバリ電流が流れると、リカバリ損失が発生したり、ターンオフの応答性が低下したりしてしまう。
【課題を解決するための手段】
【0005】
本明細書に開示する半導体装置の一実施形態は、ワイドギャップ半導体で構成された縦型の半導体装置である。半導体装置は、n型の第1層を備える。半導体装置は、第1層の上面に接しているn型の第2層であって、n型不純物濃度が第1層よりも低い、第2層を備える。半導体装置は、第2層の上面に接しているp型のボディ層を備える。半導体装置は、ボディ層の上部に配置されているn型のソース領域を備える。半導体装置は、ボディ層と接触して配置されているゲート電極構造を備える。第1層内には、p型の第1特定領域が配置されている。第1特定領域は、第1層の上面に垂直な方向から見たときに、第1層の一部に配置されている。
【0006】
上記構成では、第1層内に、p型の第1特定領域が配置されている。これにより、縦型の半導体装置の内部に存在するダイオードが順方向動作する時に、少数キャリアである正孔を、第1特定領域で消滅させることができる。よって、半導体装置内部の正孔密度を低下させることができるため、逆回復動作に移行したときのリカバリ損失を低減することや、ターンオフの応答性を高めることが可能となる。
【0007】
本明細書に開示する半導体装置の製造方法の一実施形態は、ワイドギャップ半導体で構成された縦型の半導体装置の製造方法である。製造方法は、n型の第1層の表面の一部にp型不純物をイオン注入することで、p型の第1特定領域を形成するイオン注入工程を備える。製造方法は、第1層の上面に、n型不純物濃度が第1層よりも低いn型の第2層を、エピタキシャル成長法により形成する工程を備える。製造方法は、第2層の上面に、p型のボディ層をエピタキシャル成長法により形成する工程を備える。製造方法は、ボディ層の上部に、n型のソース領域を形成する工程を備える。製造方法は、ボディ層と接触しているゲート電極構造を形成する工程を備える。
【図面の簡単な説明】
【0008】
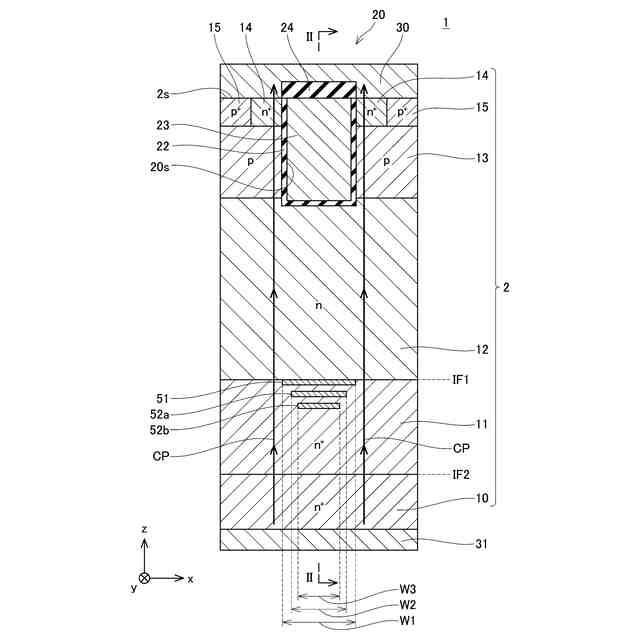
半導体装置1の断面図である。
正孔密度分布のシミュレーション結果を示す図である。
実施例2に係る半導体装置201の要部断面図である。
実施例3に係る半導体装置301の要部断面図である。
【発明を実施するための形態】
【実施例】
【0009】
(半導体装置1の構造)
図1に、半導体装置1の側面における断面図を示す。図1には、半導体装置1の一部の断面のみが示されている。半導体装置1には、図1に示される単位構造が繰り返し形成されている。半導体装置1は、MOSFETと称されるパワー半導体素子である。半導体装置1は、トレンチゲート型である。
【0010】
図1において、参照番号2はワイドギャップ半導体で構成された半導体層を示している。ワイドギャップ半導体には、SiC、GaN、Ga
2
O
3
、ダイヤモンド、などの各種材料を使用可能である。本実施例では、半導体層2の材料をSiCとした。半導体層2の表面2sに平行かつ紙面の左右へ向かう方向がx方向であり、紙面に垂直な方向がy方向である。また表面2sに垂直な方向がz方向である。半導体層2の表面2sにソース電極30が形成されており、裏面にドレイン電極31が形成されている。
(【0011】以降は省略されています)
この特許をJ-PlatPat(特許庁公式サイト)で参照する
関連特許
個人
半導体装置
4日前
東レ株式会社
太陽電池モジュール
4日前
エイブリック株式会社
半導体装置
10日前
富士電機株式会社
半導体装置
13日前
富士電機株式会社
半導体装置
1か月前
ローム株式会社
半導体装置
5日前
富士通株式会社
半導体装置
3日前
三菱電機株式会社
半導体装置
3日前
AGC株式会社
太陽電池モジュール
16日前
日亜化学工業株式会社
発光素子
11日前
ミツミ電機株式会社
半導体装置
10日前
日亜化学工業株式会社
発光素子
3日前
株式会社半導体エネルギー研究所
半導体装置
1か月前
日亜化学工業株式会社
発光装置
1か月前
キヤノン株式会社
有機発光素子
23日前
日亜化学工業株式会社
発光装置
2日前
TDK株式会社
圧電素子
3日前
株式会社東芝
熱電変換装置
11日前
住友電気工業株式会社
半導体装置
23日前
TDK株式会社
光検知装置
10日前
ローム株式会社
TVSダイオード
11日前
サンケン電気株式会社
半導体装置
9日前
ローム株式会社
TVSダイオード
11日前
住友電気工業株式会社
半導体装置
23日前
ローム株式会社
窒化物半導体装置
1か月前
ローム株式会社
半導体装置
11日前
デクセリアルズ株式会社
受光装置
9日前
株式会社カネカ
太陽電池モジュール
11日前
三菱電機株式会社
半導体装置
17日前
株式会社カネカ
太陽光発電システム
1か月前
内山工業株式会社
太陽電池
9日前
キオクシア株式会社
記憶装置
9日前
沖電気工業株式会社
発光装置及び表示装置
4日前
株式会社カネカ
太陽電池モジュール
2日前
株式会社MARUWA
発光装置及び照明器具
2日前
サンケン電気株式会社
発光装置
2日前
続きを見る
他の特許を見る