TOP
|
特許
|
意匠
|
商標
特許ウォッチ
Twitter
他の特許を見る
10個以上の画像は省略されています。
公開番号
2025145213
公報種別
公開特許公報(A)
公開日
2025-10-03
出願番号
2024045284
出願日
2024-03-21
発明の名称
受光装置
出願人
デクセリアルズ株式会社
代理人
個人
,
個人
主分類
H10F
30/20 20250101AFI20250926BHJP()
要約
【課題】本発明の一態様は、小型化が図られた受光装置を提供することを目的とする。
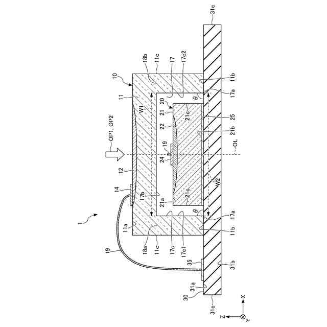
【解決手段】本発明に係る受光装置は、受光領域を含む半導体基板を、それぞれ有する第1受光素子及び第2受光素子と、前記第1受光素子及び前記第2受光素子を支持する支持面を有する支持基板と、を備え、前記第1受光素子及び前記第2受光素子の一方が有する一方側の前記半導体基板は、前記受光領域を含む主面と、面直方向において、前記主面と反対側にある裏面と、前記裏面から前記主面に向かって窪む凹部と、をさらに有し、前記第1受光素子及び前記第2受光素子の他方が有する他方側の前記半導体基板は、前記凹部の内側に配置され、前記凹部の開口端から前記凹部の底面につながる側面と、前記支持面との成す角度θが、75°以上105°以下である。
【選択図】図2
特許請求の範囲
【請求項1】
受光領域を含む半導体基板を、それぞれ有する第1受光素子及び第2受光素子と、
前記第1受光素子及び前記第2受光素子を支持する支持面を有する支持基板と、
を備え、
前記第1受光素子及び前記第2受光素子の一方が有する一方側の前記半導体基板は、前記受光領域を含む主面と、面直方向において、前記主面と反対側にある裏面と、前記裏面から前記主面に向かって窪む凹部と、をさらに有し、
前記第1受光素子及び前記第2受光素子の他方が有する他方側の前記半導体基板は、前記凹部の内側に配置され、
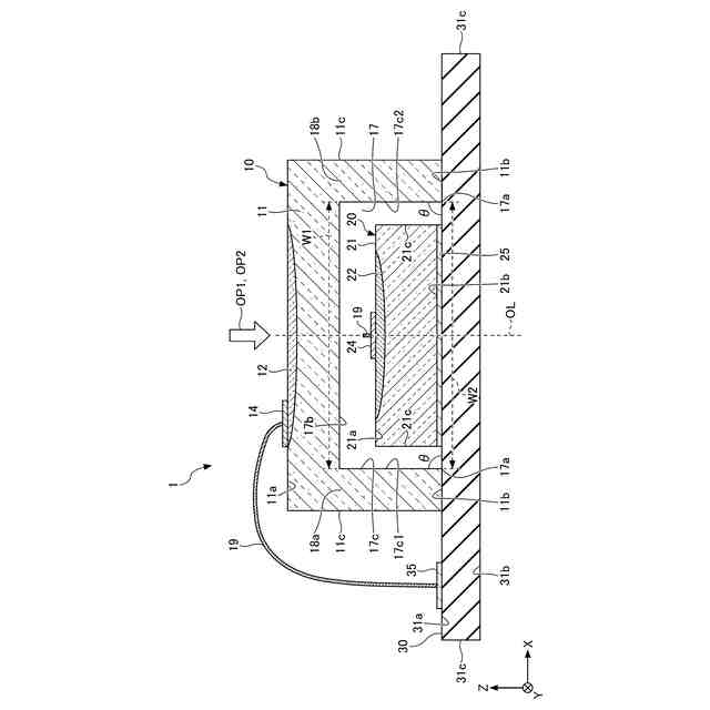
前記凹部の開口端から前記凹部の底面につながる側面と、前記支持面との成す角度θが、75°以上105°以下である、
受光装置。
続きを表示(約 930 文字)
【請求項2】
前記面直方向に沿って前記受光装置を切断した断面視において、前記凹部における前記底面の長さをW1とし、前記凹部の前記開口端において互いに対向する箇所同士の間の長さをW2とするとき、前記W1と前記W2との比であるW1/W2が、0.9以上1.1以下である、
請求項1に記載の受光装置。
【請求項3】
前記他方側の半導体基板は、前記受光領域を含む主面と、前記面直方向において、前記主面と反対側にある裏面と、前記主面と前記裏面とをつなぐとともに、前記凹部の側面に対向する側面と、を有し、
前記面直方向に沿って前記受光装置を切断した断面視において、前記他方側の半導体基板の前記側面における前記主面側の端部と、前記凹部の前記側面との間隔をG1とし、前記他方側の半導体基板の前記側面における前記裏面側の端部と、前記凹部の前記側面との間隔をG2とするとき、
前記G1と前記G2との比であるG1/G2が、0.9以上1.1以下である、
請求項1に記載の受光装置。
【請求項4】
前記一方側の半導体基板は、前記凹部を挟んで互いに対向する第1側壁部及び第2側壁部を有し、
前記凹部の前記側面のうち、前記第1側壁部の内面で規定される第1側面と、前記支持面との成す角度θ1が、75°以上105°以下であり、
前記凹部の前記側面のうち、前記第2側壁部の内面で規定される第2側面と、前記支持面との成す角度θ2が、75°以上105°以下である、
請求項1に記載の受光装置。
【請求項5】
前記一方側の半導体基板は、前記第1側壁部及び前記第2側壁部の一端同士をつなぐ第3側壁部と、前記第1側壁部及び前記第2側壁部の他端同士をつなぐ第4側壁部と、をさらに有し、
前記凹部の前記側面のうち、前記第3側壁部の内面で規定される第3側面と、前記支持面との成す角度θ3が、75°以上105°以下であり、
前記凹部の前記側面のうち、前記第4側壁部の内面で規定される第4側面と、前記支持面との成す角度θ4が、75°以上105°以下である、
請求項4に記載の受光装置。
発明の詳細な説明
【技術分野】
【0001】
本発明は、受光装置に関する。
続きを表示(約 1,700 文字)
【背景技術】
【0002】
従来、互いに異なる波長帯を有する複数種の光をそれぞれ受光する複数の受光素子を備えた受光装置が知られている(例えば、特許文献1参照)。特許文献1に開示される受光装置において、複数の受光素子は、積層されている。
【先行技術文献】
【特許文献】
【0003】
特開2019-12713号公報
【発明の概要】
【発明が解決しようとする課題】
【0004】
特許文献1に開示される受光装置の厚さは、それぞれの受光素子の厚さに応じて増える。そのため、受光装置を小型化する観点において、改善の余地がある。
【0005】
本発明の一態様は、小型化が図られた受光装置を提供することを目的とする。
【課題を解決するための手段】
【0006】
本発明の一態様は、
受光領域を含む半導体基板を、それぞれ有する第1受光素子及び第2受光素子と、
前記第1受光素子及び前記第2受光素子を支持する支持面を有する支持基板と、
を備え、
前記第1受光素子及び前記第2受光素子の一方が有する一方側の前記半導体基板は、前記受光領域を含む主面と、面直方向において、前記主面と反対側にある裏面と、前記裏面から前記主面に向かって窪む凹部と、をさらに有し、
前記第1受光素子及び前記第2受光素子の他方が有する他方側の前記半導体基板は、前記凹部の内側に配置され、
前記凹部の開口端から前記凹部の底面につながる側面と、前記支持面との成す角度θが、75°以上105°以下である、
受光装置である。
【発明の効果】
【0007】
本発明に係る一態様によれば、受光装置を小型化することができる。
【図面の簡単な説明】
【0008】
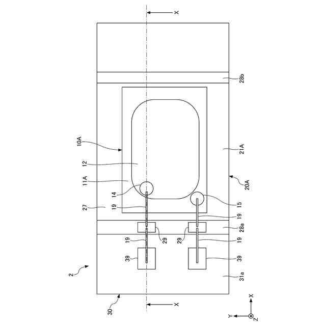
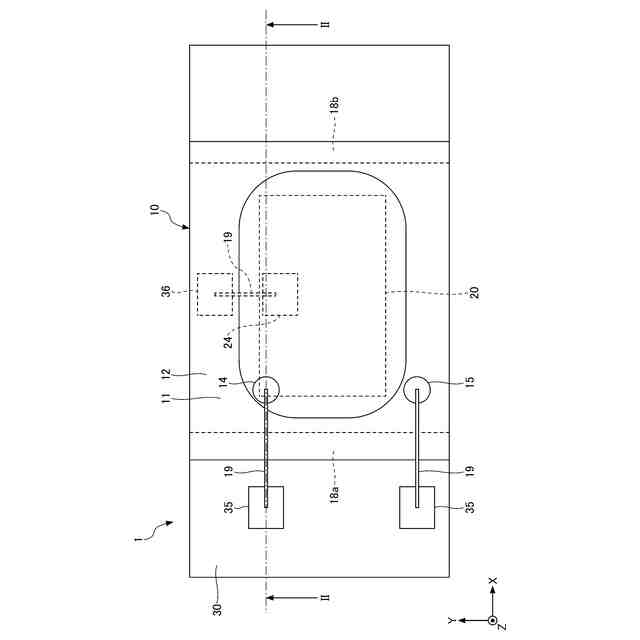
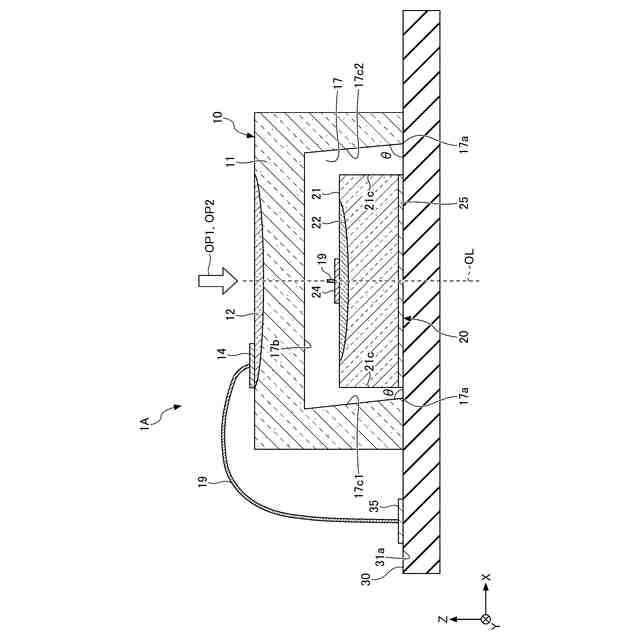
第1実施形態に係る受光装置を模式的に示す平面図である。
図1に示されるII-II線に沿って、第1実施形態に係る受光装置を切断した模式的な断面を示す断面図である。
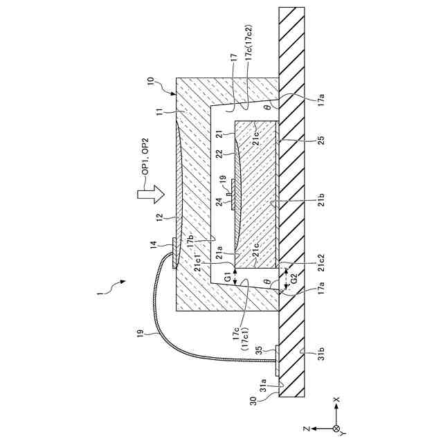
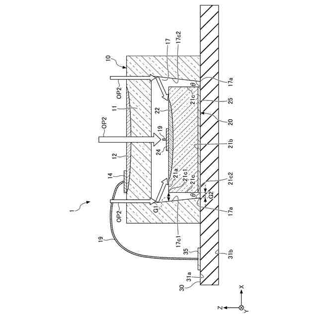
第1実施形態において、凹部の側面と、支持基板の支持面との成す角度θが、75°以上90°以下である場合の、受光装置をXZ平面に沿って切断した模式的な断面を示す断面図である。
第1実施形態において、凹部の側面と、支持基板の支持面との成す角度θが、90°以上105°以下である場合の、受光装置をXZ平面に沿って切断した模式的な断面を示す断面図である。
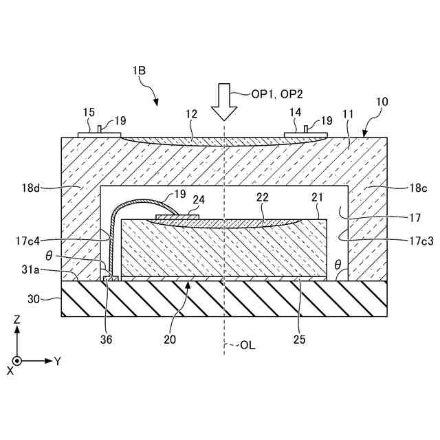
第1実施形態の変形例1に係る受光装置をXZ平面に沿って切断した模式的な断面を示す断面図である。
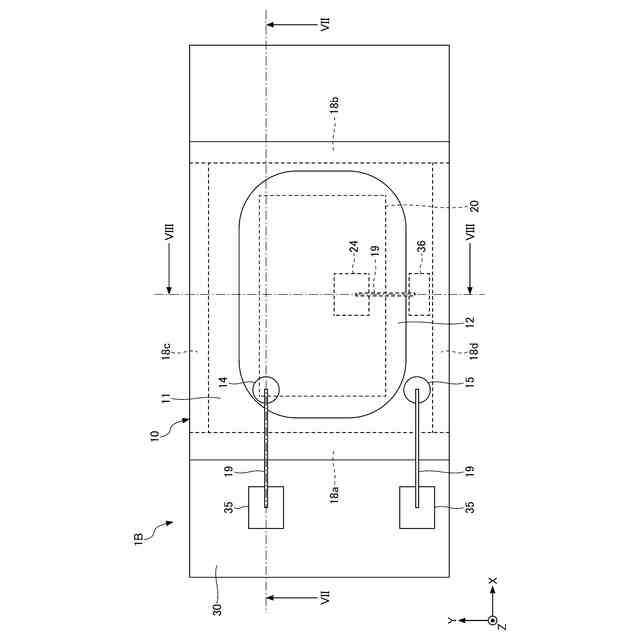
第1実施形態の変形例2に係る受光装置を模式的に示す平面図である。
図6に示されるVII-VII線に沿って、第1実施形態の変形例2に係る受光装置を切断した模式的な断面を示す断面図である。
図6に示されるVIII-VIII線に沿って、第1実施形態の変形例2に係る受光装置を切断した模式的な断面を示す断面図である。
第2実施形態に係る受光装置を模式的に示す平面図である。
図9に示されるX-X線に沿って、第2実施形態に係る受光装置を切断した模式的な断面を示す断面図である。
【発明を実施するための形態】
【0009】
以下、本発明の実施の形態について、詳細に説明する。なお、説明の理解を容易にするため、各図面において同一の構成要素に対しては同一の符号を付して、重複する説明を適宜省略する。また、図面における各部材の縮尺は実際とは異なる場合がある。
【0010】
図面においてX軸、Y軸及びZ軸により方向を示す場合がある。X軸、Y軸及びZ軸は相互に直交する方向である。X軸方向で矢印が向いている方向を+X方向又は+X側、+X方向の反対方向を-X方向又は-X側と表記する。Y軸方向で矢印が向いている方向を+Y方向又は+Y側、+Y方向の反対方向を-Y方向又は-Y側と表記する。Z軸方向で矢印が向いている方向を+Z方向又は+Z側、+Z方向の反対方向を-Z方向又は-Z側と表記する。
(【0011】以降は省略されています)
この特許をJ-PlatPat(特許庁公式サイト)で参照する
関連特許
エイブリック株式会社
半導体装置
1日前
富士電機株式会社
半導体装置
4日前
AGC株式会社
太陽電池モジュール
7日前
日亜化学工業株式会社
発光素子
2日前
ミツミ電機株式会社
半導体装置
1日前
ローム株式会社
TVSダイオード
2日前
株式会社東芝
熱電変換装置
2日前
ローム株式会社
TVSダイオード
2日前
ローム株式会社
半導体装置
2日前
TDK株式会社
光検知装置
1日前
サンケン電気株式会社
半導体装置
今日
デクセリアルズ株式会社
受光装置
今日
キオクシア株式会社
記憶装置
今日
内山工業株式会社
太陽電池
今日
株式会社カネカ
太陽電池モジュール
2日前
東芝ライテック株式会社
発光モジュール
4日前
住友電気工業株式会社
半導体装置
4日前
日本電気株式会社
量子回路装置と制御方法
4日前
キオクシア株式会社
半導体記憶装置
今日
キオクシア株式会社
有機分子メモリ
今日
日本電気株式会社
量子回路装置と制御方法
4日前
ローム株式会社
縦型ホール素子
4日前
ローム株式会社
電界効果トランジスタ
4日前
日亜化学工業株式会社
窒化物半導体発光素子
4日前
キヤノン株式会社
表示装置及びその製造方法
4日前
日東電工株式会社
発光装置
1日前
ローム株式会社
半導体チップおよび半導体装置
7日前
富士電機株式会社
窒化物半導体装置の製造方法
今日
日本特殊陶業株式会社
圧電素子およびその利用
4日前
日本特殊陶業株式会社
圧電素子およびその利用
4日前
キヤノン株式会社
半導体集積回路
2日前
キヤノン株式会社
有機発光装置及びその製造方法
4日前
株式会社半導体エネルギー研究所
酸化物半導体膜、半導体装置
今日
シチズン電子株式会社
発光装置
今日
キヤノン株式会社
画像形成装置
今日
住友電気工業株式会社
受光素子
2日前
続きを見る
他の特許を見る