TOP
|
特許
|
意匠
|
商標
特許ウォッチ
Twitter
他の特許を見る
10個以上の画像は省略されています。
公開番号
2025145773
公報種別
公開特許公報(A)
公開日
2025-10-03
出願番号
2024046152
出願日
2024-03-22
発明の名称
記憶装置
出願人
キオクシア株式会社
代理人
個人
,
個人
,
個人
主分類
H10B
61/00 20230101AFI20250926BHJP()
要約
【課題】特性の優れたスイッチング素子を有する記憶装置を提供する。
【解決手段】実施形態の記憶装置は、第1の導電層、スイッチング層、第3の導電層、抵抗変化層、及び第2の導電層が、この順で積層されたメモリセルを備える。スイッチング層は、第1の領域と、第2の領域とを含む。第1の領域は、Zr、Y、Ta、La、Ce、Ti、Hf、Mg、及びAlから選ばれる第1の元素と、O、S、Se、及びTeから選ばれる第2の元素と、を含む第1の物質を含む。第2の領域は、第1の元素と、S、Se、及びTeから選ばれかつ第2の元素より原子番号の大きい第3の元素と、を含む第2の物質と、Zn、Sn、Ga、In、Bi、Mg、及びCaから群から選ばれる第4の元素と、S、Se、及びTeからなる群から選ばれる第5の元素と、を含む第3の物質と、を含む。第2の領域の第4の元素の原子濃度は、第1の領域よりも高い。
【選択図】図2
特許請求の範囲
【請求項1】
第1の導電層と、
第2の導電層と、
前記第1の導電層と前記第2の導電層との間に設けられた第3の導電層と、
前記第1の導電層と前記第3の導電層との間に設けられたスイッチング層と、
前記第3の導電層と前記第2の導電層との間に設けられた抵抗変化層と、を含むメモリセルを備え、
前記スイッチング層は、少なくとも一つの第1の領域と、前記第1の領域の化学組成と異なる化学組成を有する少なくとも一つの第2の領域とを含み、
前記第1の領域は、ジルコニウム(Zr)、イットリウム(Y)、タンタル(Ta)、ランタン(La)、セリウム(Ce)、チタン(Ti)、ハフニウム(Hf)、マグネシウム(Mg)、及びアルミニウム(Al)からなる群から選ばれる第1の元素と、酸素(O)、硫黄(S)、セレン(Se)、及びテルル(Te)からなる群から選ばれる第2の元素と、を含む第1の物質を含み、
前記第2の領域は、前記第1の元素と、硫黄(S)、セレン(Se)、及びテルル(Te)からなる群から選ばれかつ前記第2の元素の原子番号より原子番号の大きい第3の元素と、を含む第2の物質と、亜鉛(Zn)、スズ(Sn)、ガリウム(Ga)、インジウム(In)、ビスマス(Bi)、マグネシウム(Mg)、及びカルシウム(Ca)からなる群から選ばれる第4の元素と、硫黄(S)、セレン(Se)、及びテルル(Te)からなる群から選ばれる第5の元素と、を含む第3の物質と、を含み、
前記第1の領域は前記第4の元素を含むか又は含まず、前記第2の領域の前記第4の元素の原子濃度は、前記第1の領域の前記第4の元素の原子濃度よりも高い、記憶装置。
続きを表示(約 1,700 文字)
【請求項2】
前記第1の領域と前記第2の領域は、前記第1の導電層から前記第2の導電層に向かう第1の方向に交互に配置される、請求項1記載の記憶装置。
【請求項3】
前記第1の元素はジルコニウム(Zr)である、請求項1記載の記憶装置。
【請求項4】
前記第4の元素は亜鉛(Zn)であり、前記第5の元素はテルル(Te)である、請求項1記載の記憶装置。
【請求項5】
前記第1の物質は前記第1の元素と前記第2の元素との化合物であり、前記第2の物質は前記第1の元素と前記第3の元素との化合物であり、前記第3の物質は前記第4の元素と前記第5の元素との化合物である、請求項1記載の記憶装置。
【請求項6】
前記抵抗変化層は磁気トンネル接合を含む、請求項1記載の記憶装置。
【請求項7】
前記抵抗変化層は、所定の電圧の印加により電気抵抗が変化し、
前記スイッチング層は、特定の閾値電圧で電流が立ち上がる非線形な電流電圧特性を有する、請求項1記載の記憶装置。
【請求項8】
複数の第1の配線と、
前記複数の第1の配線と交差する複数の第2の配線と、を更に備え、
前記複数の第1の配線の一つと、前記複数の第2の配線の一つが交差する領域に前記メモリセルが設けられる、請求項1記載の記憶装置。
【請求項9】
第1の導電層と、
第2の導電層と、
前記第1の導電層と前記第2の導電層との間に設けられた第3の導電層と、
前記第1の導電層と前記第3の導電層との間に設けられたスイッチング層と、
前記第3の導電層と前記第2の導電層との間に設けられた抵抗変化層と、を含むメモリセルを備え、
前記スイッチング層は、第1の物質を含む少なくとも一つの第1の領域と、第2の物質及び第3の物質を含み前記第1の領域の化学組成と異なる化学組成を有する少なくとも一つの第2の領域とを含み、
前記第3の物質は、硫黄(S)、セレン(Se)、及びテルル(Te)からなる群から選ばれる一つの元素及び亜鉛(Zn)を含み、
前記第1の物質と前記第2の物質の組み合わせは、
前記第1の物質はシリコン(Si)及び酸素(O)を含み、前記第2の物質はジルコニウム(Zr)、ハフニウム(Hf)、チタン(Ti)、及びアルミニウム(Al)からなる群から選ばれる一つの元素及び酸素(O)を含む第1の組み合わせ、
前記第1の物質はシリコン(Si)及び酸素(O)を含み、前記第2の物質はシリコン(Si)、アルミニウム(Al)、及びガリウム(Ga)からなる群から選ばれる一つの元素及び窒素(N)を含む第2の組み合わせ、
前記第1の物質はシリコン(Si)及び窒素(N)を含み、前記第2の物質はジルコニウム(Zr)、ハフニウム(Hf)、チタン(Ti)、及びアルミニウム(Al)からなる群から選ばれる一つの元素及び酸素(O)を含む第3の組み合わせ、
前記第1の物質はシリコン(Si)及び窒素(N)を含み、前記第2の物質はアルミニウム(Al)及び窒素(N)を含む第4の組み合わせ、
前記第1の物質はアルミニウム(Al)及び窒素(N)を含み、前記第2の物質はジルコニウム(Zr)及びハフニウム(Hf)からなる群から選ばれる一つの元素及び酸素(O)を含む第5の組み合わせ、及び、
前記第1の物質はジルコニウム(Zr)及び酸素(O)を含み、前記第2の物質はハフニウム(Hf)及び酸素(O)を含む第6の組み合わせ、からなる群から選ばれる一つの組み合わせであり、
前記第1の領域は亜鉛(Zn)を含むか又は含まず、前記第2の領域の亜鉛(Zn)の原子濃度は、前記第1の領域の亜鉛(Zn)の原子濃度よりも高い、記憶装置。
【請求項10】
前記第1の領域と前記第2の領域は、前記第1の導電層から前記第2の導電層に向かう第1の方向に交互に配置される、請求項9記載の記憶装置。
(【請求項11】以降は省略されています)
発明の詳細な説明
【技術分野】
【0001】
本発明の実施形態は、記憶装置に関する。
続きを表示(約 2,800 文字)
【背景技術】
【0002】
大容量の不揮発性記憶装置として、クロスポイント型の2端子の記憶装置がある。クロスポイント型の2端子の記憶装置は、メモリセルの微細化・高集積化が容易である。
【0003】
クロスポイント型の2端子の記憶装置のメモリセルは、例えば、抵抗変化素子とスイッチング素子を有する。メモリセルがスイッチング素子を有することで、選択メモリセル以外のメモリセルに流れる電流が抑制される。
【0004】
スイッチング素子には、低いリーク電流、高いオン電流、及び高い信頼性など、優れた特性を備えることが要求される。
【先行技術文献】
【特許文献】
【0005】
米国特許出願公開第2010/0270588号明細書
【発明の概要】
【発明が解決しようとする課題】
【0006】
本発明が解決しようとする課題は、特性の優れたスイッチング素子を有する記憶装置を提供することにある。
【課題を解決するための手段】
【0007】
実施形態の記憶装置は、第1の導電層と、第2の導電層と、前記第1の導電層と前記第2の導電層との間に設けられた第3の導電層と、前記第1の導電層と前記第3の導電層との間に設けられたスイッチング層と、前記第3の導電層と前記第2の導電層との間に設けられた抵抗変化層と、を含むメモリセルを備え、前記スイッチング層は、少なくとも一つの第1の領域と、前記第1の領域の化学組成と異なる化学組成を有する少なくとも一つの第2の領域とを含み、前記第1の領域は、ジルコニウム(Zr)、イットリウム(Y)、タンタル(Ta)、ランタン(La)、セリウム(Ce)、チタン(Ti)、ハフニウム(Hf)、マグネシウム(Mg)、及びアルミニウム(Al)からなる群から選ばれる第1の元素と、酸素(O)、硫黄(S)、セレン(Se)、及びテルル(Te)からなる群から選ばれる第2の元素と、を含む第1の物質を含み、前記第2の領域は、前記第1の元素と、硫黄(S)、セレン(Se)、及びテルル(Te)からなる群から選ばれかつ前記第2の元素の原子番号より原子番号の大きい第3の元素と、を含む第2の物質と、亜鉛(Zn)、スズ(Sn)、ガリウム(Ga)、インジウム(In)、ビスマス(Bi)、マグネシウム(Mg)、及びカルシウム(Ca)からなる群から選ばれる第4の元素と、硫黄(S)、セレン(Se)、及びテルル(Te)からなる群から選ばれる第5の元素と、を含む第3の物質と、を含み、前記第1の領域は前記第4の元素を含むか又は含まず、前記第2の領域の前記第4の元素の原子濃度は、前記第1の領域の前記第4の元素の原子濃度よりも高い。
【図面の簡単な説明】
【0008】
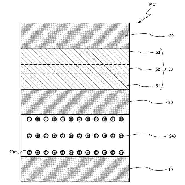
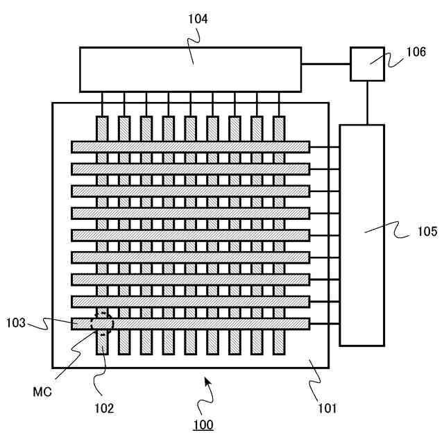
第1の実施形態の記憶装置のブロック図。
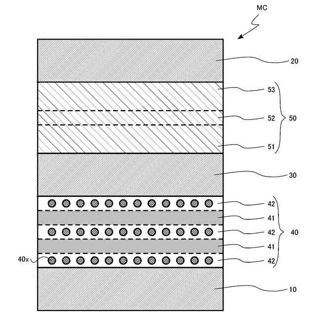
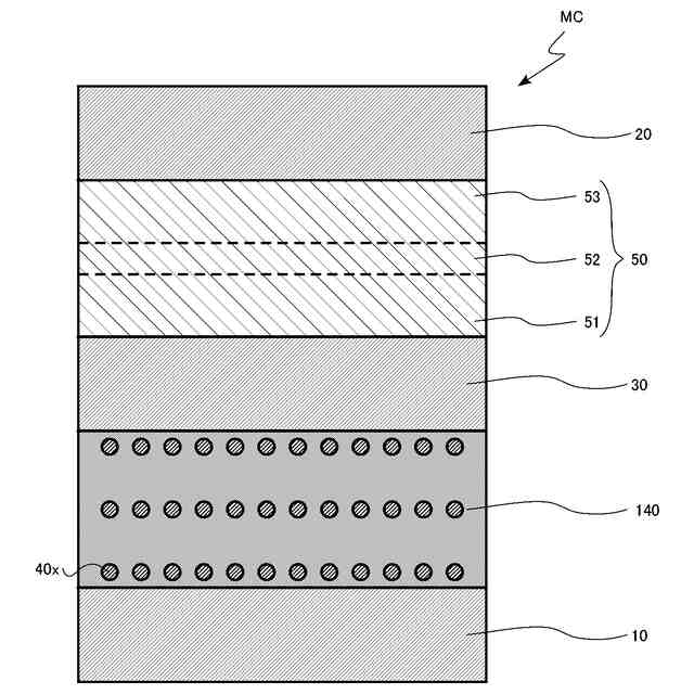
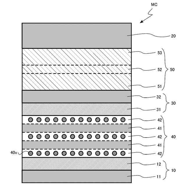
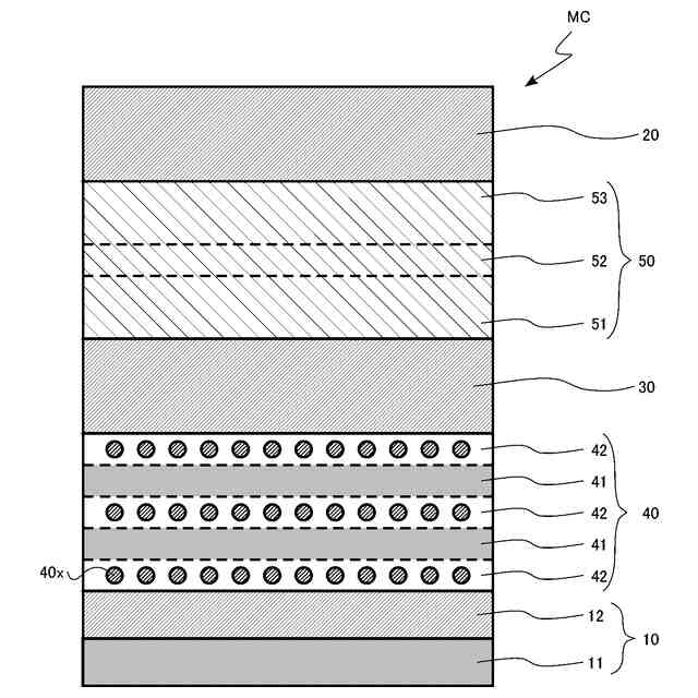
第1の実施形態の記憶装置のメモリセルの模式断面図。
第1の実施形態の記憶装置の課題の説明図。
第1の実施形態のスイッチング素子の電流電圧特性の説明図。
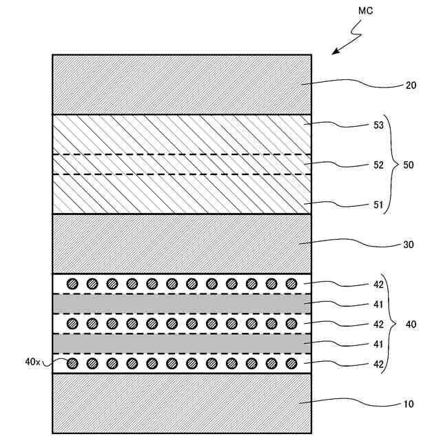
第1の比較形態の記憶装置のメモリセルの模式断面図。
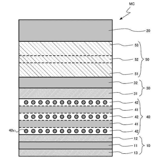
第2の比較形態の記憶装置のメモリセルの模式断面図。
第1の実施形態の第1の変形例の記憶装置のメモリセルの模式断面図。
第1の実施形態の第2の変形例の記憶装置のメモリセルの模式断面図。
第1の実施形態の第3の変形例の記憶装置のメモリセルの模式断面図。
第1の実施形態の第4の変形例の記憶装置のメモリセルの模式断面図。
第2の実施形態の記憶装置のメモリセルの模式断面図。
第3の実施形態の記憶装置のメモリセルの模式断面図。
第4の実施形態の記憶装置のメモリセルの模式断面図。
第4の実施形態のメモリ素子の電流電圧特性の説明図。
第4の実施形態の記憶装置のメモリ動作の第1の動作例の説明図。
第4の実施形態の記憶装置のメモリ動作の第2の動作例の説明図。
第4の実施形態の第1の変形例のメモリ素子の電流電圧特性の説明図。
第4の実施形態の第1の変形例の記憶装置のメモリ動作の第3の動作例の説明図。
第4の実施形態の第1の変形例の記憶装置のメモリ動作の第4の動作例の説明図。
第4の実施形態の第2の変形例のメモリ素子の電流電圧特性の説明図。
第4の実施形態の第2の変形例の記憶装置のメモリ動作の第5の動作例の説明図。
第4の実施形態の第2の変形例の記憶装置のメモリ動作の第6の動作例の説明図。
第4の実施形態の第3の変形例のメモリ素子の電流電圧特性の説明図。
第4の実施形態の第3の変形例の記憶装置のメモリ動作の第7の動作例の説明図。
第4の実施形態の第3の変形例の記憶装置のメモリ動作の第8の動作例の説明図。
【発明を実施するための形態】
【0009】
以下、図面を参照しつつ本発明の実施形態を説明する。なお、以下の説明では、同一又は類似の部材などには同一の符号を付し、一度説明した部材などについては適宜その説明を省略する。
【0010】
本明細書中の記憶装置を構成する化学組成の定性分析及び定量分析は、例えば、ラザフォード後方散乱分光法(Rutherford Backscattering Spectroscopy:RBS)、二次イオン質量分析法(Secondary Ion Mass Spectroscopy:SIMS)、エネルギー分散型X線分光法(Energy Dispersive X-ray Spectroscopy:EDX)や電子エネルギー損失分光法(Electron Energy Loss Spectroscopy:EELS)などにより行うことが可能である。また、記憶装置を構成する部材の厚さ、部材間の距離等の測定には、例えば、透過型電子顕微鏡(Transmission Electron Microscope:TEM)を用いることが可能である。また、記憶装置を構成する部材の構成物質の同定、存在割合、結合状態、局所構造(原子間距離、配位数)、化学状態の計測には、例えば、X線光電子分光法(X-ray Photoelectron Spectroscopy:XPS)、X線吸収微細構造解析(X-ray Absorption Fine Structure:XAFS)、ラマン分光法(Raman Spectroscopy:Raman)、又はEELSを用いることが可能である。また、記憶装置を構成する部材のバンドギャップの測定には、例えば、EELSを用いることが可能である。
(【0011】以降は省略されています)
この特許をJ-PlatPat(特許庁公式サイト)で参照する
関連特許
エイブリック株式会社
半導体装置
1か月前
エイブリック株式会社
半導体装置
1日前
富士電機株式会社
半導体装置
22日前
富士電機株式会社
半導体装置
4日前
国立大学法人 和歌山大学
光検出器
1か月前
AGC株式会社
太陽電池モジュール
7日前
三菱電機株式会社
半導体装置
1か月前
株式会社半導体エネルギー研究所
半導体装置
1か月前
株式会社半導体エネルギー研究所
半導体装置
1か月前
日亜化学工業株式会社
発光装置
22日前
ミツミ電機株式会社
半導体装置
1日前
日亜化学工業株式会社
発光素子
2日前
キヤノン株式会社
有機発光素子
14日前
株式会社半導体エネルギー研究所
半導体装置
23日前
デクセリアルズ株式会社
受光装置
今日
住友電気工業株式会社
半導体装置
14日前
ローム株式会社
窒化物半導体装置
28日前
株式会社東芝
熱電変換装置
2日前
ローム株式会社
半導体装置
2日前
ローム株式会社
窒化物半導体装置
22日前
株式会社半導体エネルギー研究所
発光デバイス
1か月前
サンケン電気株式会社
半導体装置
今日
ローム株式会社
TVSダイオード
2日前
ローム株式会社
TVSダイオード
2日前
住友電気工業株式会社
半導体装置
14日前
TDK株式会社
光検知装置
1日前
キオクシア株式会社
記憶装置
今日
三菱電機株式会社
半導体装置
8日前
内山工業株式会社
太陽電池
今日
日亜化学工業株式会社
発光素子
25日前
個人
半導体装置
24日前
株式会社カネカ
太陽光発電システム
23日前
株式会社カネカ
太陽電池モジュール
2日前
キオクシア株式会社
半導体装置
8日前
キオクシア株式会社
磁気メモリ
1か月前
国立大学法人東京科学大学
半導体装置
23日前
続きを見る
他の特許を見る