TOP
|
特許
|
意匠
|
商標
特許ウォッチ
Twitter
他の特許を見る
公開番号
2025145767
公報種別
公開特許公報(A)
公開日
2025-10-03
出願番号
2024046144
出願日
2024-03-22
発明の名称
情報処理装置、および、情報処理方法
出願人
トヨタ自動車株式会社
代理人
弁理士法人明成国際特許事務所
主分類
G06Q
50/04 20120101AFI20250926BHJP(計算;計数)
要約
【課題】カメラから出力されるデータを用いて移動体を識別できる技術を提供する。
【解決手段】情報処理装置は、移動体の製造場所を俯瞰して撮影する定点カメラから出力される定点データと、製造場所において移動体の製造に従事する作業者に装着されることで、作業者の視線に応じた領域を撮影するウェアラブルカメラから出力される作業者視線データと、を取得する取得部と、移動体の外面に付された移動体を識別するための移動体識別情報を作業者視線データから認識する認識部と、定点データから移動体を検出する検出部と、検出部によって検出された定点データ中の移動体に、作業者視線データから認識された移動体識別情報を紐付けることで、移動体を識別する識別部と、を備える。
【選択図】図1
特許請求の範囲
【請求項1】
情報処理装置であって、
移動体の製造場所を俯瞰して撮影する定点カメラから出力される定点データと、前記製造場所において前記移動体の製造に従事する作業者に装着されることで、前記作業者の視線に応じた領域を撮影するウェアラブルカメラから出力される作業者視線データと、を取得する取得部と、
前記移動体の外面に付された前記移動体を識別するための移動体識別情報を前記作業者視線データから認識する認識部と、
前記定点データから前記移動体を検出する検出部と、
前記検出部によって検出された前記定点データ中の前記移動体に、前記作業者視線データから認識された前記移動体識別情報を紐付けることで、前記移動体を識別する識別部と、を備える、情報処理装置。
続きを表示(約 1,100 文字)
【請求項2】
請求項1に記載の情報処理装置であって、
前記定点データと前記作業者視線データとはそれぞれ、複数の異なるタイミングで撮影されたデータを含み、
前記検出部は、前記定点データの撮影時刻と、前記作業者視線データの撮影時刻と、を対応づける時間同期を行うことで、前記移動体識別情報が認識された前記作業者視線データに対応する前記定点データを抽出し、抽出した前記定点データから前記移動体を検出する、情報処理装置。
【請求項3】
請求項1に記載の情報処理装置であって、
前記取得部は、異なる場所に設置された複数の前記定点カメラからそれぞれ出力される複数の前記定点データを取得し、
前記移動体識別情報が紐付けられた前記移動体が、一の前記定点カメラの撮影範囲内から、前記一の定点カメラとは異なる他の定点カメラの撮影範囲内に移動した場合に、前記検出部は、前記他の定点カメラから出力された前記定点データから前記移動体を検出し、
前記識別部は、前記検出部によって検出された前記他の定点カメラ中の前記移動体に、前記移動体識別情報を紐付けることで、複数の前記定点カメラの前記撮影範囲間で前記移動体を識別して追跡する、情報処理装置。
【請求項4】
請求項1に記載の情報処理装置であって、さらに、
前記移動体識別情報と、前記移動体識別情報によって特定される前記移動体を撮影した前記定点データと、前記移動体識別情報によって特定される前記移動体を製造するときに発生した不具合に相関のある情報と、を紐付けたデータベースを作成する作成部と、
前記データベースを用いて、機械学習モデルを学習させる学習部と、
学習済みの前記機械学習モデルを用いて、前記不具合の発生に関連する要素を推定し、推定結果を出力する出力部と、を備える、情報処理装置。
【請求項5】
情報処理方法であって、
移動体の製造場所を俯瞰して撮影する定点カメラから出力される定点データと、前記製造場所において前記移動体の製造に従事する作業者に装着されることで、前記作業者の視線に応じた領域を撮影するウェアラブルカメラから出力される作業者視線データと、を取得する取得工程と、
前記移動体の外面に付された前記移動体を識別するための移動体識別情報を前記作業者視線データから認識する認識工程と、
前記定点データから前記移動体を検出する検出工程と、
前記検出工程において検出された前記定点データ中の前記移動体に、前記作業者視線データから認識された前記移動体識別情報を紐付けることで、前記移動体を識別する識別工程と、を備える、情報処理方法。
発明の詳細な説明
【技術分野】
【0001】
本開示は、情報処理装置、および、情報処理方法に関する。
続きを表示(約 4,000 文字)
【背景技術】
【0002】
従来、生産ラインに設置されたカメラから出力される画像データを用いて、生産ラインに流れるワークを識別する技術が知られている(特許文献1)。この技術では、画像データを取得した画像処理装置が、画像データ中のワークに対して固有の識別番号を付与することで、ワークを識別している。
【先行技術文献】
【特許文献】
【0003】
特開2010-55334号公報
【発明の概要】
【発明が解決しようとする課題】
【0004】
従来の技術では、画像処理装置が画像データ中のワークに固有の識別番号を付与している。そのため、ワークの生産過程において、複数の画像処理装置が用いられる場合に、同一のワークに対して、各画像処理装置がそれぞれ異なる識別番号を付与する可能性がある。同一のワークに異なる識別番号が付与された場合、ワークの生産過程において、ワークを一意に識別できない場合がある。そこで、本願発明者らは、ワークの外面に予め付された識別情報を用いて、ワークを識別することに想到した。しかし、移動体のような大型のワークを生産する場合、ワーク全体の外形を撮影するために、ワークから離れた位置にカメラを設置する場合がある。この場合、画像データから識別情報を認識できない虞がある。
【課題を解決するための手段】
【0005】
本開示は、以下の形態として実現することが可能である。
【0006】
(1)本開示の一形態によれば、情報処理装置が提供される。情報処理装置は、移動体の製造場所を俯瞰して撮影する定点カメラから出力される定点データと、前記製造場所において前記移動体の製造に従事する作業者に装着されることで、前記作業者の視線に応じた領域を撮影するウェアラブルカメラから出力される作業者視線データと、を取得する取得部と、前記移動体の外面に付された前記移動体を識別するための移動体識別情報を前記作業者視線データから認識する認識部と、前記定点データから前記移動体を検出する検出部と、前記検出部によって検出された前記定点データ中の前記移動体に、前記作業者視線データから認識された前記移動体識別情報を紐付けることで、前記移動体を識別する識別部と、を備える。この形態によれば、情報処理装置は、ウェアラブルカメラにより撮影することで取得された移動体識別情報を、定点データ中の移動体に紐付けることで、移動体を識別できる。これにより、情報処理装置は、移動体の生産過程において、複数の製造工程に亘って、移動体を一元管理できる。このとき、ウェアラブルカメラは、作業者に装着されているため、定点カメラよりも近い位置から移動体の外面に付された移動体識別情報を撮影できる。また、作業者が、ウェアラブルカメラを装着した状態で移動したり、ウェアラブルカメラの向きを変更したりすることで、ウェアラブルカメラは、移動体の外面に付された移動体識別情報をより確実に撮影できる。よって、ウェアラブルカメラから出力される作業者視線データから移動体識別情報を認識しやすくできる。
(2)上記形態であって、前記定点データと前記作業者視線データとはそれぞれ、複数の異なるタイミングで撮影されたデータを含み、前記検出部は、前記定点データの撮影時刻と、前記作業者視線データの撮影時刻と、を対応づける時間同期を行うことで、前記移動体識別情報が認識された前記作業者視線データに対応する前記定点データを抽出し、抽出した前記定点データから前記移動体を検出してもよい。この形態によれば、情報処理装置は、時間同期を行い、移動体識別情報が認識された作業者視線データに対応する定点データを抽出できる。そして、情報処理装置は、抽出した定点データから移動体を検出できる。
(3)上記形態であって、前記取得部は、異なる場所に設置された複数の前記定点カメラからそれぞれ出力される複数の前記定点データを取得し、前記移動体識別情報が紐付けられた前記移動体が、一の前記定点カメラの撮影範囲内から、前記一の定点カメラとは異なる他の定点カメラの撮影範囲内に移動した場合に、前記検出部は、前記他の定点カメラから出力された前記定点データから前記移動体を検出し、前記識別部は、前記検出部によって検出された前記他の定点カメラ中の前記移動体に、前記移動体識別情報を紐付けることで、複数の前記定点カメラの前記撮影範囲間で前記移動体を識別して追跡してもよい。この形態によれば、移動体識別情報が紐付けられた移動体が、一の定点カメラの撮影範囲内から他の定点カメラの撮影範囲内に移動した場合に、情報処理装置は、複数の定点カメラの撮影範囲間で移動体を識別して追跡できる。
(4)上記形態であって、さらに、前記移動体識別情報と、前記移動体識別情報によって特定される前記移動体を撮影した前記定点データと、前記移動体識別情報によって特定される前記移動体を製造するときに発生した不具合に相関のある情報と、を紐付けたデータベースを作成する作成部と、前記データベースを用いて、機械学習モデルを学習させる学習部と、学習済みの前記機械学習モデルを用いて、前記不具合の発生に関連する要素を推定し、推定結果を出力する出力部と、を備えてもよい。この形態によれば、情報処理装置は、データベースを作成し、データベースを用いて機械学習モデルを学習させることで、不具合の発生に関する要素を推定して出力できる。
(5)本開示の他の形態によれば、情報処理方法が提供される。情報処理方法は、移動体の製造場所を俯瞰して撮影する定点カメラから出力される定点データと、前記製造場所において前記移動体の製造に従事する作業者に装着されることで、前記作業者の視線に応じた領域を撮影するウェアラブルカメラから出力される作業者視線データと、を取得する取得工程と、前記移動体の外面に付された前記移動体を識別するための移動体識別情報を前記作業者視線データから認識する認識工程と、前記定点データから前記移動体を検出する検出工程と、前記検出工程において検出された前記定点データ中の前記移動体に、前記作業者視線データから認識された前記移動体識別情報を紐付けることで、前記移動体を識別する識別工程と、を備える。この形態によれば、ウェアラブルカメラにより撮影することで取得された移動体識別情報を、定点データ中の移動体に紐付けることで、移動体を識別できる。これにより、移動体の生産過程において、複数の製造工程に亘って、移動体を一元管理できる。このとき、ウェアラブルカメラは、作業者に装着されているため、定点カメラよりも近い位置から移動体の外面に付された移動体識別情報を撮影できる。また、作業者が、ウェアラブルカメラを装着した状態で移動したり、ウェアラブルカメラの向きを変更したりすることで、ウェアラブルカメラは、移動体の外面に付された移動体識別情報をより確実に撮影できる。よって、ウェアラブルカメラから出力される作業者視線データから移動体識別情報を認識しやすくできる。
本開示は、上記の情報処理装置および情報処理方法以外の種々の形態で実現することが可能である。例えば、情報処理装置と定点カメラとウェアラブルカメラとを備える情報処理システム、情報処理装置および情報処理システムの製造方法、情報処理装置および情報処理システムの制御方法、その制御方法を実現するコンピュータプログラム、そのコンピュータプログラムを記録した一時的でない記録媒体等の形態で実現できる。
【図面の簡単な説明】
【0007】
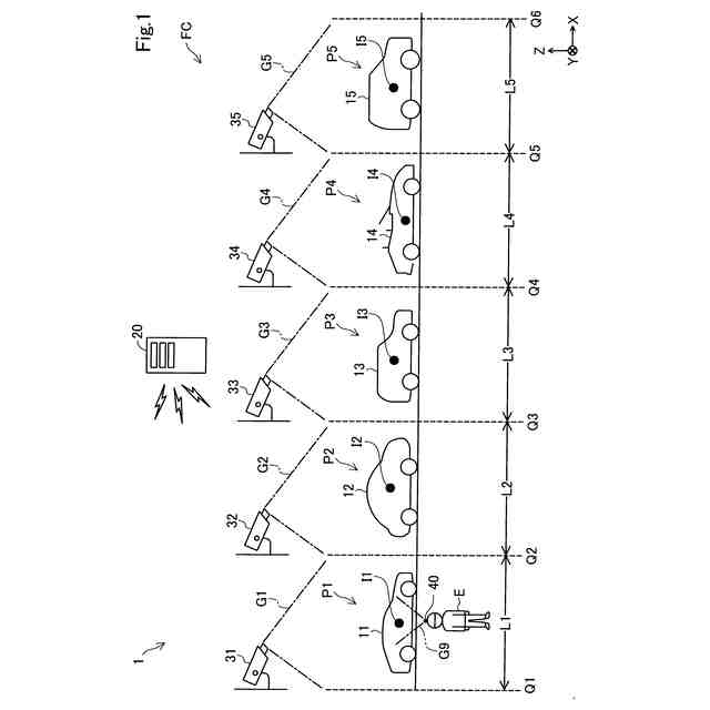
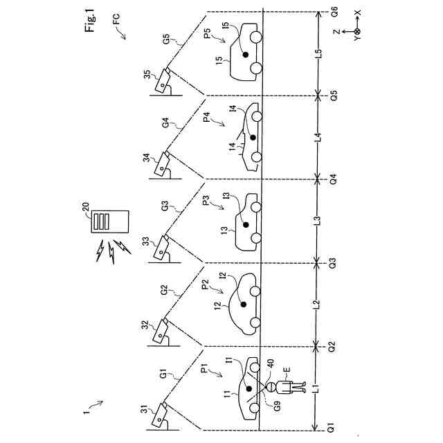
情報処理システムの構成を示す図。
情報処理装置の構成を示すブロック図。
車両識別方法の一例を示すフローチャート。
車両追跡方法の一例を示すフローチャート。
【発明を実施するための形態】
【0008】
A.第1実施形態:
図1は、情報処理システム1の構成を示す図である。情報処理システム1は、移動体を製造する工場FCにおいて用いられる。情報処理システム1は、1以上の移動体と、情報処理装置20と、1以上の定点カメラ31~35と、ウェアラブルカメラ40とを備える。
【0009】
本開示において、「移動体」は、移動し得る物体を意味し、例えば、車両11~15や電動垂直離着陸機(空飛ぶ自動車)である。本実施形態では、移動体は、車両11~15である。車両11~15は、車輪によって走行する車両であっても無限軌道によって走行する車両であってもよく、例えば、乗用車、トラック、バス、二輪車、四輪車、戦車、工事用車両などである。車両11~15は、電気自動車、ガソリン自動車、ハイブリッド自動車、ならびに燃料電池自動車を含む。移動体が車両11~15以外である場合には、本開示における「車両」「車」との表現を、適宜に「移動体」に置き換えることができ、「走行」との表現を、適宜に「移動」に置き換えることができる。
【0010】
定点カメラ31~35は、車両11~15の製造場所L1~L5を俯瞰して撮影する。定点カメラ31~35は、検出結果として、定点データを出力する。本実施形態では、定点データは、動画データである。つまり、定点データは、複数の異なるタイミングで撮影されたデータを含む。定点カメラ31~35は、図示しない通信装置を備えており、有線通信あるいは無線通信により、情報処理装置20等の他の装置と通信できる。定点カメラ31~35は、例えば、工場FCにおいて、車両11~15の製造場所L1~L5における天井、壁、支柱等の支持部材に固定されている。
(【0011】以降は省略されています)
この特許をJ-PlatPat(特許庁公式サイト)で参照する
関連特許
トヨタ自動車株式会社
装置
25日前
トヨタ自動車株式会社
車両
15日前
トヨタ自動車株式会社
装置
25日前
トヨタ自動車株式会社
車両
5日前
トヨタ自動車株式会社
車両
1日前
トヨタ自動車株式会社
車両
26日前
トヨタ自動車株式会社
車両
1日前
トヨタ自動車株式会社
電池
5日前
トヨタ自動車株式会社
車両
24日前
トヨタ自動車株式会社
電動車
3日前
トヨタ自動車株式会社
電動車
15日前
トヨタ自動車株式会社
電動車
1日前
トヨタ自動車株式会社
モータ
16日前
トヨタ自動車株式会社
電動車
1日前
トヨタ自動車株式会社
電動車
1日前
トヨタ自動車株式会社
電解液
1日前
トヨタ自動車株式会社
回転子
1日前
トヨタ自動車株式会社
サーバ
9日前
トヨタ自動車株式会社
回転子
16日前
トヨタ自動車株式会社
ロータ
3日前
トヨタ自動車株式会社
蓄電装置
2日前
トヨタ自動車株式会社
制御装置
1日前
トヨタ自動車株式会社
蓄電装置
9日前
トヨタ自動車株式会社
蓄電装置
5日前
トヨタ自動車株式会社
電源装置
26日前
トヨタ自動車株式会社
蓄電装置
5日前
トヨタ自動車株式会社
蓄電セル
3日前
トヨタ自動車株式会社
検査装置
5日前
トヨタ自動車株式会社
蓄電装置
2日前
トヨタ自動車株式会社
加熱装置
15日前
トヨタ自動車株式会社
制御装置
15日前
トヨタ自動車株式会社
蓄電装置
3日前
トヨタ自動車株式会社
蓄電セル
3日前
トヨタ自動車株式会社
水系電池
23日前
トヨタ自動車株式会社
蓄電装置
1日前
トヨタ自動車株式会社
蓄電装置
15日前
続きを見る
他の特許を見る