TOP
|
特許
|
意匠
|
商標
特許ウォッチ
Twitter
他の特許を見る
10個以上の画像は省略されています。
公開番号
2025143862
公報種別
公開特許公報(A)
公開日
2025-10-02
出願番号
2024043329
出願日
2024-03-19
発明の名称
情報処理装置
出願人
沖電気工業株式会社
代理人
個人
,
個人
,
個人
主分類
G03G
21/16 20060101AFI20250925BHJP(写真;映画;光波以外の波を使用する類似技術;電子写真;ホログラフイ)
要約
【課題】タグをもつ着脱可能な交換ユニットの異常方向からの接近により、接触部(が座屈変形等のダメージを受け、タグと正常接触し難くなるという課題があった。
【解決手段】 離接可能なタグ6と接触する屈曲接点部16aを有するプリンタ1において、屈曲接点部16aを付勢する可撓部16bと、屈曲接点部16aの近傍に配置され、付勢された屈曲接点部16aが突出可能な接点カバー30とを有し、タグ6が屈曲接点部16a及び接点カバー30から離れた状態で、屈曲接点部16aが、可撓部16bにより接点カバー30から突出する方向に付勢され、正常範囲内でタグ6が屈曲接点部16aと接触して移動するとき、可撓部16bは、屈曲接点部16aを付勢してタグ6に接触させ、異常範囲内でタグ6が接点カバー30と接触して移動したとき、接点カバー30の変位に伴って、屈曲接点部16aが付勢に抗して変位する。
【選択図】図8
特許請求の範囲
【請求項1】
離接可能な離接部と接触する接触部を有する情報処理装置において、
前記接触部を付勢する付勢部と、
前記接触部近傍に配置され、前記付勢部によって付勢された前記接触部が突出可能なカバーと
を有し、
前記離接部が前記接触部及び前記カバーから離れた状態で、前記接触部が、前記付勢部により前記カバーから突出する方向に付勢され、
前記離接部が前記接触部と接触する第1の範囲内で移動するとき、前記付勢部は、前記接触部を前記カバーから突出する方向に付勢して前記離接部に接触させ、
前記第1の範囲とは異なる前記離接部が前記接触部と接触せずに前記カバーと接触する第2の範囲内で移動したとき、前記カバーの変位に伴って、前記接触部が前記付勢に抗して変位することを特徴とする情報処理装置。
続きを表示(約 1,500 文字)
【請求項2】
前記情報処理装置に対して着脱可能で、前記離接部を有する着脱ユニットと、前記接触部と前記付勢部としての可撓性部材と前記当接部とを有するコンタクト部材とを有し、
前記着脱ユニットが着脱される際、前記離接部が前記接触部と接触せずに前記カバーを押圧すると、前記コンタクト部材は、前記当接部が前記カバー部材と当接した状態で、前記カバーと共に前記付勢に抗して変位することを特徴とする請求項1記載の情報処理装置。
【請求項3】
離接部を有する着脱ユニットが着脱可能な情報処理装置であって、
前記離接部と接触する、変位可能に設けられたコンタクト部材と、
前記コンタクト部材を保護する移動可能なカバーと
を備え、
前記コンタクト部材は、
前記カバーから突出し、前記離接部と接触可能な接触部と、前記接触部を前記離接部に向けて所定の付勢力で付勢する付勢部と、前記接触部と前記付勢部の間に設けられ、前記カバーと当接する当接部とを有し、
前記着脱ユニットが前記情報処理装置に装着される際、前記離接部が前記接触部と接触せずに前記カバーを押圧すると、前記コンタクト部材は、前記当接部が前記カバー部材と当接した状態で、前記カバーと共に前記付勢力に抗して変位することを特徴とする情報処理装置。
【請求項4】
前記付勢部としての可撓性部材と前記カバーとの間で力を伝達する伝達部と、
前記カバーに配設されて前記伝達部と接触可能な作用部とを有し、
前記可撓性部材は、前記伝達部と前記作用部とが接触した状態で前記カバーから前記接触部を突出させ、
前記離接部を備える着脱可能な装着部品が前記第2の範囲内で前記接触部に近づくと、前記カバーが押されて変位して前記伝達部を介して前記可撓性部材を撓ませ、前記接触部を前記カバーからの突出量を略変えないまま移動させ、
前記装着部品が前記第1の範囲内で前記接触部に近づき、前記離接部によって前記接触部が押されると、前記可撓性部材が撓んで前記作用部から前記伝達部が離間した状態となることを特徴とする請求項1記載の情報処理装置。
【請求項5】
前記可撓性部材、前記接触部、及び前記伝達部は、接点ばねで形成され、
前記接点ばねは、
可撓しやすく略円弧状に形成された可撓部と、
屈曲形状に形成されて前記離接部と接触する屈曲接点部と、
前記可撓部と前記屈曲接点部とを連結し、前記作用部と当接可能な腕部と
を備えたことを特徴とする請求項4記載の情報処理装置。
【請求項6】
前記接触部と前記可撓性部材とを備えたコンタクト部材と、
前記接触部から離れた前記可撓性部材の近傍に前記カバーを支持する支点と
を備え、
前記カバーは、少なくとも前記コンタクト部材の、前記接触部と、前記接触部を挟んで前記可撓性部材と反対側にある自由端部との間を覆うように配置されることを特徴とする請求項4記載の情報処理装置。
【請求項7】
前記コンタクト部材は、前記接触部と前記可撓性部材との間、又は前記接触部と前記自由端部との間に前記伝達部を有することを特徴とする請求項6記載の情報処理装置。
【請求項8】
前記離接部は、
接点と、
前記接点の外側に前記離接部を前記装着部品に支持する突出部と
を備え、
前記接点が前記接触部と接触せずに前記突出部が前記カバーと接触して移動すると前記カバーを変位することを特徴とする請求項4記載の情報処理装置。
発明の詳細な説明
【技術分野】
【0001】
本発明は、本体に対して着脱自在に装着される装着部材に備えられた情報伝達端子との電気的な接触部を備えた情報処理装置に関する。
続きを表示(約 2,700 文字)
【背景技術】
【0002】
従来、例えば現像ユニットなどの消耗品としての交換ユニットに情報を記録するためのタグを具備し、交換ユニットの消耗状況を管理している。このような画像形成装置には、装着された交換ユニットのタグと所定の接圧でもって当接するばね状の接点部材が装置本体側に設けられている(例えば、特許文献1参照)。
【先行技術文献】
【特許文献】
【0003】
特開2012-234190号公報(第12頁、図13)
【発明の概要】
【発明が解決しようとする課題】
【0004】
しかしながら、交換ユニットの着脱に際して、タグのような離接部が接触部に接近する方向によっては当該接触部側に座屈変形のようなダメージをうけることがあり、この場合、離接部と接触部との接触不良が生じ、離接部と正常接触し難くなるという課題があった。
【課題を解決するための手段】
【0005】
本発明による情報処理装置は、離接可能な離接部と接触する接触部を有する情報処理装置であって、
前記接触部を付勢する可撓性部材と、前記接触部近傍に配置され、前記可撓性部材によって付勢された前記接触部が突出可能なカバーとを有し、
前記離接部が前記接触部及び前記カバーから離れた状態で、前記接触部が、前記可撓性部材により前記カバーから突出する方向に付勢され、第1の範囲内で前記離接部が前記接触部と接触して移動するとき、前記可撓性部材は、前記接触部を前記カバーから突出する方向に付勢して前記離接部に接触させ、前記第1の範囲とは異なる第2の範囲内で前記離接部が前記接触部と接触せずに前記カバーと接触して移動したとき、前記カバーの変位に伴って、前記接触部が前記付勢に抗して変位することを特徴とする。
本発明による別の情報処理装置は、離接部を有する着脱ユニットが着脱可能な情報処理装置であって、
前記離接部と接触する、変位可能に設けられたコンタクト部材と、前記コンタクト部材を保護する移動可能なカバーとを備え、前記コンタクト部材は、前記カバーから突出し、前記離接部と接触可能な接触部と、前記接触部を前記離接部に向けて所定の付勢力で付勢する付勢部と、前記接触部と前記付勢部の間に設けられ、前記カバーと当接する当接部とを有し、
前記着脱ユニットが前記情報処理装置に装着される際、前記離接部が前記接触部と接触せずに前記カバーを押圧すると、前記コンタクト部材は、前記当接部が前記カバー部材と当接した状態で、前記カバーと共に前記付勢力に抗して変位することを特徴とする。
【発明の効果】
【0006】
本発明によれば、接触部に対する離接部の接近方向による接触部側へのダメージを抑制できるため、適切な離接部と接触部との接触を確保することができる。
【図面の簡単な説明】
【0007】
本発明によるプリンタ1の、フロントカバー2を開いた状態の外観斜視図である。
プリンタに着脱自在に装着される現像ユニットが、斜め上方に外された未装着状態を示す外観斜視図である。
現像ユニットの外観斜視図である。
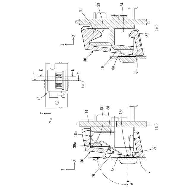
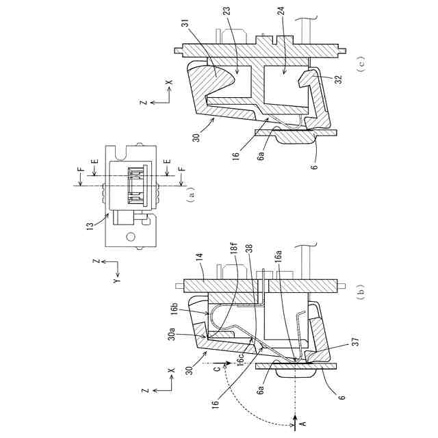
図2に示すタグ接点機構部周辺の部分拡大図である。
タグ接点機構部を上方から見た分解斜視図である。
タグ接点機構部を図5とは反対側の下方からみた分解斜視図である。
タグ接点機構部の構成を示し、(a)は矢印A方向からみた正面図であり、(b)は(a)のE-E断面図であり、(c)はタグ接点機構部の中央部での断面図、即ち(a)のF-F断面図である。
現像ユニット装着時のタグ接点機構部の構成を示し、(a)は矢印A方向からみた正面図であり、(b)は(a)のE-E断面図であり、(c)は(a)のF-F断面図である。
現像ユニットが外されている図7に示す未装着状態において、矢印D方向から接点カバーが押し込まれた時の状態を示し、(a)は矢印A方向からみた正面図であり、(b)は(a)のE-E断面図であり、(c)は(a)のF-F断面図である。
本実施の形態1における変形例1として接点カバーの変形例である接点カバーを備えたタグ接点機構部の構成を示し、(a)はその外観斜視図であり、(b)はその正面図である。
変形例1の接点カバーのみの構成を示し、(a)はその外観斜視図であり、同図(b)は同図(a)とは反対側の斜め下方からみた外観斜視図である。
本実施の形態1における変形例2として接点ばねの代わりとなる接触部保持機構の構成を示す構成図である。
本実施の形態1における変形例3として、現像ユニット3(図3)のタグ6の周辺を示す部分拡大図である。
比較例として示す、接点カバーがない場合の構成、及び問題点の説明に供する図であり、(a)はその構成を示し、(b)は損傷による変形例を示す。
【発明を実施するための形態】
【0008】
実施の形態1.
図1は、本発明の情報処理装置としてのプリンタ1の外観斜視図で、フロントカバー2を開いた状態を示し、図2は、プリンタ1に着脱自在に装着される現像ユニット3が、斜め上方に外された未装着状態を示す外観斜視図である。
【0009】
これらの図において、プリンタ1は、電子写真式のモノクロプリンタとしの構成を有し、例えばフロントカバー2と現像ユニット3を備える。現像ユニット3は、寿命に達したら交換が必要であるため、プリンタ1本体に対して白抜き矢印(図2)方向に着脱自在に装着される。フロントカバー2は、現像ユニット3の着脱操作時又は用紙のジャム解除操作等において開閉操作されるものであり、図1に示す矢印A方向(X方向)からみてプリンタ本体の正面側に、回動自在に設けられる。
【0010】
プリンタ1は、図2に示すように、フロントカバー2を開けた際に現れる現像ユニット3の収納部の上方前面に、その左端部にタグ接点機構部13を固定保持したタグ接点基板保持フレーム11を配設している。タグ接点機構部13は、後述するように、現像ユニット3のタグ6(図3)と接触してタグ6の記録情報を通信するための接点を有し、タグ6と対向する位置においてタグ接点基板保持フレーム11に固定保持される。
(【0011】以降は省略されています)
この特許をJ-PlatPat(特許庁公式サイト)で参照する
関連特許
沖電気工業株式会社
印刷装置
1か月前
沖電気工業株式会社
施錠開閉装置
25日前
沖電気工業株式会社
処理システム
3日前
沖電気工業株式会社
画像形成装置
1か月前
沖電気工業株式会社
媒体処理装置
3日前
沖電気工業株式会社
画像形成装置
3日前
沖電気工業株式会社
画像形成装置
1か月前
沖電気工業株式会社
情報処理装置
1か月前
沖電気工業株式会社
画像形成装置
4日前
沖電気工業株式会社
画像形成装置
5日前
沖電気工業株式会社
棒金収納装置
1か月前
沖電気工業株式会社
画像形成装置
16日前
沖電気工業株式会社
画像形成装置
26日前
沖電気工業株式会社
半導体デバイス
25日前
沖電気工業株式会社
発光装置及び表示装置
25日前
沖電気工業株式会社
電源装置及び画像形成装置
1か月前
沖電気工業株式会社
現金処理装置及び印字装置
1か月前
沖電気工業株式会社
定着装置及び画像形成装置
6日前
沖電気工業株式会社
定着装置及び画像形成装置
3日前
沖電気工業株式会社
電源制御装置及び画像形成装置
24日前
沖電気工業株式会社
紙葉類取扱装置及び現金処理装置
9日前
沖電気工業株式会社
紙葉類取扱装置及び現金処理装置
1か月前
沖電気工業株式会社
プリンタドライバ及び画像形成装置
26日前
沖電気工業株式会社
直流電源装置および二次電池充電方法
1か月前
沖電気工業株式会社
部品管理装置、プログラムおよび方法
1か月前
沖電気工業株式会社
媒体取扱ユニット、及び、媒体取扱装置
26日前
沖電気工業株式会社
通信装置、通信方法、及び通信プログラム
4日前
沖電気工業株式会社
通信端末装置および通信端末装置の制御方法
1か月前
沖電気工業株式会社
情報処理装置、情報処理方法およびプログラム
1か月前
沖電気工業株式会社
情報処理装置、情報処理方法およびプログラム
1か月前
沖電気工業株式会社
通信装置、情報管理システム及び情報管理方法
1か月前
沖電気工業株式会社
情報処理装置、情報処理方法、およびプログラム
24日前
沖電気工業株式会社
現像剤収容体、画像形成ユニット、及び画像形成装置
1か月前
沖電気工業株式会社
現像剤収容体、画像形成ユニットおよび画像形成装置
3日前
沖電気工業株式会社
情報処理装置、情報処理方法、及び情報処理システム
3日前
沖電気工業株式会社
情報処理装置、情報処理プログラム、及び情報処理方法
25日前
続きを見る
他の特許を見る