TOP
|
特許
|
意匠
|
商標
特許ウォッチ
Twitter
他の特許を見る
10個以上の画像は省略されています。
公開番号
2025138132
公報種別
公開特許公報(A)
公開日
2025-09-25
出願番号
2024037034
出願日
2024-03-11
発明の名称
紙葉類取扱装置及び現金処理装置
出願人
沖電気工業株式会社
代理人
個人
主分類
B65H
1/14 20060101AFI20250917BHJP(運搬;包装;貯蔵;薄板状または線条材料の取扱い)
要約
【課題】信頼性を保ち得る紙葉類取扱装置を提供する。
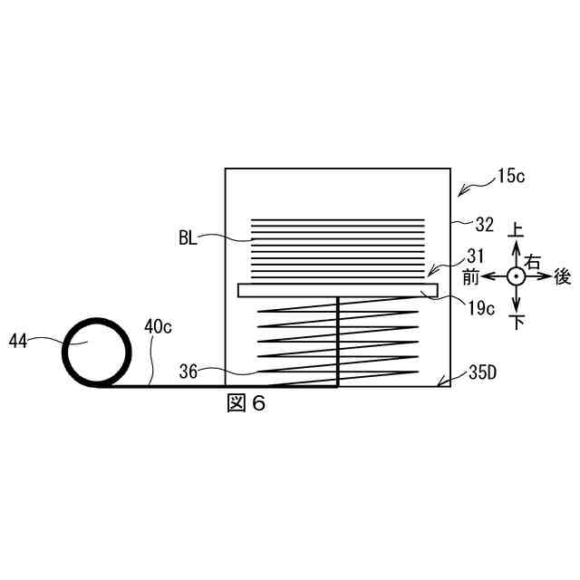
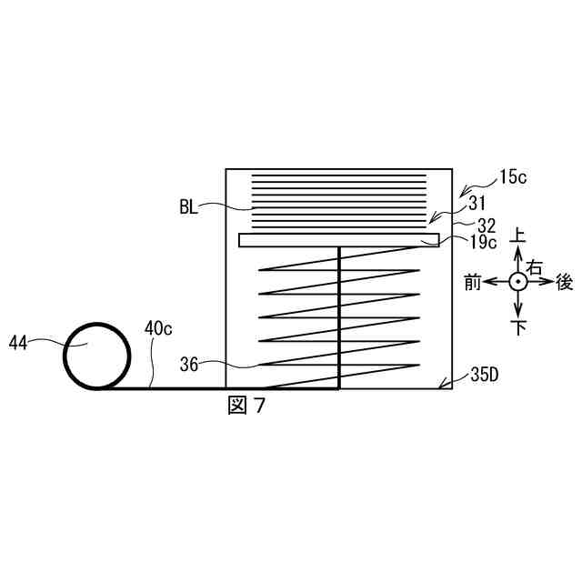
【解決手段】紙幣入出金装置は、上方向及び下方向に移動可能に支持され上面に紙幣BLを集積するステージ19cと、ステージの下面に所定の押圧力で押し付けられて配置され該ステージを上方向に押し上げるように付勢する圧縮コイルばね36と、リール44と、一端がステージに係止され、該ステージを下方向に引張可能なように引き回された状態で他端がリールに係止されたワイヤ40cと、ワイヤをリールに巻き取らせることでステージの位置を低くする動作と該ワイヤを該リールから繰り出させることで該ステージの位置を高くする動作とを、紙幣を該ステージの上面から外部である搬送部へ繰り出させる繰出動作と、紙幣を外部である搬送部から該ステージの上面へ集積させる集積動作とを行っていない状態で実行する釣銭制御部とを設ける。
【選択図】図3
特許請求の範囲
【請求項1】
上方向及び下方向に移動可能に支持され、上面に紙葉類を集積するステージと、
前記ステージの下面に所定の押圧力で押し付けられて配置され、該ステージを前記上方向に押し上げるように付勢する付勢部と、
リールと、
一端が前記ステージに係止され、該ステージを前記下方向に引張可能なように引き回された状態で他端が前記リールに係止されたワイヤと、
前記ワイヤを前記リールに巻き取らせることで前記ステージの位置を低くする動作と、該ワイヤを該リールから繰り出させることで該ステージの位置を高くする動作とを、前記紙葉類を該ステージの上面から外部へ繰り出させる繰出動作と、前記紙葉類を外部から該ステージの上面へ集積させる集積動作とを行っていない状態で実行する制御部と
を有する紙葉類取扱装置。
続きを表示(約 1,300 文字)
【請求項2】
前記制御部は、
前記ステージの位置を低くして最下位とする動作と、該ステージの位置を該最下位よりも高くする動作とを、前記繰出動作と前記集積動作とを行っていない状態で実行する
請求項1に記載の紙葉類取扱装置。
【請求項3】
前記制御部は、
前記ステージの位置を前記最下位とする動作と、該ステージの位置を高くして最上位とする動作とを、前記繰出動作と前記集積動作とを行っていない状態で実行する
請求項2に記載の紙葉類取扱装置。
【請求項4】
前記制御部は、
前記ステージの位置を前記最下位とする動作と、該ステージの位置を前記最上位とする動作とを、該ステージの上面に前記紙葉類が集積されていない状態で実行する
請求項3に記載の紙葉類取扱装置。
【請求項5】
前記制御部は、
前記ステージの位置を前記最下位とする動作と、該ステージの位置を前記最上位とする動作とを、回収動作により前記ステージの上面の全ての前記紙葉類を回収先に搬送させた後に、該ステージの上面に該紙葉類が集積されていない状態で実行する
請求項4に記載の紙葉類取扱装置。
【請求項6】
前記制御部は、
前記ステージの位置を前記最下位とする動作と、該ステージの位置を前記最上位とする動作とを、精査動作により前記ステージの上面の全ての前記紙葉類を一時保留先に搬送させた後に、該ステージの上面に該紙葉類が集積されていない状態で実行する
請求項4に記載の紙葉類取扱装置。
【請求項7】
前記制御部は、
前記ステージの位置を前記最上位から前記最下位とした後に該ステージの位置を該最下位から該最上位とする動作を、該ステージの上面に前記紙葉類が集積されていない状態で実行する
請求項5又は請求項6に記載の紙葉類取扱装置。
【請求項8】
前記制御部は、
前記ステージの位置を低くする動作と該ステージの位置を高くする動作とを所定回数繰り返させる
請求項1に記載の紙葉類取扱装置。
【請求項9】
硬貨を取り扱う硬貨取扱装置と紙葉類を取り扱う紙葉類取扱装置とを有する現金処理装置であって、
前記紙葉類取扱装置は、
上方向及び下方向に移動可能に支持され、上面に前記紙葉類を集積するステージと、
前記ステージの下面に所定の押圧力で押し付けられて配置され、該ステージを前記上方向に押し上げるように付勢する付勢部と、
リールと、
一端が前記ステージに係止され、該ステージを前記下方向に引張可能なように引き回された状態で他端が前記リールに係止されたワイヤと、
前記ワイヤを前記リールに巻き取らせることで前記ステージの位置を低くする動作と、該ワイヤを該リールから繰り出させることで該ステージの位置を高くする動作とを、前記紙葉類を該ステージの上面から外部へ繰り出させる繰出動作と、前記紙葉類を外部から該ステージの上面へ集積させる集積動作とを行っていない状態で実行する制御部と
を有する現金処理装置。
発明の詳細な説明
【技術分野】
【0001】
本発明は紙葉類取扱装置及び現金処理装置に関し、例えばスーパーマーケットやコンビニエンスストア等のような小売店舗の精算所において使用されるレジ釣銭システムに適用して好適なものである。
続きを表示(約 1,800 文字)
【背景技術】
【0002】
近年、レジ釣銭システムにおいては、POS(Point Of Sales)システム等に接続されたPOSレジに、紙幣や硬貨の入出金処理を行う釣銭機が組み合わされたものが普及している。この釣銭機のうち紙幣を処理する紙葉類取扱装置は、レジ係員との間で紙幣の授受を行う入出金部と、紙幣を搬送する搬送部と、投入された紙幣の金種及び真偽を鑑別する鑑別部と、再利用可能な紙幣を金種毎に収納する紙幣収納庫と、再利用すべきでない紙幣を収納するリジェクト庫とを有するものがある。
【0003】
そのような紙葉類取扱装置としては、一端がリールに接続され該リールに巻回されたワイヤの他端を紙幣収納庫のステージに接続し、駆動源でリールを駆動することにより、収納庫のステージを動作させるものがある(例えば、特許文献1参照)。
【先行技術文献】
【特許文献】
【0004】
特開2013-97708号公報
【発明の概要】
【発明が解決しようとする課題】
【0005】
ところで、紙葉類取扱装置は、顧客の紙幣が入金され、釣銭の紙幣を出金するという処理を繰り返す。よって紙葉類取扱装置は、通常時はステージ上にある程度の枚数の紙幣が集積された状態でステージの上昇と下降とを繰り返すこととなる。このため紙葉類取扱装置は、紙幣収納庫が満杯状態になり、ステージが設計上の最も下側の位置であるボトム位置まで下降することは、稀にしか発生しない。この場合、ワイヤのうちの特に一端側は、ほぼ常にリールに巻回されたままの状態となるため、ワイヤに巻き癖が付きやすい。
【0006】
しかしながら、紙葉類取扱装置は、稀に、集積動作時において紙幣収納庫が満杯状態となるまで紙幣が集積される場合や、繰出動作時において満杯状態の紙幣収納庫から紙幣を繰り出す場合において、ワイヤの巻き癖によりステージが正常に動作しなくなり、集積不良や繰出不良が発生してしまい信頼性を保てない可能性があった。
【0007】
本発明は以上の点を考慮してなされたもので、信頼性を保ち得る紙葉類取扱装置及び現金処理装置を提案しようとするものである。
【課題を解決するための手段】
【0008】
かかる課題を解決するため本発明の紙葉類取扱装置においては、上方向及び下方向に移動可能に支持され、上面に紙葉類を集積するステージと、ステージの下面に所定の押圧力で押し付けられて配置され、該ステージを上方向に押し上げるように付勢する付勢部と、リールと、一端がステージに係止され、該ステージを下方向に引張可能なように引き回された状態で他端がリールに係止されたワイヤと、ワイヤをリールに巻き取らせることでステージの位置を低くする動作と、該ワイヤを該リールから繰り出させることで該ステージの位置を高くする動作とを、紙葉類を該ステージの上面から外部へ繰り出させる繰出動作と、紙葉類を外部から該ステージの上面へ集積させる集積動作とを行っていない状態で実行する制御部とを設けるようにした。
【0009】
また本発明の現金処理装置においては、硬貨を取り扱う硬貨取扱装置と紙葉類を取り扱う紙葉類取扱装置とを有する現金処理装置であって、紙葉類取扱装置は、上方向及び下方向に移動可能に支持され、上面に紙葉類を集積するステージと、ステージの下面に所定の押圧力で押し付けられて配置され、該ステージを上方向に押し上げるように付勢する付勢部と、リールと、一端がステージに係止され、該ステージを下方向に引張可能なように引き回された状態で他端がリールに係止されたワイヤと、ワイヤをリールに巻き取らせることでステージの位置を低くする動作と、該ワイヤを該リールから繰り出させることで該ステージの位置を高くする動作とを、紙葉類を該ステージの上面から外部へ繰り出させる繰出動作と、紙葉類を外部から該ステージの上面へ集積させる集積動作とを行っていない状態で実行する制御部とを設けるようにした。
【0010】
これにより本発明は、ワイヤをリールに巻き取ると共にワイヤをリールから繰り出すことにより、ワイヤがリールに巻かれ続けることによるワイヤの巻き癖の発生を抑えることができる。
【発明の効果】
(【0011】以降は省略されています)
この特許をJ-PlatPat(特許庁公式サイト)で参照する
関連特許
沖電気工業株式会社
印刷装置
1か月前
沖電気工業株式会社
画像形成装置
5日前
沖電気工業株式会社
棒金収納装置
1か月前
沖電気工業株式会社
情報処理装置
1か月前
沖電気工業株式会社
画像形成装置
1か月前
沖電気工業株式会社
画像形成装置
1か月前
沖電気工業株式会社
画像形成装置
16日前
沖電気工業株式会社
画像形成装置
26日前
沖電気工業株式会社
施錠開閉装置
25日前
沖電気工業株式会社
画像形成装置
4日前
沖電気工業株式会社
画像形成装置
3日前
沖電気工業株式会社
媒体処理装置
3日前
沖電気工業株式会社
処理システム
3日前
沖電気工業株式会社
半導体デバイス
25日前
沖電気工業株式会社
発光装置及び表示装置
25日前
沖電気工業株式会社
定着装置及び画像形成装置
3日前
沖電気工業株式会社
現金処理装置及び印字装置
1か月前
沖電気工業株式会社
定着装置及び画像形成装置
6日前
沖電気工業株式会社
電源制御装置及び画像形成装置
24日前
沖電気工業株式会社
紙葉類取扱装置及び現金処理装置
1か月前
沖電気工業株式会社
紙葉類取扱装置及び現金処理装置
9日前
沖電気工業株式会社
プリンタドライバ及び画像形成装置
26日前
沖電気工業株式会社
部品管理装置、プログラムおよび方法
1か月前
沖電気工業株式会社
直流電源装置および二次電池充電方法
1か月前
沖電気工業株式会社
媒体取扱ユニット、及び、媒体取扱装置
26日前
沖電気工業株式会社
通信装置、通信方法、及び通信プログラム
4日前
沖電気工業株式会社
情報処理装置、情報処理方法およびプログラム
1か月前
沖電気工業株式会社
情報処理装置、情報処理方法、およびプログラム
24日前
沖電気工業株式会社
現像剤収容体、画像形成ユニットおよび画像形成装置
3日前
沖電気工業株式会社
情報処理装置、情報処理方法、及び情報処理システム
3日前
沖電気工業株式会社
現像剤収容体、画像形成ユニット、及び画像形成装置
1か月前
沖電気工業株式会社
情報処理装置、情報処理プログラム、及び情報処理方法
25日前
沖電気工業株式会社
情報処理装置、情報処理方法、及び情報処理プログラム
1か月前
沖電気工業株式会社
精算システム、精算装置、情報処理方法、及びプログラム
25日前
沖電気工業株式会社
経路設定装置、経路設定方法、プログラムおよび経路設定システム
24日前
沖電気工業株式会社
駆動制御装置、駆動制御システム、駆動制御方法及び貨幣処理装置
1か月前
続きを見る
他の特許を見る