TOP
|
特許
|
意匠
|
商標
特許ウォッチ
Twitter
他の特許を見る
公開番号
2025146053
公報種別
公開特許公報(A)
公開日
2025-10-03
出願番号
2024046634
出願日
2024-03-22
発明の名称
伝送装置のための制御装置、パス設定方法、およびプログラム並びに伝送システム
出願人
沖電気工業株式会社
代理人
弁理士法人レクスト国際特許事務所
主分類
H04B
10/27 20130101AFI20250926BHJP(電気通信技術)
要約
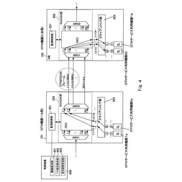
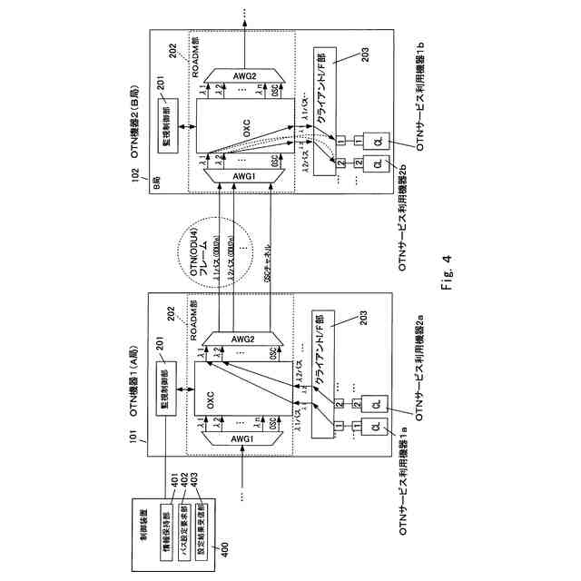
【課題】両端ノード間の論理パスと両ノード間の通信を利用する機器と接続するための物理ポートとの紐付け設定不一致の回避及びこの設定の簡略化を実現する。
【解決手段】光伝送システムにおいて、制御装置400は、1のノードに接続される第1のOTN機器の物理ポートと1の論理パスとの第1の紐付け情報及び他のノードに接続され、かつ、第1のOTN機器の通信先である第2のOTN機器の物理ポートと1の論理パスとの第2の紐付け情報を保持する紐付け情報保持部401と、1のノードに第1の紐付け情報に基づくパス設定を実行させ、かつ、1のノードから制御チャネルを介して他のノードに第2の紐付け情報を送信して、他のノードに第2の紐付け情報に基づくパス設定を実行させるパス設定要求部402と、パス設定の結果を他のノードから制御チャネルを介して1のノードから受信する設定結果受信部403と、を有する。
【選択図】図4
特許請求の範囲
【請求項1】
データ転送用の複数の論理パスおよび制御チャネルによって形成される伝送路並びに該伝送路に接続されかつ各々が複数の物理ポートを有する複数のノードを含む伝送システムにおいて、1のノードに接続され、且つ、前記複数のノードの各々において前記複数の論理パスの1つと前記複数の物理ポートの1つとを紐づけて接続するパス設定を行う制御装置であって、
前記1のノードに接続される第1の機器の物理ポートと1の論理パスとの第1の紐付け情報および他のノードに接続されかつ前記第1の機器の通信先である第2の機器の物理ポートと前記1の論理パスとの第2の紐付け情報を保持する紐付け情報保持部と、
前記1のノードに前記第1の紐付け情報に基づく前記パス設定を実行させ、且つ前記1のノードから前記制御チャネルを介して前記他のノードに前記第2の紐付け情報を送信して、前記他のノードに前記第2の紐付け情報に基づく前記パス設定を実行させるパス設定要求部と、
前記パス設定の結果を前記他のノードから前記制御チャネルを介して前記1のノードから受信する設定結果受信部と、
を有することを特徴とする制御装置。
続きを表示(約 1,700 文字)
【請求項2】
前記複数のノードの各々は前記紐付け情報に基づく前記パス設定を実行し、前記パス設定の実行結果を要求先に返す完了通知送信部を有することを特徴とする請求項1に記載の制御装置。
【請求項3】
データ転送用の複数の論理パスおよび制御チャネルによって形成される伝送路並びに該伝送路に接続されかつ各々が複数の物理ポートを有する複数のノードを含む伝送システムにおいて、1のノードに接続され、且つ、前記複数のノードの各々において前記複数の論理パスの1つと前記複数の物理ポートの1つとを紐づけて接続するパス設定を行う制御装置による前記パス設定の方法であって、
前記1のノードに接続される第1の機器の物理ポートと1の論理パスとの第1の紐付け情報および他のノードに接続されかつ前記第1の機器の通信先である第2の機器の物理ポートと前記1の論理パスとの第2の紐付け情報を保持する紐付け情報保持ステップと、
前記1のノードに前記第1の紐付け情報に基づく前記パス設定を実行させ、且つ前記1のノードから前記制御チャネルを介して前記他のノードに前記第2の紐付け情報を送信して、前記他のノードに前記第2の紐付け情報に基づく前記パス設定を実行させるパス設定要求ステップと、
前記パス設定の結果を前記他のノードから前記制御チャネルを介して前記1のノードから受信する設定結果受信ステップと、を含むことを特徴とする方法。
【請求項4】
データ転送用の複数の論理パスおよび制御チャネルによって形成される伝送路並びに該伝送路に接続されかつ各々が複数の物理ポートを有する複数のノードを含む伝送システムにおいて、1のノードに接続され、且つ、前記複数のノードの各々において前記複数の論理パスの1つと前記複数の物理ポートの1つとを紐づけて接続するパス設定を行う制御装置に搭載されたコンピュータに、
前記1のノードに接続される第1の機器の物理ポートと1の論理パスとの第1の紐付け情報および他のノードに接続されかつ前記第1の機器の通信先である第2の機器の物理ポートと前記1の論理パスとの第2の紐付け情報を保持する紐付け情報保持部と、
前記1のノードに前記第1の紐付け情報に基づく前記パス設定を実行させ、且つ前記1のノードから前記制御チャネルを介して前記他のノードに前記第2の紐付け情報を送信して、前記他のノードに前記第2の紐付け情報に基づく前記パス設定を実行させるパス設定要求部と、
前記パス設定の結果を前記他のノードから前記制御チャネルを介して前記1のノードから受信する設定結果受信部として、機能させることを特徴とするプログラム。
【請求項5】
データ転送用の複数の論理パスおよび制御チャネルによって形成される伝送路と、該伝送路に接続されかつ各々が複数の物理ポートを有する複数のノードを含む伝送システムと、1のノードに接続され且つ前記複数のノードの各々において前記複数の論理パスの1つと前記複数の物理ポートの1つとを紐づけて接続するパス設定を行う制御装置とを含む伝送システムであって、
前記制御装置は、
前記1のノードに接続される第1の機器の物理ポートと1の論理パスとの第1の紐付け情報および他のノードに接続されかつ前記第1の機器の通信先である第2の機器の物理ポートと前記1の論理パスとの第2の紐付け情報を保持する紐付け情報保持部と、
前記1のノードに前記第1の紐付け情報に基づく前記パス設定を実行させ、且つ前記1のノードから前記制御チャネルを介して前記他のノードに前記第2の紐付け情報を送信して、前記他のノードに前記第2の紐付け情報に基づく前記パス設定を実行させるパス設定要求部と、
前記パス設定の結果を前記他のノードから前記制御チャネルを介して前記1のノードから受信する設定結果受信部と、を有し、
前記複数のノードの各々は前記紐付け情報に基づく前記パス設定を実行し、前記パス設定の実行結果を要求先に返す完了通知送信部を有する
ことを特徴とする伝送システム。
発明の詳細な説明
【技術分野】
【0001】
本発明は、光伝達網(OTN:Optical Transport Network)技術を使用した伝送装置のための制御装置、パス設定方法、およびプログラム並びに伝送システムに関する。
続きを表示(約 3,000 文字)
【背景技術】
【0002】
OTNとは国際標準化機関ITU-Tで規定される通信規格であり、この規格をもとに、電話局間等のバックボーンネットワーク等で用いられている長距離(数百~数千km)にわたって大容量の情報を伝達する光伝送通信技術が発展している。通信ネットワークの伝送容量の大容量化に対応するため、ノード内で主信号の電気・光変換をせずに光信号のままノード間を伝送させる光伝送システムがOTN機器によって達成されている。OTN機器の例として、波長の異なる光を多重して1本の光ファイバで複数の信号を伝送する波長多重伝送(WDM:Wavelength Division Multiplex)装置やROADM(Reconfigurable Optical Add-Drop Multiplexer)装置が実用化されている。
【0003】
ROADM装置において短時間のパス開通を実現するために、WSS(Wavelength Selective Switch)デバイス操作を複数ノードで並列に実施するため、運用支援システム(OSS:Operation Support System)からパス開始設定指令を受けたノードより上流ノードへ監視光(OSC:Optical Supervisory Channel)を使用してパス設定情報を送信する光伝送システムが知られている(特許文献1、参照)。光伝送システムの各ノードは光ファイバ伝送路の他、DCN(Data Communication Network)で接続されており、これらに接続された運用支援システムOSS(Operation Support System)で集中管理されている。また、光ファイバ伝送路では主信号以外に主信号とは異なる波長でOSC光が重畳されており、OSC光によりノード間で監視制御用データの送受信を実施している。
【先行技術文献】
【特許文献】
【0004】
特開2013-070198号公報
【発明の概要】
【発明が解決しようとする課題】
【0005】
上記の光伝送システムは、短時間のノード間の通信開通を実現するために、パスの両端ノードのいずれか片側のノードに運用支援システムOSSからパス設定開始指令を与えることを前提としている。また、上記の光伝送システムではパスが開通するための光スイッチ設定等、ノード間通信の実現に必要な高速光信号の物理レイヤに関わる設定情報をOSC光経由でやり取りしている。
【0006】
しかしながら、上記特許文献1では、光伝送システムにおける両端ノード間の論理パスと、両ノード間の通信を利用する機器(クライアント装置)に接続するための物理ポートとの関係を説明していない。よって、上記の光伝送システムでは、当該論理パスと物理ポートとの紐付け設定が不一致となる場合がある課題が一例として挙げられる。
【0007】
本発明は、以上の従来技術の課題に鑑みなされたものであり、両端ノード間の論理パスと両ノード間の通信を利用する機器と接続するための物理ポートとの紐付け設定不一致の回避、およびこの設定の簡略化を実現できる伝送装置のための制御装置、パス設定方法、およびプログラム並びに伝送システムを提供することを目的とする。
【課題を解決するための手段】
【0008】
本発明の制御装置は、データ転送用の複数の論理パスおよび制御チャネルによって形成される伝送路並びに該伝送路に接続されかつ各々が複数の物理ポートを有する複数のノードを含む伝送システムにおいて、1のノードに接続され、且つ、前記複数のノードの各々において前記複数の論理パスの1つと前記複数の物理ポートの1つとを紐づけて接続するパス設定を行う制御装置であって、
前記1のノードに接続される第1の機器の物理ポートと1の論理パスとの第1の紐付け情報および他のノードに接続されかつ前記第1の機器の通信先である第2の機器の物理ポートと前記1の論理パスとの第2の紐付け情報を保持する紐付け情報保持部と、
前記1のノードに前記第1の紐付け情報に基づく前記パス設定を実行させ、且つ前記1のノードから前記制御チャネルを介して前記他のノードに前記第2の紐付け情報を送信して、前記他のノードに前記第2の紐付け情報に基づく前記パス設定を実行させるパス設定要求部と、
前記パス設定の結果を前記他のノードから前記制御チャネルを介して前記1のノードから受信する設定結果受信部と、
を有することを特徴とする。
【0009】
本発明の方法は、データ転送用の複数の論理パスおよび制御チャネルによって形成される伝送路並びに該伝送路に接続されかつ各々が複数の物理ポートを有する複数のノードを含む伝送システムにおいて、1のノードに接続され、且つ、前記複数のノードの各々において前記複数の論理パスの1つと前記複数の物理ポートの1つとを紐づけて接続するパス設定を行う制御装置による前記パス設定の方法であって、
前記1のノードに接続される第1の機器の物理ポートと1の論理パスとの第1の紐付け情報および他のノードに接続されかつ前記第1の機器の通信先である第2の機器の物理ポートと前記1の論理パスとの第2の紐付け情報を保持する紐付け情報保持ステップと、
前記1のノードに前記第1の紐付け情報に基づく前記パス設定を実行させ、且つ前記1のノードから前記制御チャネルを介して前記他のノードに前記第2の紐付け情報を送信して、前記他のノードに前記第2の紐付け情報に基づく前記パス設定を実行させるパス設定要求ステップと、
前記パス設定の結果を前記他のノードから前記制御チャネルを介して前記1のノードから受信する設定結果受信ステップと、を含むことを特徴とする。
【0010】
本発明のプログラムは、データ転送用の複数の論理パスおよび制御チャネルによって形成される伝送路並びに該伝送路に接続されかつ各々が複数の物理ポートを有する複数のノードを含む伝送システムにおいて、1のノードに接続され、且つ、前記複数のノードの各々において前記複数の論理パスの1つと前記複数の物理ポートの1つとを紐づけて接続するパス設定を行う制御装置に搭載されたコンピュータに、
前記1のノードに接続される第1の機器の物理ポートと1の論理パスとの第1の紐付け情報および他のノードに接続されかつ前記第1の機器の通信先である第2の機器の物理ポートと前記1の論理パスとの第2の紐付け情報を保持する紐付け情報保持部と、
前記1のノードに前記第1の紐付け情報に基づく前記パス設定を実行させ、且つ前記1のノードから前記制御チャネルを介して前記他のノードに前記第2の紐付け情報を送信して、前記他のノードに前記第2の紐付け情報に基づく前記パス設定を実行させるパス設定要求部と、
前記パス設定の結果を前記他のノードから前記制御チャネルを介して前記1のノードから受信する設定結果受信部として、機能させることを特徴とする。
(【0011】以降は省略されています)
この特許をJ-PlatPat(特許庁公式サイト)で参照する
関連特許
沖電気工業株式会社
画像形成装置
20日前
沖電気工業株式会社
画像形成装置
1か月前
沖電気工業株式会社
処理システム
7日前
沖電気工業株式会社
施錠開閉装置
29日前
沖電気工業株式会社
媒体処理装置
7日前
沖電気工業株式会社
画像形成装置
7日前
沖電気工業株式会社
画像形成装置
8日前
沖電気工業株式会社
画像形成装置
9日前
沖電気工業株式会社
半導体デバイス
29日前
沖電気工業株式会社
発光装置及び表示装置
29日前
沖電気工業株式会社
定着装置及び画像形成装置
7日前
沖電気工業株式会社
定着装置及び画像形成装置
10日前
沖電気工業株式会社
電源制御装置及び画像形成装置
28日前
沖電気工業株式会社
紙葉類取扱装置及び現金処理装置
13日前
沖電気工業株式会社
プリンタドライバ及び画像形成装置
1か月前
沖電気工業株式会社
画像形成装置および媒体種別報知方法
今日
沖電気工業株式会社
媒体取扱ユニット、及び、媒体取扱装置
1か月前
沖電気工業株式会社
通信装置、通信方法、及び通信プログラム
8日前
沖電気工業株式会社
情報処理装置、情報処理方法、およびプログラム
28日前
沖電気工業株式会社
情報処理システム、情報処理方法およびプログラム
1日前
沖電気工業株式会社
情報処理装置、情報処理方法、及び情報処理システム
7日前
沖電気工業株式会社
現像剤収容体、画像形成ユニットおよび画像形成装置
7日前
沖電気工業株式会社
情報処理装置、情報処理プログラム、及び情報処理方法
29日前
沖電気工業株式会社
精算システム、精算装置、情報処理方法、及びプログラム
29日前
沖電気工業株式会社
経路設定装置、経路設定方法、プログラムおよび経路設定システム
28日前
沖電気工業株式会社
駆動制御装置、駆動制御システム、駆動制御方法及び貨幣処理装置
1か月前
沖電気工業株式会社
画像形成装置、画像形成システム、状態提示方法、及び状態提示プログラム
7日前
沖電気工業株式会社
伝送装置のための制御装置、パス設定方法、およびプログラム並びに伝送システム
1か月前
沖電気工業株式会社
表示装置、プログラム及び表示方法
1か月前
個人
イヤーマフ
13日前
個人
監視カメラシステム
22日前
個人
スイッチシステム
7日前
キーコム株式会社
光伝送線路
23日前
サクサ株式会社
中継装置
29日前
サクサ株式会社
中継装置
28日前
個人
スキャン式車載用撮像装置
22日前
続きを見る
他の特許を見る