TOP
|
特許
|
意匠
|
商標
特許ウォッチ
Twitter
他の特許を見る
10個以上の画像は省略されています。
公開番号
2025150134
公報種別
公開特許公報(A)
公開日
2025-10-09
出願番号
2024050854
出願日
2024-03-27
発明の名称
情報処理装置、情報処理方法、およびプログラム
出願人
沖電気工業株式会社
代理人
個人
,
個人
,
個人
主分類
G06F
3/04812 20220101AFI20251002BHJP(計算;計数)
要約
【課題】指令業務の習得を支援すること。
【解決手段】画面の表示制御を行う表示制御部と、入力情報から取得される1以上の単語と、画面に表示される選択ボタンと1以上の単語が関連付けられたデータベースと、に基づいて、前記入力情報から取得される1以上の単語に関連付けられた選択ボタンを決定する決定部と、を備え、前記表示制御部は、決定された前記選択ボタンの選択を促す誘導表示を画面上で行う、情報処理装置。
【選択図】図1
特許請求の範囲
【請求項1】
画面の表示制御を行う表示制御部と、
入力情報から取得される1以上の単語と、画面に表示される選択ボタンと1以上の単語が関連付けられたデータベースと、に基づいて、前記入力情報から取得される1以上の単語に関連付けられた選択ボタンを決定する決定部と、
を備え、
前記表示制御部は、決定された前記選択ボタンの選択を促す誘導表示を画面上で行う、
情報処理装置。
続きを表示(約 960 文字)
【請求項2】
前記入力情報は、音声入力により入力された情報である、請求項1に記載の情報処理装置。
【請求項3】
前記入力情報から取得される1以上の単語は、前記音声入力により得られた音声データをテキスト化して得た文字列を分割して取得される、請求項2に記載の情報処理装置。
【請求項4】
前記表示制御部は、決定された前記選択ボタンを指し示す誘導表示を表示する制御を行う、請求項1に記載の情報処理装置。
【請求項5】
前記決定部は、前記入力情報から取得される1以上の単語が最も多く関連付けられている選択ボタンを前記データベースから検索する、請求項1に記載の情報処理装置。
【請求項6】
前記データベースは、表示画面毎に用意され、
前記決定部は、表示されている画面に対応するデータベースを参照して、当該画面に表示されている選択ボタンのうち選択を促す選択ボタンを決定する、
請求項1に記載の情報処理装置。
【請求項7】
前記入力情報から取得される1以上の単語は、記憶部に記憶され、
前記表示制御は、選択ボタンの選択に応じて、次の画面を表示する制御を行い、
前記決定部は、前記次の画面に表示される選択ボタンのうち選択を促す選択ボタンを決定する際、前記記憶部に記憶された前記1以上の単語を用いる、
請求項6に記載の情報処理装置。
【請求項8】
前記決定部は、操作者が熟練者レベルでない場合、前記誘導表示の制御を実行する、請求項1に記載の情報処理装置。
【請求項9】
前記情報処理装置は、操作者が熟練者レベルである場合、前記誘導表示の制御は実行せず、音声入力に基づく1以上の単語と、画面と1以上の単語が関連付けられたデータベースと、に基づいて、遷移する画面を決定し、画面遷移制御を行う、請求項1に記載の情報処理装置。
【請求項10】
前記遷移する画面は、一連の画面遷移群における最終画面であり、
前記情報処理装置は、途中画面をスキップして前記最終画面を表示する制御を行う、請求項9に記載の情報処理装置。
(【請求項11】以降は省略されています)
発明の詳細な説明
【技術分野】
【0001】
本発明は、情報処理装置、情報処理方法、およびプログラムに関する。
続きを表示(約 1,100 文字)
【背景技術】
【0002】
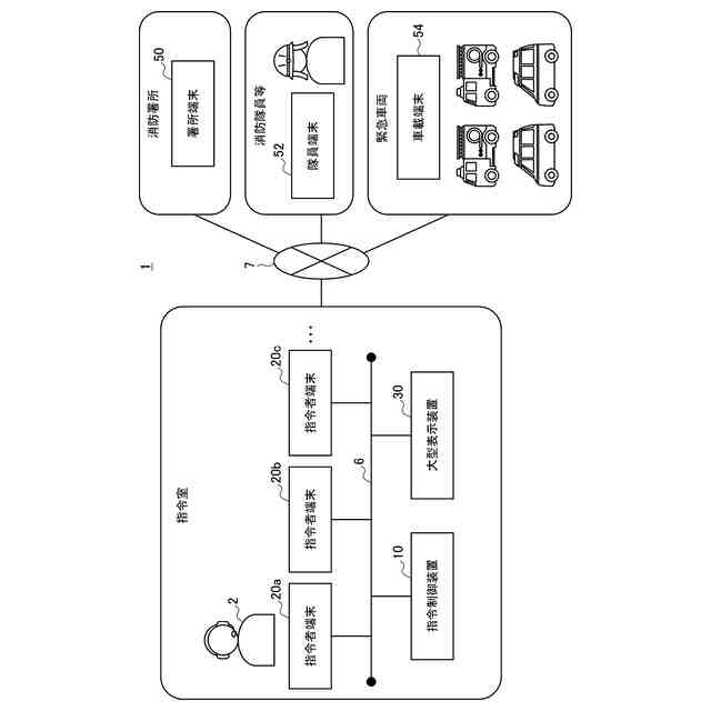
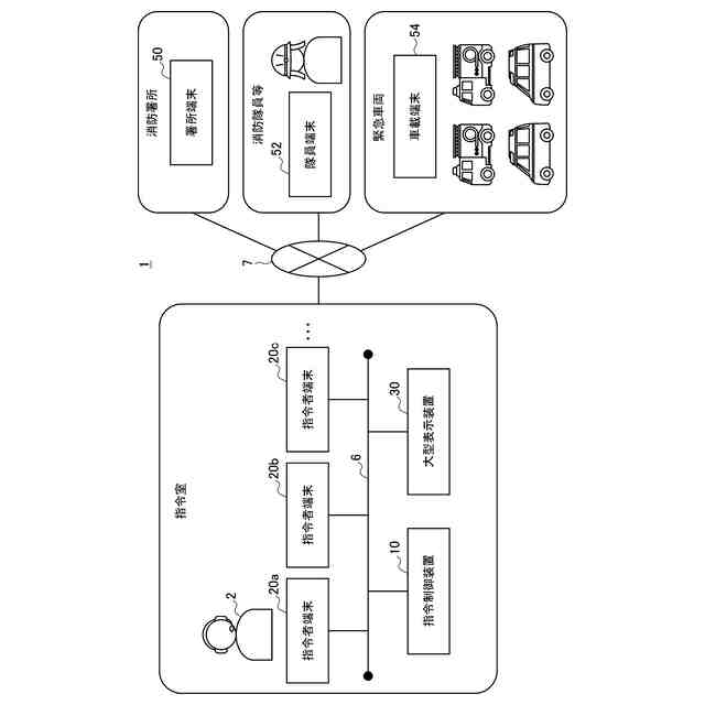
近年、火災、土砂崩れ、洪水等の災害または救急要請等の緊急通報に応じ、緊急車両の出動または現場での活動を指令する指令業務、および、現場活動を支援する様々な技術が検討されている。例えば、消防活動においては、隊員に対し指令員が指令を行うための消防指令システムが利用されている。消防指令システムによれば、指令員が、緊急通報に係る情報の聴取、出動隊の編成、または、隊員への指令内容の作成等の業務を行うことが出来る。
【0003】
このような消防指令システムの一例として、特許文献1には、通報者からの聴取内容を手書きしたメモ帳の内容に基づいて指令員により入力された文字列で単語辞書を検索し、得られたキーワード(署内で使用する共通語)を、事案(事件)に関する複数の項目情報を表示する表示画面に適正に表示させる技術が開示されている。
【先行技術文献】
【特許文献】
【0004】
特開2000-181606号公報
【発明の概要】
【発明が解決しようとする課題】
【0005】
消防指令業務には、多数の項目が表示される表示画面において適宜適切な項目を選択していく操作もあり、かかる操作は熟練を要するが、昨今の指令業務の複雑化により習得が困難な状況が散見されている。
【0006】
そこで、本発明は、上記問題に鑑みてなされたものであり、本発明の目的とするところは、指令業務の習得を支援することが可能な、新規かつ改良された情報処理装置、情報処理方法、およびプログラムを提供することにある。
【課題を解決するための手段】
【0007】
上記課題を解決するために、本発明のある観点によれば、画面の表示制御を行う表示制御部と、入力情報から取得される1以上の単語と、画面に表示される選択ボタンと1以上の単語が関連付けられたデータベースと、に基づいて、前記入力情報から取得される1以上の単語に関連付けられた選択ボタンを決定する決定部と、を備え、前記表示制御部は、決定された前記選択ボタンの選択を促す誘導表示を画面上で行う、情報処理装置が提供される。
【0008】
前記入力情報は、音声入力により入力された情報であってもよい。
【0009】
前記入力情報から取得される1以上の単語は、前記音声入力により得られた音声データをテキスト化して得た文字列を分割して取得されてもよい。
【0010】
前記表示制御部は、決定された前記選択ボタンを指し示す誘導表示を表示する制御を行ってもよい。
(【0011】以降は省略されています)
この特許をJ-PlatPat(特許庁公式サイト)で参照する
関連特許
沖電気工業株式会社
画像形成装置
5日前
沖電気工業株式会社
画像形成装置
4日前
沖電気工業株式会社
処理システム
3日前
沖電気工業株式会社
媒体処理装置
3日前
沖電気工業株式会社
画像形成装置
3日前
沖電気工業株式会社
画像形成装置
16日前
沖電気工業株式会社
半導体デバイス
25日前
沖電気工業株式会社
発光装置及び表示装置
25日前
沖電気工業株式会社
定着装置及び画像形成装置
6日前
沖電気工業株式会社
定着装置及び画像形成装置
3日前
沖電気工業株式会社
電源制御装置及び画像形成装置
24日前
沖電気工業株式会社
紙葉類取扱装置及び現金処理装置
9日前
沖電気工業株式会社
通信装置、通信方法、及び通信プログラム
4日前
沖電気工業株式会社
情報処理装置、情報処理方法、およびプログラム
24日前
沖電気工業株式会社
現像剤収容体、画像形成ユニットおよび画像形成装置
3日前
沖電気工業株式会社
情報処理装置、情報処理方法、及び情報処理システム
3日前
沖電気工業株式会社
精算システム、精算装置、情報処理方法、及びプログラム
25日前
沖電気工業株式会社
経路設定装置、経路設定方法、プログラムおよび経路設定システム
24日前
沖電気工業株式会社
画像形成装置、画像形成システム、状態提示方法、及び状態提示プログラム
3日前
個人
詐欺保険
19日前
個人
縁伊達ポイン
19日前
個人
RFタグシート
6日前
個人
工程設計支援装置
2か月前
個人
ペルソナ認証方式
3日前
個人
QRコードの彩色
23日前
個人
地球保全システム
1か月前
個人
自動調理装置
5日前
個人
為替ポイント伊達夢貯
1か月前
個人
冷凍食品輸出支援構造
1か月前
個人
残土処理システム
25日前
個人
表変換編集支援システム
1か月前
個人
農作物用途分配システム
18日前
個人
携帯情報端末装置
2か月前
個人
タッチパネル操作指代替具
12日前
個人
知財出願支援AIシステム
1か月前
個人
知的財産出願支援システム
26日前
続きを見る
他の特許を見る