TOP
|
特許
|
意匠
|
商標
特許ウォッチ
Twitter
他の特許を見る
公開番号
2025158489
公報種別
公開特許公報(A)
公開日
2025-10-17
出願番号
2024061069
出願日
2024-04-04
発明の名称
部分放電測定装置及び部分放電測定方法
出願人
富士電機株式会社
代理人
個人
,
個人
主分類
G01R
31/14 20060101AFI20251009BHJP(測定;試験)
要約
【課題】部分放電音等の部分放電信号に重畳するノイズを除去する効果を向上させること。
【解決手段】ノイズが重畳する部分放電信号を検出し、前記部分放電信号に応じた第1電気信号を出力する第1センサと、前記ノイズを検出し、前記ノイズに応じた第2電気信号を出力する第2センサと、前記第1電気信号と前記第2電気信号との差分を検出し、前記差分に応じた第3電気信号を出力する差分検出部と、を備える、部分放電測定装置。
【選択図】図1
特許請求の範囲
【請求項1】
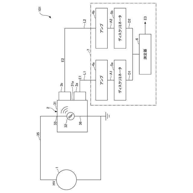
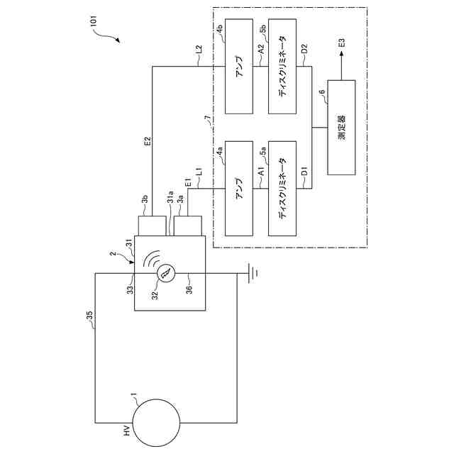
ノイズが重畳する部分放電信号を検出し、前記部分放電信号に応じた第1電気信号を出力する第1センサと、
前記ノイズを検出し、前記ノイズに応じた第2電気信号を出力する第2センサと、
前記第1電気信号と前記第2電気信号との差分を検出し、前記差分に応じた第3電気信号を出力する差分検出部と、を備える、部分放電測定装置。
続きを表示(約 940 文字)
【請求項2】
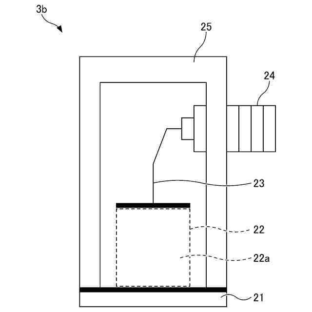
前記第2センサは、前記ノイズを受ける第2受波板と、前記第2受波板で受けた前記ノイズを前記第2電気信号に変換する第2変換部と、を含む、請求項1に記載の部分放電測定装置。
【請求項3】
前記第2変換部は、前記第2受波板で受けた前記ノイズを前記第2電気信号に変換するコンデンサ又は抵抗を含む、請求項2に記載の部分放電測定装置。
【請求項4】
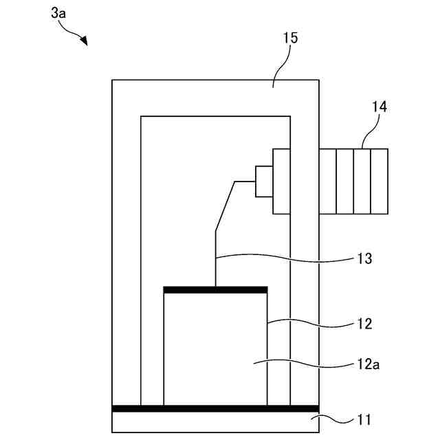
前記第1センサは、前記部分放電信号を受ける第1受波板と、前記第1受波板で受けた前記部分放電信号を前記第1電気信号に変換する第1変換部と、を含み、
前記第2変換部のインピーダンスは、前記第1変換部のインピーダンスと同じである、請求項3に記載の部分放電測定装置。
【請求項5】
前記第1受波板は、前記部分放電信号である部分放電音を受け、
前記第1変換部は、前記第1受波板で受けた前記部分放電音を前記第1電気信号に変換する圧電素子を含み、
前記第2変換部のインピーダンスは、前記圧電素子のインピーダンスと同じである、請求項4に記載の部分放電測定装置。
【請求項6】
前記差分検出部は、
前記第1電気信号を増幅する第1アンプと、
前記第2電気信号を増幅する第2アンプと、
前記第1アンプの出力信号が入力される第1ディスクリミネータと、
前記第2アンプの出力信号が入力される第2ディスクリミネータと、を含み、
前記差分は、前記第1ディスクリミネータの出力信号と前記第2ディスクリミネータの出力信号との差分である、請求項1から5のいずれか一項に記載の部分放電測定装置。
【請求項7】
前記差分検出部は、前記差分を検出し、前記第3電気信号に応じた波形を表示するオシロスコープを含む、請求項6に記載の部分放電測定装置。
【請求項8】
ノイズが重畳する部分放電信号を検出する第1センサから前記部分放電信号に応じて出力される第1電気信号と、前記ノイズを検出する第2センサから前記ノイズに応じて出力される第2電気信号との差分を検出し、前記差分に応じた第3電気信号を出力する、部分放電測定方法。
発明の詳細な説明
【技術分野】
【0001】
本開示は、部分放電測定装置及び部分放電測定方法に関する。
続きを表示(約 1,100 文字)
【背景技術】
【0002】
従来、AEセンサで検出した部分放電による音波の信号を二分配し、分配された一方の信号を信号用フィルタに入力し、分配された他方の信号をノイズ用フィルタに入力する部分放電検出装置が知られている。この部分放電検出装置は、信号用フィルタの出力信号とノイズ用フィルタの出力信号との差分を演算し、放電による信号のみを出力する(例えば、特許文献1参照)。
【0003】
また、検査対象物の外面に装着される音響センサで検出された第1の測定信号にローパスフィルタを適用することで第2の測定信号を取得し、第2の測定信号から検査対象物の機械振動に起因するノイズ成分を除去することで第3の測定信号を取得し、第3の測定信号の時間波形に基づいて検査対象物での部分放電の発生の有無を判断する方法が知られている(例えば、特許文献2参照)。
【先行技術文献】
【特許文献】
【0004】
特開平8-320356号公報
特開2015-114185号公報
【発明の概要】
【発明が解決しようとする課題】
【0005】
部分放電により発生する部分放電音等の部分放電信号を検出することで、部分放電の発生を間接的に測定できる。しかしながら、従来の技術では、部分放電信号に重畳するノイズを部分放電信号から除去することが難しい場合がある。
【0006】
本開示は、部分放電音等の部分放電信号に重畳するノイズを除去する効果を向上させることを課題とする。
【課題を解決するための手段】
【0007】
本開示に係る部分放電測定装置は、
ノイズが重畳する部分放電信号を検出し、前記部分放電信号に応じた第1電気信号を出力する第1センサと、
前記ノイズを検出し、前記ノイズに応じた第2電気信号を出力する第2センサと、
前記第1電気信号と前記第2電気信号との差分を検出し、前記差分に応じた第3電気信号を出力する差分検出部と、を備える。
【発明の効果】
【0008】
本開示によれば、部分放電音等の部分放電信号に重畳するノイズを除去する効果を向上させることができる。
【図面の簡単な説明】
【0009】
第1実施形態に係る部分放電測定装置の一構成例を示す図である。
部分放電測定方法の一例を示すフローチャートである。
第1センサの一構成例を示す図である。
第2センサの一構成例を示す図である。
【発明を実施するための形態】
【0010】
以下、実施形態を説明する。
(【0011】以降は省略されています)
この特許をJ-PlatPat(特許庁公式サイト)で参照する
関連特許
富士電機株式会社
駆動回路
23日前
富士電機株式会社
半導体装置
8日前
富士電機株式会社
電磁接触器
2日前
富士電機株式会社
飲料抽出装置
25日前
富士電機株式会社
硬貨処理装置
23日前
富士電機株式会社
硬貨処理装置
23日前
富士電機株式会社
半導体モジュール
18日前
富士電機株式会社
半導体モジュール
29日前
富士電機株式会社
ガス処理システム
26日前
富士電機株式会社
制御装置、制御方法
23日前
富士電機株式会社
セーフリスト管理方法
23日前
富士電機株式会社
制御回路および電源装置
18日前
富士電機株式会社
換気システムおよび冷却装置
16日前
富士電機株式会社
半導体装置及びその製造方法
2日前
富士電機株式会社
冷却器及び半導体モジュール
29日前
富士電機株式会社
スイッチング制御回路、電源回路
16日前
富士電機株式会社
スイッチング制御回路、電源回路
26日前
富士電機株式会社
ガス回収システム及びガス回収方法
25日前
富士電機株式会社
半導体モジュール、及び、半導体装置
17日前
富士電機株式会社
半導体装置の製造方法及び治具セット
25日前
富士電機株式会社
電力変換装置、制御装置及び制御方法
25日前
富士電機株式会社
監視システム、監視装置、監視方法、プログラム
18日前
富士電機株式会社
炭化珪素半導体装置および炭化珪素半導体装置の製造方法
2日前
富士電機株式会社
管理システム、発電システムおよび太陽光パネルの管理方法
23日前
富士電機株式会社
セキュリティ監視装置、セキュリティ監視方法、及びプログラム
24日前
富士電機株式会社
商品補充システム
15日前
富士電機株式会社
リアルタイムシミュレーター及びリアルタイムシミュレーション方法
24日前
富士電機株式会社
絶縁ゲート型バイポーラトランジスタ
15日前
富士電機株式会社
情報処理装置、ソフトウェア更新システム、ソフトウェア更新方法、およびソフトウェア更新プログラム
2日前
富士電機株式会社
デバイス、半導体装置、ゲートドライバ、および、パワーモジュール
15日前
日本精機株式会社
検出装置
17日前
個人
採尿及び採便具
23日前
個人
計量機能付き容器
12日前
個人
アクセサリー型テスター
1か月前
個人
高精度同時多点測定装置
1か月前
株式会社カクマル
境界杭
2日前
続きを見る
他の特許を見る