TOP
|
特許
|
意匠
|
商標
特許ウォッチ
Twitter
他の特許を見る
公開番号
2025168551
公報種別
公開特許公報(A)
公開日
2025-11-07
出願番号
2025147944,2021164148
出願日
2025-09-05,2021-10-05
発明の名称
デバイス、半導体装置、ゲートドライバ、および、パワーモジュール
出願人
富士電機株式会社
代理人
弁理士法人RYUKA国際特許事務所
主分類
H10D
89/00 20250101AFI20251030BHJP()
要約
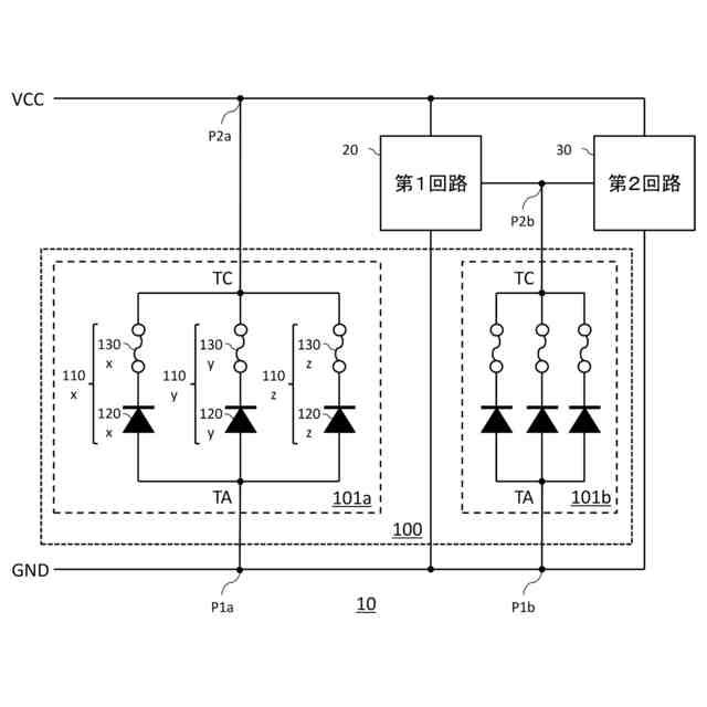
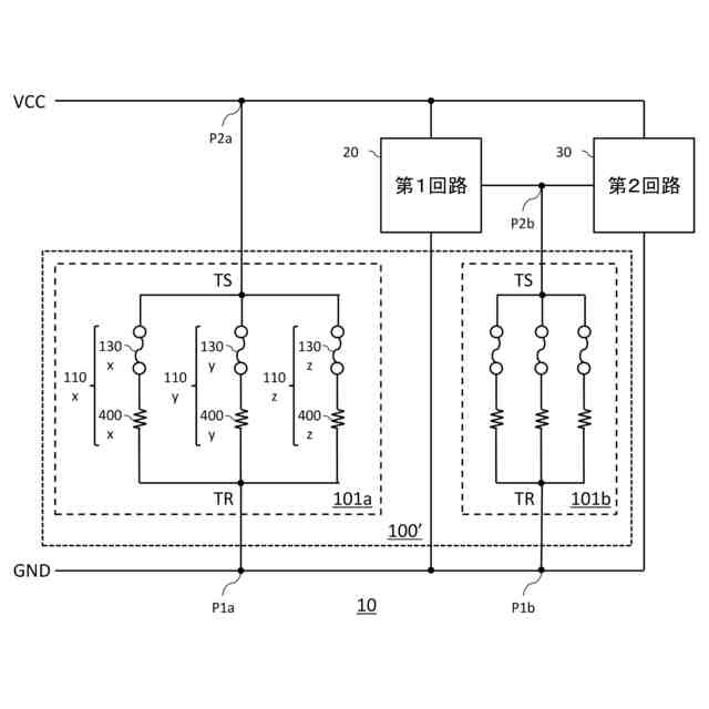
【解決手段】整流素子とヒューズ素子とが直列に接続された直列回路を備え、前記直列回路における前記整流素子の陽極側の一端が、基準電位を有する第1接続点に接続され、前記直列回路における前記整流素子の陰極側の他端が、前記基準電位よりも高い電位を有するべき第2接続点に接続された、デバイスを提供する。上記デバイスは、複数の上記直列回路が並列に接続された並列回路を更に備えてよい。上記並列に接続された少なくとも1つの直列回路における整流素子の整流特性が、上記並列に接続された他の直列回路における整流素子の整流特性と異なっていてよい。
【選択図】図1
特許請求の範囲
【請求項1】
整流素子とヒューズ素子とが直列に接続された直列回路を備え、
前記直列回路における前記整流素子の陽極側の一端が、基準電位を有する第1接続点に接続され、前記直列回路における前記整流素子の陰極側の他端が、前記基準電位よりも高い電位を有するべき第2接続点に接続された、
デバイス。
続きを表示(約 940 文字)
【請求項2】
複数の前記直列回路が並列に接続された並列回路を更に備える、請求項1に記載のデバイス。
【請求項3】
前記並列に接続された少なくとも1つの直列回路における整流素子の整流特性が、前記並列に接続された他の直列回路における整流素子の整流特性と異なる、請求項2に記載のデバイス。
【請求項4】
前記整流素子はPN接合を有しており、
前記少なくとも1つの直列回路におけるPN接合の接合面積が、前記他の直列回路におけるPN接合の接合面積と異なる、請求項3に記載のデバイス。
【請求項5】
前記少なくとも1つの直列回路におけるヒューズ素子の溶断特性が、前記他の直列回路におけるヒューズ素子の溶断特性と同じである、請求項3または4に記載のデバイス。
【請求項6】
前記並列に接続された少なくとも1つの直列回路におけるヒューズ素子の溶断特性が、前記並列に接続された他の直列回路におけるヒューズ素子の溶断特性と異なる、請求項2に記載のデバイス。
【請求項7】
前記少なくとも1つの直列回路における整流素子の整流特性が、前記他の直列回路における整流素子の整流特性と同じである、請求項6に記載のデバイス。
【請求項8】
各々が抵抗性素子とヒューズ素子とが直列に接続され、過電流により前記ヒューズ素子が溶断するまでの時間を異ならせた複数の直列回路が並列に接続された並列回路を備え、
前記並列回路における一端が基準電位を有する第1接続点に接続され、前記並列回路における他端が前記基準電位よりも高い電位を有するべき第2接続点に接続された、
デバイス。
【請求項9】
前記並列に接続された少なくとも1つの直列回路における抵抗性素子の電気抵抗が、前記並列に接続された他の直列回路における抵抗性素子の電気抵抗と異なる、請求項8に記載のデバイス。
【請求項10】
前記少なくとも1つの直列回路におけるヒューズ素子の溶断特性が、前記他の直列回路におけるヒューズ素子の溶断特性と同じである、請求項9に記載のデバイス。
(【請求項11】以降は省略されています)
発明の詳細な説明
【技術分野】
【0001】
本発明は、デバイス、半導体装置、ゲートドライバ、および、パワーモジュールに関する。
続きを表示(約 1,000 文字)
【背景技術】
【0002】
特許文献1には、「半導体装置におけるヒューズ素子に対するESD保護回路を実現する」と記載されている。
[先行技術文献]
[特許文献]
[特許文献1] 特開2014-204602号公報
【発明の概要】
【0003】
本発明の第1の態様においては、デバイスを提供する。上記デバイスは、整流素子とヒューズ素子とが直列に接続された直列回路を備えてよい。上記直列回路における上記整流素子の陽極側の一端が、基準電位を有する第1接続点に接続され、上記直列回路における上記整流素子の陰極側の他端が、上記基準電位よりも高い電位を有するべき第2接続点に接続されてよい。
【0004】
上記デバイスは、複数の上記直列回路が並列に接続された並列回路を更に備えてよい。
【0005】
上記並列に接続された少なくとも1つの直列回路における整流素子の整流特性が、上記並列に接続された他の直列回路における整流素子の整流特性と異なってよい。
【0006】
上記整流素子はPN接合を有してよい。上記少なくとも1つの直列回路におけるPN接合の接合面積が、上記他の直列回路におけるPN接合の接合面積と異なってよい。
【0007】
上記少なくとも1つの直列回路におけるヒューズ素子の溶断特性が、上記他の直列回路におけるヒューズ素子の溶断特性と同じであってよい。
【0008】
上記並列に接続された少なくとも1つの直列回路におけるヒューズ素子の溶断特性が、上記並列に接続された他の直列回路におけるヒューズ素子の溶断特性と異なってよい。
【0009】
上記少なくとも1つの直列回路における整流素子の整流特性が、上記他の直列回路における整流素子の整流特性と同じであってよい。
【0010】
本発明の第2の態様においては、デバイスを提供する。上記デバイスは、各々が抵抗性素子とヒューズ素子とが直列に接続され、過電流により上記ヒューズ素子が溶断するまでの時間を異ならせた複数の直列回路が並列に接続された並列回路を備えてよい。上記並列回路における一端が基準電位を有する第1接続点に接続され、上記並列回路における他端が上記基準電位よりも高い電位を有するべき第2接続点に接続されてよい。
(【0011】以降は省略されています)
この特許をJ-PlatPat(特許庁公式サイト)で参照する
関連特許
富士電機株式会社
駆動回路
1か月前
富士電機株式会社
集積回路
10日前
富士電機株式会社
冷却装置
10日前
富士電機株式会社
半導体装置
24日前
富士電機株式会社
自動販売機
1か月前
富士電機株式会社
電磁接触器
18日前
富士電機株式会社
半導体装置
11日前
富士電機株式会社
自動販売機
11日前
富士電機株式会社
パネル構造
10日前
富士電機株式会社
パネル構造
10日前
富士電機株式会社
電磁接触器
2か月前
富士電機株式会社
半導体装置
1か月前
富士電機株式会社
半導体装置
3日前
富士電機株式会社
硬貨処理装置
1か月前
富士電機株式会社
硬貨処理装置
1か月前
富士電機株式会社
飲料抽出装置
1か月前
富士電機株式会社
金銭処理装置
1か月前
富士電機株式会社
紙幣処理装置
3日前
富士電機株式会社
電力変換装置
3日前
富士電機株式会社
学習システム
1か月前
富士電機株式会社
ショーケース
2か月前
富士電機株式会社
飲料供給装置
10日前
富士電機株式会社
電力変換装置
3日前
富士電機株式会社
商品収納装置
2か月前
富士電機株式会社
自動販売装置
1か月前
富士電機株式会社
ガス処理システム
1か月前
富士電機株式会社
半導体モジュール
1か月前
富士電機株式会社
半導体モジュール
1か月前
富士電機株式会社
半導体モジュール
1か月前
富士電機株式会社
自動販売機システム
10日前
富士電機株式会社
制御装置、制御方法
1か月前
富士電機株式会社
エレベータ用制御盤
3日前
富士電機株式会社
制御装置、制御方法
3日前
富士電機株式会社
自動販売機システム
11日前
富士電機株式会社
集積回路、電源回路
1か月前
富士電機株式会社
店舗情報設定システム
1か月前
続きを見る
他の特許を見る