TOP
|
特許
|
意匠
|
商標
特許ウォッチ
Twitter
他の特許を見る
10個以上の画像は省略されています。
公開番号
2025168440
公報種別
公開特許公報(A)
公開日
2025-11-07
出願番号
2025141906,2024079619
出願日
2025-08-28,2020-07-22
発明の名称
商品補充システム
出願人
富士電機株式会社
代理人
インフォート弁理士法人
主分類
B65G
1/137 20060101AFI20251030BHJP(運搬;包装;貯蔵;薄板状または線条材料の取扱い)
要約
【課題】商品棚に商品を補充する際のコストの低減、および設置スペースの低減を図る。
【解決手段】商品補充システム1は、撮像部40、商品Gを保管する保管棚10、保管棚10に保管されている商品Gを商品棚20に補充する補充部30、撮像部40および補充部30を少なくとも制御する制御部60、および異常を報知する報知部70を備える。制御部60は、撮像部40により撮像された撮像データに基づいて、保管棚10内で検出された商品の特徴が予め記憶されている特徴と一致するか否かを判定し、保管棚10内で検出された商品の特徴が予め記憶されている特徴と異なる場合には、報知部70を制御して報知する。
【選択図】図1
特許請求の範囲
【請求項1】
撮像部と、
商品を保管する保管棚と、
前記保管棚に保管されている商品を商品棚に補充する補充部と、
前記撮像部および前記補充部を少なくとも制御する制御部と、
異常を報知する報知部と、を備え、
前記制御部は、前記撮像部により撮像された撮像データに基づいて、前記保管棚内で検出された商品の特徴が予め記憶されている特徴と一致するか否かを判定し、前記保管棚内で検出された商品の特徴が予め記憶されている特徴と異なる場合には、前記報知部を制御して報知する
ことを特徴とする商品補充システム。
続きを表示(約 840 文字)
【請求項2】
前記撮像部は、ステレオカメラにより構成され、
前記制御部は、前記撮像部により撮像された撮像データに基づいて、前記撮像部から前記保管棚の商品までの距離を算出し、算出した距離に基づいて前記保管棚の前記商品の在庫を検出し、前記在庫が所定数以下である場合には、前記報知部を制御して報知する
ことを特徴とする請求項1に記載の商品補充システム。
【請求項3】
前記撮像部は、ステレオカメラにより構成され、
前記制御部は、
前記撮像部により撮像された撮像データに基づいて、前記撮像部から前記商品棚の商品までの距離を算出し、算出した距離に基づいて前記商品棚の商品が充足しているか否かを判定し、
前記商品棚の商品が充足していないときであって、前記保管棚内で検出された商品の特徴が予め記憶されている特徴と一致する場合に、前記補充部を制御して前記保管棚に保管されている商品を前記商品棚に補充する
ことを特徴とする請求項1に記載の商品補充システム。
【請求項4】
前記撮像部により撮像された撮像データに基づいて、前記保管棚に保管されている商品の向きを回転させる回転部をさらに備える
ことを特徴とする請求項1に記載の商品補充システム。
【請求項5】
撮像部と、
商品を保管する保管棚と、
前記保管棚に保管されている商品を商品棚に補充する補充部と、
前記撮像部および前記補充部を少なくとも制御する制御部と、を備え、
前記制御部は、前記撮像部により撮像された撮像データに基づいて、前記保管棚内で検出された商品の特徴が予め記憶されている特徴と一致するか否かを判定し、前記保管棚内で検出された商品の特徴が予め記憶されている特徴と一致するときに、前記補充部を制御して前記保管棚に保管されている商品を前記商品棚に補充する
ことを特徴とする商品補充システム。
発明の詳細な説明
【技術分野】
【0001】
本発明は、商品補充システムに関する。
続きを表示(約 1,600 文字)
【背景技術】
【0002】
従来、スーパーやコンビニエンスストア等において、飲料缶や飲料ペットボトルなどの商品が商品棚に配置して販売されている。買い物客が商品棚から商品を取り出すと、商品棚に配置されたレーン毎に補充された商品が店内側へ移動するため、商品が徐々に不足してくる。
【0003】
このため、店員はバックヤードから商品棚へ商品を補充する必要がある。店員による商品の補充作業を補助するため、商品棚の商品が少なくなったことを検知して商品を補充する商品補充システムが提案されている(例えば、特許文献1参照)。
【先行技術文献】
【特許文献】
【0004】
特開2018-110755号公報
【発明の概要】
【発明が解決しようとする課題】
【0005】
しかしながら、特許文献1に記載の商品補充システムでは、商品が少なくなったことを検知するための検知センサを商品棚に配置されたレーン毎に配置する必要があるため、コストがかかる。また、商品棚のレーン毎に検知センサを設置しなければならず設置スペースに無駄が生じる。
【0006】
本発明は、このような実情に鑑みてなされたものであり、商品棚に商品を補充する際のコストの低減、および設置スペースの低減を図ることができる商品補充システムを提供することを目的の1つとする。
【課題を解決するための手段】
【0007】
本実施形態の1つの態様に係わる商品補充システムは、撮像部と、商品を保管する保管棚と、前記保管棚に保管されている商品を商品棚に補充する補充部と、前記撮像部および前記補充部を少なくとも制御する制御部と、異常を報知する報知部と、を備える。前記制御部は、前記撮像部により撮像された撮像データに基づいて、前記保管棚内で検出された商品の特徴が予め記憶されている特徴と一致するか否かを判定し、前記保管棚内で検出された商品の特徴が予め記憶されている特徴と異なる場合には、前記報知部を制御して報知する。
【0008】
本実施形態の他の態様に係わる商品補充システムは、撮像部と、商品を保管する保管棚と、前記保管棚に保管されている商品を商品棚に補充する補充部と、前記撮像部および前記補充部を少なくとも制御する制御部と、を備える。前記制御部は、前記撮像部により撮像された撮像データに基づいて、前記保管棚内で検出された商品の特徴が予め記憶されている特徴と一致するか否かを判定し、前記保管棚内で検出された商品の特徴が予め記憶されている特徴と一致するときに、前記補充部を制御して前記保管棚に保管されている商品を前記商品棚に補充する。
【発明の効果】
【0009】
本発明によれば、商品棚に商品補充する際のコストの低減、および設置スペースの低減を図ることができる。
【図面の簡単な説明】
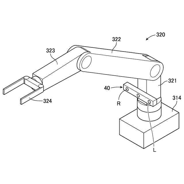
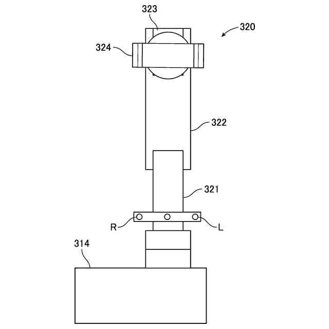
【0010】
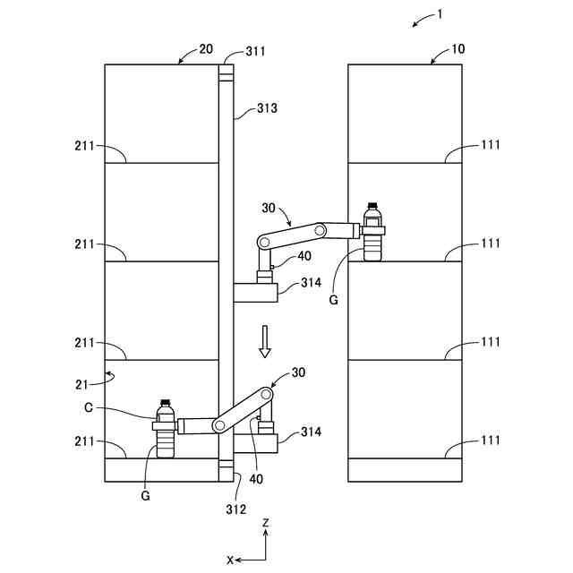
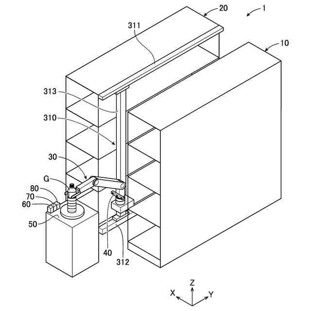
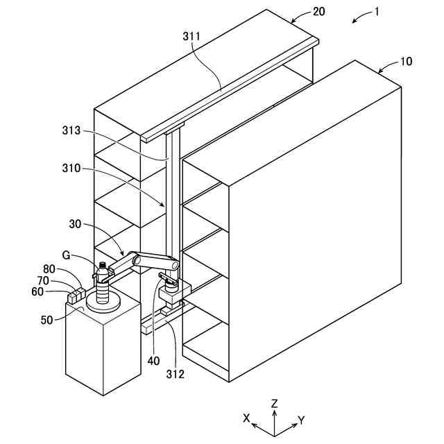
本実施の形態に係る商品補充システムの全体斜視図である。
商品補充システムの断面図である。
商品補充システムの俯瞰図である。
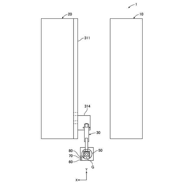
商品補充システムの側面図である。
補充部の詳細を示す拡大図である。
補充部の詳細を示す拡大図である。
撮像部により商品までの距離を算出する模式図である。
撮像部により商品までの距離を算出する模式図である。
商品の向きを説明するための模式図である。
商品補充システムで実行される商品補充処理の一例を示すフローチャートである。
空きレーンチェック処理の一例を示すフローチャートである。
在庫検知処理の一例を示すフローチャートである。
商品補充処理の一例を示すフローチャートである。
【発明を実施するための形態】
(【0011】以降は省略されています)
この特許をJ-PlatPat(特許庁公式サイト)で参照する
関連特許
個人
束ね具
8日前
個人
収容箱
4か月前
個人
テープ引出機
8日前
個人
バンド
2か月前
個人
棒状体収容容器
12日前
個人
廃棄物収容容器
3か月前
個人
包装容器
2か月前
株式会社バンダイ
物品
1か月前
個人
蓋閉止構造
4か月前
個人
積み重ね用補助具
3か月前
個人
蓋閉止構造
4か月前
株式会社和気
包装用箱
22日前
株式会社新弘
容器
3か月前
株式会社ナベル
検査装置
20日前
三甲株式会社
容器
2か月前
株式会社KY7
封止装置
4か月前
三甲株式会社
容器
26日前
個人
介護用コップ
3か月前
株式会社デュプロ
包装装置
3か月前
株式会社デュプロ
制御装置
4か月前
個人
テープカッター
4か月前
個人
穴タブ付きフタの容器
4か月前
個人
簡単レジ袋オープナー
3か月前
三甲株式会社
運搬具
13日前
個人
ブリスタ包装体
2か月前
三甲株式会社
運搬具
今日
個人
反射板のある袋
4か月前
個人
容器
2か月前
個人
情報端末用収納袋
4か月前
個人
異常検知式部品供給装置
2か月前
三甲株式会社
容器
2か月前
株式会社カネカ
積層装置
1か月前
株式会社三和
包装用容器
12日前
日清食品株式会社
ピロー包装機
2か月前
株式会社トーモク
包装箱
1か月前
船井電機株式会社
緩衝材
4か月前
続きを見る
他の特許を見る