TOP
|
特許
|
意匠
|
商標
特許ウォッチ
Twitter
他の特許を見る
10個以上の画像は省略されています。
公開番号
2025168532
公報種別
公開特許公報(A)
公開日
2025-11-07
出願番号
2025147180,2021146153
出願日
2025-09-04,2021-09-08
発明の名称
絶縁ゲート型バイポーラトランジスタ
出願人
富士電機株式会社
代理人
弁理士法人日栄国際特許事務所
主分類
H10D
12/00 20250101AFI20251030BHJP()
要約
【課題】ターンオン損失を低減でき、ゲート絶縁膜のスクリーニングが可能なIGBTを提供する。
【解決手段】絶縁ゲート型バイポーラトランジスタは、平面視で予め定められた延伸方向に延びるゲートトレンチ7aと、ゲートトレンチ7aの底面及び少なくとも一部の側面に設けられる第1絶縁膜8aと、ゲートトレンチ7aに、第1絶縁膜8aを介して埋め込まれた底部ゲート導電部材9aと、底部ゲート導電部材9aの上に設けられた第1分割絶縁膜10aと、ゲートトレンチ7aに、第1分割絶縁膜10aを介して埋め込まれた上部ゲート導電部材11aと、ゲートトレンチ7aの延伸方向の一端に重なったゲート表面電極16と、ゲート表面電極16と、底部ゲート導電部材9aとを電気的に接続する第1コンタクトホール13cと、ゲート表面電極16と、上部ゲート導電部材11aとを電気的に接続する第2コンタクトホール13aと、を備える。
【選択図】図1
特許請求の範囲
【請求項1】
平面視で予め定められた延伸方向に延びるゲートトレンチと、
前記ゲートトレンチの底面及び少なくとも一部の側面に設けられる第1絶縁膜と、
前記ゲートトレンチに、前記第1絶縁膜を介して埋め込まれた底部ゲート導電部材と、
前記底部ゲート導電部材の上に設けられた第1分割絶縁膜と、
前記ゲートトレンチに、前記第1分割絶縁膜を介して埋め込まれた上部ゲート導電部材と、
前記ゲートトレンチの延伸方向の一端に重なったゲート表面電極と、
前記ゲート表面電極と、前記底部ゲート導電部材とを電気的に接続する第1コンタクトホールと、
前記ゲート表面電極と、前記上部ゲート導電部材とを電気的に接続する第2コンタクトホールと、
を備える絶縁ゲート型バイポーラトランジスタ。
続きを表示(約 1,300 文字)
【請求項2】
前記第2コンタクトホールは、前記第1コンタクトホールとは分離して設けられる
請求項1に記載の絶縁ゲート型バイポーラトランジスタ。
【請求項3】
平面視で、前記延伸方向に延びるダミートレンチと、
前記ダミートレンチの底面及び少なくとも一部の側面に設けられる第2絶縁膜と、
前記ダミートレンチに、前記第2絶縁膜を介して埋め込まれた底部ダミー導電部材と、
前記底部ダミー導電部材の上に設けられた第2分割絶縁膜と、
前記底部ダミー導電部材を、前記ゲート表面電極と電気的に接続する第3コンタクトホールと、
をさらに備え、
前記第3コンタクトホールは、前記第1コンタクトホールと隣り合う位置に設けられる
請求項1に記載の絶縁ゲート型バイポーラトランジスタ。
【請求項4】
前記第3コンタクトホールは、前記第1コンタクトホールとつながっている
請求項3に記載の絶縁ゲート型バイポーラトランジスタ。
【請求項5】
前記ダミートレンチに、前記第2分割絶縁膜を介して埋め込まれた上部ダミー導電部材と、
エミッタ表面電極と、
前記上部ダミー導電部材と、前記エミッタ表面電極とを電気的に接続する第4コンタクトホールと、
をさらに備え、
前記第4コンタクトホールは、平面視で、前記延伸方向において前記ゲート表面電極よりも内側に設けられる
請求項3に記載の絶縁ゲート型バイポーラトランジスタ。
【請求項6】
前記延伸方向において、前記第2コンタクトホールは、前記第1コンタクトホールと前記第4コンタクトホールとの間に位置する
請求項5に記載の絶縁ゲート型バイポーラトランジスタ。
【請求項7】
前記ゲートトレンチと前記ダミートレンチは、交互に設けられる
請求項3に記載の絶縁ゲート型バイポーラトランジスタ。
【請求項8】
第1導電型のドリフト層と、
前記ドリフト層の上に設けられた第2導電型のベース領域と、
前記ベース領域の上面に設けられた、前記ドリフト層よりも高不純物濃度の第1導電型のエミッタ領域と、
前記ベース領域の上面に、前記エミッタ領域よりも深くまで設けられた、前記ベース領域よりも高不純物濃度の第2導電型のコンタクト領域と、
前記ベース領域と前記ドリフト層との間に設けられた第1導電型の蓄積層と、
をさらに備える
請求項1に記載の絶縁ゲート型バイポーラトランジスタ。
【請求項9】
前記エミッタ領域と前記コンタクト領域は、前記延伸方向に交互に設けられる
請求項8に記載の絶縁ゲート型バイポーラトランジスタ。
【請求項10】
前記ドリフト層の下面に設けられた、前記ドリフト層よりも高不純物濃度の第1導電型のフィールドストップ層と、
前記フィールドストップ層の下面に設けられた、第2導電型のコレクタ領域と、
前記コレクタ領域の下面に設けられたコレクタ裏面電極と、
をさらに備える
請求項8に記載の絶縁ゲート型バイポーラトランジスタ。
発明の詳細な説明
【技術分野】
【0001】
本発明は、トレンチゲート型の絶縁ゲート型バイポーラトランジスタ(IGBT)に関する。
続きを表示(約 2,600 文字)
【背景技術】
【0002】
従来、トレンチゲート型IGBTでは、ゲートトレンチの間隔を狭く配置することにより高濃度のキャリア蓄積層を設けても耐圧を保持することができる。その場合、ゲートトレンチの密度が高くなり、ゲートチャージ容量Qgが増大してしまう。そこで、ゲートトレンチの一部をエミッタ電位に接続したダミートレンチにすることにより、ゲートチャージ容量Qgの増大を解消している。しかし、ダミートレンチを設けることによりゲートトレンチ周辺の電位が引き下げられ、IGBTのターンオン途中でゲート・コレクタ間容量C
GC
が増加してコレクタ電圧テールの発生を招く。そのため、ターンオン損失が増大する。
【0003】
非特許文献1には、ゲートトレンチ内の電極を上下に2分割して、上部電極をゲート電位に、下部電極をエミッタ電位に接続した分割ゲート構造が提案されている。分割ゲート構造により、ゲート・コレクタ間容量C
GC
を低減して低損失のIGBTを実現している。また、特許文献1では、ダミートレンチの電極を2分割し、上部導電部材をエミッタ電位に、下部導電部材をゲート電位に接続してゲート・コレクタ間容量C
GC
及びコレクタ・エミッタ間容量C
CE
を調整することが記載されている。
【0004】
非特許文献1のゲートトレンチの下部電極や特許文献1の下部導電部は、エミッタ電位に接続されているため、電圧を印加してゲートトレンチあるいはダミートレンチの絶縁膜の耐圧検査のスクリーニングが困難である。製造工程途中でスクリーニングすることは可能ではあるが、製造コストの増加を招いてしまう。特許文献1では、ゲート電極が隣り合っているため、ターンオン時に上面側に蓄積される正孔が電位を押し上げ、変位電流がゲート電極に流れる。そのため、過渡電流の変化率di/dtが増加してノイズが増大してしまう。
【先行技術文献】
【特許文献】
【0005】
国際公開第2018/074427号公報
【非特許文献】
【0006】
K. 西(Nishi)他、「低損失・EMI雑音のCSTBTTMベースのスプリットゲートRC-IGBT(CSTBTTM based split-gate RC-IGBT with low loss and EMI noise)」、第32回パワー半導体デバイス国際シンポジウム会報(Proceedings of the 32nd International Symposium on Power Semiconductor Devices & ICs (ISPSD))、2020年9月、pp.138-141
【発明の概要】
【発明が解決しようとする課題】
【0007】
本発明は、上記問題点を鑑み、ターンオン損失を低減でき、ゲート絶縁膜のスクリーニングが可能な絶縁ゲート型バイポーラトランジスタを提供することを目的とする。
【課題を解決するための手段】
【0008】
本発明のある態様は、平面視で予め定められた延伸方向に延びるゲートトレンチと、ゲートトレンチの底面及び少なくとも一部の側面に設けられる第1絶縁膜と、ゲートトレンチに、第1絶縁膜を介して埋め込まれた底部ゲート導電部材と、底部ゲート導電部材の上に設けられた第1分割絶縁膜と、ゲートトレンチに、第1分割絶縁膜を介して埋め込まれた上部ゲート導電部材と、ゲートトレンチの延伸方向の一端に重なったゲート表面電極と、ゲート表面電極と、底部ゲート導電部材とを電気的に接続する第1コンタクトホールと、ゲート表面電極と、上部ゲート導電部材とを電気的に接続する第2コンタクトホールと、を備える絶縁ゲート型バイポーラトランジスタであることを要旨とする。
【発明の効果】
【0009】
本発明によれば、ターンオン損失を低減でき、ゲート絶縁膜のスクリーニングが可能な絶縁ゲート型バイポーラトランジスタを提供できる。
【図面の簡単な説明】
【0010】
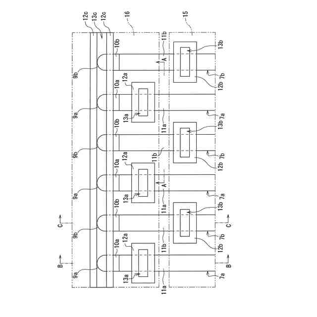
本発明の第1実施形態に係るIGBTの一例を示す平面概略図である。
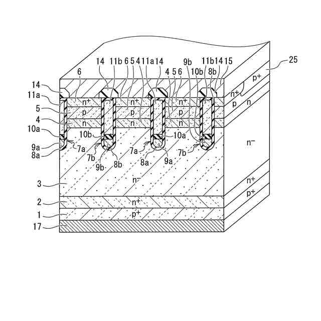
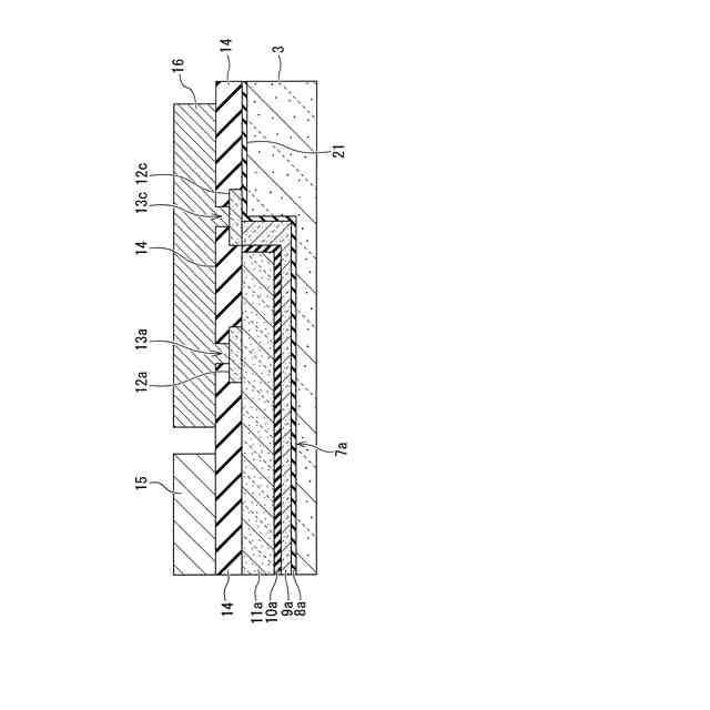
図1中のA-A線方向から見た断面を含む斜視概略図である。
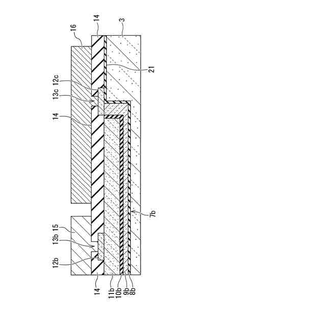
図1中のB-B線方向から見た断面概略図である。
図2中のC-C線方向から見た断面概略図である。
第1実施形態に係るIGBTのターンオン波形の一例を示す図である。
第1実施形態に係るIGBTのターンオン中のゲートトレンチ周辺の電位分布の一例を示す図である。
比較例のIGBTの一例を示す断面概略図である。
比較例のIGBTのターンオン波形の一例を示す図である。
比較例のIGBTのターンオン中のゲートトレンチ周辺の電位分布の一例を示す図である。
第1実施形態の第1変形例に係るIGBTの一例を示す平面概略図である。
図10中のD-D線方向から見た断面概略図である。
図10中のE-E線方向から見た断面概略図である。
第1実施形態の第2変形例に係るIGBTの一例を示す平面概略図である。
図13中のF-F線方向から見た断面概略図である。
図13中のG-G線方向から見た断面概略図である。
第2実施形態に係るIGBTの一例を示す断面概略図である。
第3実施形態に係るIGBTの一例を示す平面概略図である。
図17中のH-H線方向から見た断面概略図である。
図17中のI-I線方向から見た断面概略図である。
図17中のJ-J線方向から見た断面概略図である。
第3実施形態に係るIGBTのトレンチとダイオードとの接続の一例を示す断面概略図である。
第3実施形態に係るIGBTのターンオン波形の一例を示す図である。
第3実施形態に係るIGBTのターンオフ波形の一例を示す図である。
【発明を実施するための形態】
(【0011】以降は省略されています)
この特許をJ-PlatPat(特許庁公式サイト)で参照する
関連特許
富士電機株式会社
駆動回路
20日前
富士電機株式会社
半導体装置
5日前
富士電機株式会社
自動販売機
27日前
富士電機株式会社
半導体装置
1か月前
富士電機株式会社
自動販売装置
1か月前
富士電機株式会社
金銭処理装置
28日前
富士電機株式会社
飲料抽出装置
22日前
富士電機株式会社
学習システム
29日前
富士電機株式会社
硬貨処理装置
20日前
富士電機株式会社
硬貨処理装置
20日前
富士電機株式会社
半導体モジュール
26日前
富士電機株式会社
ガス処理システム
23日前
富士電機株式会社
半導体モジュール
15日前
富士電機株式会社
制御装置、制御方法
20日前
富士電機株式会社
集積回路、電源回路
1か月前
富士電機株式会社
セーフリスト管理方法
20日前
富士電機株式会社
店舗情報設定システム
29日前
富士電機株式会社
半導体装置の製造方法
1か月前
富士電機株式会社
制御回路および電源装置
15日前
富士電機株式会社
制御回路および電力供給回路
1か月前
富士電機株式会社
換気システムおよび冷却装置
13日前
富士電機株式会社
冷却器及び半導体モジュール
26日前
富士電機株式会社
店舗内ショーケース制御システム
27日前
富士電機株式会社
スイッチング制御回路、電源回路
23日前
富士電機株式会社
スイッチング制御回路、電源回路
13日前
富士電機株式会社
ガス回収システム及びガス回収方法
22日前
富士電機株式会社
半導体装置の製造方法及び治具セット
22日前
富士電機株式会社
半導体モジュール、及び、半導体装置
14日前
富士電機株式会社
電力変換装置、制御装置及び制御方法
22日前
富士電機株式会社
部分放電測定装置及び部分放電測定方法
1か月前
富士電機株式会社
紙幣処理装置及び新紙幣搬送動作確認方法
28日前
富士電機株式会社
制御支援装置、制御支援方法、及びプログラム
1か月前
富士電機株式会社
監視システム、監視装置、監視方法、プログラム
15日前
富士電機株式会社
半導体モジュールおよび半導体モジュールの製造方法
1か月前
富士電機株式会社
半導体装置
28日前
富士電機株式会社
管理システム、発電システムおよび太陽光パネルの管理方法
20日前
続きを見る
他の特許を見る