TOP
|
特許
|
意匠
|
商標
特許ウォッチ
Twitter
他の特許を見る
公開番号
2025165693
公報種別
公開特許公報(A)
公開日
2025-11-05
出願番号
2024069926
出願日
2024-04-23
発明の名称
水電解セルスタック診断方法、水電解セルスタック診断システム
出願人
東京瓦斯株式会社
代理人
弁理士法人太陽国際特許事務所
主分類
C25B
15/00 20060101AFI20251028BHJP(電気分解または電気泳動方法;そのための装置)
要約
【課題】簡易に水電解セルスタックの劣化を診断する。
【解決手段】水電解セルスタック診断方法は、プロトン交換膜形水電解セルスタックに対して第1電圧印加時の劣化に応じた電流密度と電圧増加率との関係情報を有する劣化判定用データを予め用意し、診断対象のプロトン交換膜形水電解セルスタックについて掃引電圧を供給して前記第1電圧での電流密度を判定用電流密度として検出し、検出された前記判定用電流密度に対応した前記劣化判定用データの電圧増加率に基づいて、前記診断対象のプロトン交換膜形水電解セルスタックの劣化程度を判定する。
【選択図】図8
特許請求の範囲
【請求項1】
プロトン交換膜形水電解セルスタックに対して第1電圧印加時の劣化に応じた電流密度と電圧増加率との関係情報を有する劣化判定用データを予め用意し、
診断対象のプロトン交換膜形水電解セルスタックについて掃引電圧を供給して前記第1電圧での電流密度を判定用電流密度として検出し、
検出された前記判定用電流密度に対応した前記劣化判定用データの電圧増加率に基づいて、前記診断対象のプロトン交換膜形水電解セルスタックの劣化程度を判定する、
水電解セルスタック診断方法。
続きを表示(約 860 文字)
【請求項2】
前記プロトン交換膜形水電解セルスタックに対して前記第1電圧と異なる第2電圧印加時の劣化に応じた電流密度と電圧増加率との関係情報を有する第2劣化判定用データを予め用意し、
前記診断対象のプロトン交換膜形水電解セルスタックについて掃引電圧を供給して前記第2電圧での電流密度を第2判定用電流密度として検出し、
検出された前記第2判定用電流密度に対応した前記第2劣化判定用データの電圧増加率を加味して、前記診断対象のプロトン交換膜形水電解セルスタックの劣化程度を判定する、
請求項1に記載の水電解セルスタック診断方法。
【請求項3】
前記第1電圧は、掃引電圧を供給した場合に、劣化状態に応じた電流密度の差が所定量以上となる部分の電圧で設定される、
請求項1に記載の水電解セルスタック診断方法。
【請求項4】
前記プロトン交換膜形水電解セルスタックは、電解質膜の一方面にアノード触媒層が形成され、前記電解質膜の他方面にカソード触媒層が形成された触媒層付き電解質膜を含む、
請求項1~請求項3のいずれか1項に記載の水電解セルスタック診断方法。
【請求項5】
前記アノード触媒層に含まれるアノード触媒が酸化イリジウムを含む、
請求項4に記載の水電解セルスタック診断方法。
【請求項6】
プロトン交換膜形水電解セルスタックに対して第1電圧印加時の劣化に応じた電流密度と電圧増加率との関係情報を有する劣化判定用データを予め記憶する記憶部と、
診断対象のプロトン交換膜形水電解セルスタックについて掃引電圧を供給して前記第1電圧での電流密度を判定用電流密度として検出する検出部と、
検出された前記判定用電流密度に対応した前記劣化判定用データの電圧増加率に基づいて、前記診断対象のプロトン交換膜形水電解セルスタックの劣化程度を判定する判定部と、
を備えた、水電解セルスタック診断システム。
発明の詳細な説明
【技術分野】
【0001】
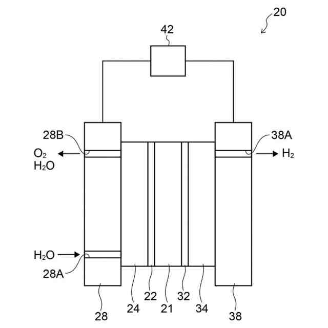
本開示は、水を電気分解して水素と酸素を発生させる水電解セルスタックについての水電解セルスタック診断方法、及び水電解セルスタック診断システムに関する。
続きを表示(約 1,700 文字)
【背景技術】
【0002】
従来、固体高分子電解質膜を使用した水電解セルスタックで水を水素と酸素に電気分解する水分解システムが提案されている。当該水分解セルスタックの劣化状態を診断するためには、水電解セルスタックを解体して個々のセルや部材を分析する必要があり、劣化状態の診断に時間や労力を要していた。
【0003】
特許文献1では、燃料電池のセルスタックについて、小さい部分負荷にて発電を行い、生成水によりセル電圧の上昇を監視し、所定の電圧に到達した時点で負荷を増加させ、セル電圧の変化の傾きを監視しながら湿潤状態を回復させる長期保管中の燃料電池の運転方法が提案されている。特許文献1に記載される技術は、燃料電池スタックの湿潤状態を判定するもので、水電解セルのアノード触媒の劣化度を診断できない。
【先行技術文献】
【特許文献】
【0004】
特開2010-086692号
【発明の概要】
【発明が解決しようとする課題】
【0005】
本開示は、上記事実を考慮してなされたものであり、簡易に水電解セルスタックの劣化を診断する水電解セルスタック診断方法、及び水電解セルスタック診断システムを提供することを目的とする。
【課題を解決するための手段】
【0006】
第1の態様の水電解セルスタック診断方法は、プロトン交換膜形水電解セルスタックに対して第1電圧印加時の劣化に応じた電流密度と電圧増加率との関係情報を有する劣化判定用データを予め用意し、診断対象のプロトン交換膜形水電解セルスタックについて掃引電圧を供給して前記第1電圧での電流密度を判定用電流密度として検出し、検出された前記判定用電流密度に対応した前記劣化判定用データの電圧増加率に基づいて、前記診断対象のプロトン交換膜形水電解セルスタックの劣化程度を判定する。
【0007】
プロトン交換膜形水電解セルスタックは、劣化に応じて電流密度に対する電圧増加率が高くなる。そこで、第1の態様の水電解セルスタック診断方法は、劣化状態に応じた、第1電圧印加時の電流密度と電圧増加率との関係情報を劣化判定用データとして予め用意しておく。次に、診断対象のプロトン交換膜形水電解セルスタックについて掃引電圧を供給して、第1電圧での電流密度を判定用電流密度として検出する。そして、検出された判定用電流密度に対応した劣化判定用データの電圧増加率に基づいて、診断対象のプロトン交換膜形水電解セルスタックの劣化程度を判定する。
【0008】
このようにして、診断対象のプロトン交換膜形水電解セルスタックを、解体したり個々のセルや部材を分析したりすることなく、劣化程度を簡易に診断することができる。
【0009】
第2の態様の水電解セル診断方法は、前記プロトン交換膜形水電解セルスタックに対して前記第1電圧と異なる第2電圧印加時の劣化に応じた電流密度と電圧増加率との関係情報を有する第2劣化判定用データを予め用意し、前記診断対象のプロトン交換膜形水電解セルスタックについて掃引電圧を供給して前記第2電圧での電流密度を第2判定用電流密度として検出し、検出された前記第2判定用電流密度に対応した前記第2劣化判定用データの電圧増加率を加味して、前記診断対象のプロトン交換膜形水電解セルスタックの劣化程度を判定する。
【0010】
第2の態様の水電解セルスタック診断方法は、プロトン交換膜形水電解セルスタックに対して第1電圧と異なる第2電圧印加時の劣化に応じた電流密度と電圧増加率との関係情報を有する第2劣化判定用データを予め用意しておく。次に、前記診断対象のプロトン交換膜形水電解セルスタックについて掃引電圧を供給して第2電圧での電流密度を第2判定用電流密度として検出する。そして、検出された第2判定用電流密度に対応した第2劣化判定用データの電圧増加率を加味して、診断対象のプロトン交換膜形水電解セルスタックの劣化程度を判定する。
(【0011】以降は省略されています)
この特許をJ-PlatPat(特許庁公式サイト)で参照する
関連特許
東京瓦斯株式会社
バーナ
1か月前
東京瓦斯株式会社
電力供給システム
10日前
東京瓦斯株式会社
電力供給システム
1か月前
三浦工業株式会社
燃焼装置
1か月前
三浦工業株式会社
燃焼装置
1か月前
三浦工業株式会社
燃焼装置
2か月前
大成建設株式会社
足場装置および足場構築方法
1か月前
東京瓦斯株式会社
風況観測システム、風況観測方法、およびプログラム
1か月前
東京瓦斯株式会社
水電解セルスタック診断方法、水電解セルスタック診断システム
1か月前
東京瓦斯株式会社
アニオン交換膜形水電解用アノード触媒、アニオン交換膜形水電解用アノード触媒層、アニオン交換膜形水電解セル、及び水電解セルスタック
1か月前
株式会社堤水素研究所
水電解装置
1か月前
株式会社神戸製鋼所
接点材料
1か月前
株式会社ケミカル山本
電解研磨装置用電極
1か月前
本田技研工業株式会社
水電解スタック
2か月前
本田技研工業株式会社
差圧式電解装置
1か月前
一般財団法人電力中央研究所
電解反応装置
2か月前
株式会社荏原製作所
蒸気発電プラント
1か月前
本田技研工業株式会社
CO2電解装置
2か月前
SECカーボン株式会社
カソードアセンブリ
2か月前
東レ株式会社
液体電解用多孔質輸送層およびその製造方法
1か月前
古河電気工業株式会社
端子
2か月前
メルテックス株式会社
極薄電解銅箔及びその製造方法
1か月前
株式会社デンソー
電解装置
1か月前
睦技研株式会社
バレルめっき装置
3日前
三菱マテリアル株式会社
皮膜付端子材及びその製造方法
2か月前
旭化成株式会社
電解装置の運転方法
1か月前
本田技研工業株式会社
膜電極構造体の製造方法
2か月前
大阪瓦斯株式会社
共電解メタネーション装置
1か月前
大阪瓦斯株式会社
共電解メタネーション装置
1か月前
三菱重工業株式会社
皮膜形成装置
1か月前
株式会社トクヤマ
電解槽ユニット
3日前
株式会社トクヤマ
電解槽ユニット
3日前
JX金属株式会社
電着金属の搬送システム及び搬送方法
1か月前
株式会社フジタ
水電解装置
1か月前
本田技研工業株式会社
電気化学式水素昇圧システム
1か月前
本田技研工業株式会社
電気化学式水素昇圧システム
2か月前
続きを見る
他の特許を見る