TOP
|
特許
|
意匠
|
商標
特許ウォッチ
Twitter
他の特許を見る
公開番号
2025171799
公報種別
公開特許公報(A)
公開日
2025-11-20
出願番号
2024077478
出願日
2024-05-10
発明の名称
画像形成装置
出願人
キヤノン株式会社
代理人
弁理士法人近島国際特許事務所
主分類
B41J
29/02 20060101AFI20251113BHJP(印刷;線画機;タイプライター;スタンプ)
要約
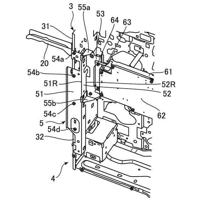
【課題】近傍に基板62が配置される柱部3に把手部20を固定したとしても、基板62に外力が作用することを抑制できる構成を提供する。
【解決手段】把手部20は、柱部3に固定された把手支持台に支持されている。基板62を支持する基板支持部材61は、繋ぎ部材5により柱部3と繋がれている。繋ぎ部材5は、柱部3に固定される第1固定板部51と、基板支持部材61が固定される第2固定板部53と、第1固定板部51の端部に形成された第1折り曲げ部51Rと、第2固定板部53の端部に形成された第2折り曲げ部52Rと、第1折り曲げ部51Rと第2折り曲げ部52Rとの間を連続させる中間板部52とを有する。第1折り曲げ部51R及び第2折り曲げ部52Rは、それぞれの稜線が上下方向に沿うように折り曲げられている。
【選択図】図4
特許請求の範囲
【請求項1】
記録材に画像を形成する画像形成装置であって、
上下方向に延びた柱部を有する筐体と、
基板と、
前記基板を支持する基板支持部材と、
前記柱部に固定される台座と、
前記台座に支持された把手部と、
板状部材を折り曲げることで形成され、前記柱部と前記基板支持部材とを繋ぐ繋ぎ部材と、を備え、
前記繋ぎ部材は、
前記柱部に固定される第1固定板部と、
前記基板支持部材が固定される第2固定板部と、
前記第1固定板部の端部に形成された第1折り曲げ部と、
前記第2固定板部の端部に形成された第2折り曲げ部と、
前記第1折り曲げ部と前記第2折り曲げ部との間を連続させる少なくとも1つの中間板部と、を有し、
前記第1折り曲げ部、及び前記第2折り曲げ部は、それぞれの稜線が前記上下方向に沿うように折り曲げられていることを特徴とする画像形成装置。
続きを表示(約 1,400 文字)
【請求項2】
前記第1固定板部、前記第2固定板部、前記第1折り曲げ部、前記第2折り曲げ部及び前記少なくとも1つの中間板部は、それぞれの上端が前記台座の上端よりも更に上方に位置し、それぞれの下端が前記台座の下端よりも更に下方に位置するように、それぞれ上下方向に連続して形成されていることを特徴とする請求項1に記載の画像形成装置。
【請求項3】
前記柱部は、金属製の板状部材を折り曲げることで形成され、前記台座が固定される第1板部と、前記第1板部から前記基板側に向かう方向に延設された第2板部と、前記第1板部と前記第2板部とを連続させるように稜線が前記上下方向に沿うように折り曲げられた柱側折り曲げ部と、を有し、
前記第1固定板部は、前記第2板部に固定されていることを特徴とする請求項1に記載の画像形成装置。
【請求項4】
前記繋ぎ部材は、前記少なくとも1つの中間板部として、第1中間板部を有し、
前記第1折り曲げ部は、前記第1固定板部と前記第1中間板部とを連続させ、
前記第2折り曲げ部は、前記第1中間板部と前記第2固定板部とを連続させることを特徴とする請求項1に記載の画像形成装置。
【請求項5】
前記繋ぎ部材は、前記少なくとも1つの中間板部として、第1中間板部及び第2中間板部を有し、
前記繋ぎ部材は、さらに、前記第1中間板部と前記第2中間板部との間を連続させる第3折り曲げ部を有することを特徴とする請求項1に記載の画像形成装置。
【請求項6】
前記基板支持部材は、所定の締結位置において基板側締結部材により前記第2固定板部に締結され、
前記所定の締結位置と前記第2固定板部の前記第2折り曲げ部とは反対側の端部との距離は、前記所定の締結位置と前記第2折り曲げ部との距離よりも短いことを特徴とする請求項1に記載の画像形成装置。
【請求項7】
前記繋ぎ部材は、前記上下方向に交差する方向に延び、前記少なくとも1つの中間板部と前記第2固定板部とを連結する連結部を有することを特徴とする請求項1に記載の画像形成装置。
【請求項8】
前記連結部は、前記台座の上端よりも更に上方、或いは、前記台座の下端よりも更に下方、或いは、これらの両方において、前記少なくとも1つの中間板部と前記第2固定板部とを連結することを特徴とする請求項7に記載の画像形成装置。
【請求項9】
前記連結部は、前記少なくとも1つの中間板部と前記第2固定板部のうちの一方の板部の一部を他方の板部に向けて折り曲げられることで形成され、折り曲げられた部分の一部が前記他方の板部に固定されていることを特徴とする請求項7に記載の画像形成装置。
【請求項10】
前記上下方向に交差する方向に配置され、前記台座に対して前記把手部の基端部を回動自在に支持する回動軸を更に備え、
前記把手部は、前記回動軸を中心に、第1位置と、前記第1位置よりも前記把手部の先端部が前記柱部から離れた第2位置とに移動可能であり、
前記台座は、前記把手部が前記第2位置に位置する状態で、前記把手部が前記回動軸を中心に前記第1位置から前記第2位置に向かう回動方向に更に回動することを規制する規制部を有することを特徴とする請求項1に記載の画像形成装置。
発明の詳細な説明
【技術分野】
【0001】
本発明は、複写機、プリンタ、ファクシミリ、これらの複数の機能を有する複合機などの画像形成装置に関する。
続きを表示(約 1,600 文字)
【背景技術】
【0002】
画像形成装置には、装置の設置や運搬時に装置を持ち上げるための把手部が設けられている。例えば、把手部は、装置の設置時には装置を梱包材から降ろす作業を行う際や、建物内の運搬時には建物内の段差等を乗り越える際に装置を持ち上げる際に使用される。このような把手部として、装置重量が重い場合には手で握るのに適した回動式の把手部が提案されている(特許文献1、2)。
【0003】
特許文献1に記載の構成では、画像形成装置を持ち上げるために水平位置に回動された把手部に対して、直交するように配置された把手ステイ荷重受部が設けられている。また、特許文献1では、回動された把手部を上方へと押し上げると把手ステイ荷重受部が変形しようとするため、把手ステイ荷重受部が変形することを抑制することを目的として、把手ステイ荷重受部を支持するためのバックアップ部が設けられている。
【0004】
特許文献2に記載の構成では、画像形成装置を構成する側板に、その側板より強度の高い高張力鋼板製などの補強ブラケットを取り付け、その補強ブラケットと側板とで回動軸を支持し、その回動軸で把手部を保持して、把手部を堅固に保持可能としている。
【先行技術文献】
【特許文献】
【0005】
特開2011-252986号公報
特開2006-209049号公報
【発明の概要】
【発明が解決しようとする課題】
【0006】
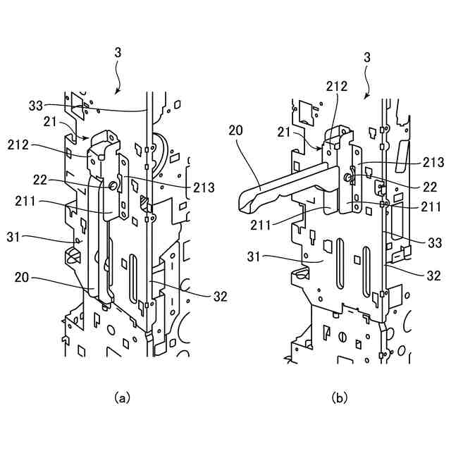
ここで、画像形成装置を構成する筐体の柱部に対して把手部を固定することが考えられる。一方、筐体の柱部には、支持板金などの基板支持部材を介して、例えば画像形成装置を制御するための制御基板などの基板を支持する場合がある。基板を柱部近傍に配置できれば、基板の配置自由度が向上して装置のコンパクト化が図れる。但し、基板は、電気素子が実装されているため、外力が作用することは好ましくないが、上述のように柱部に把手部を設け、柱部の近傍に基板を配置すると、把手部により画像形成装置を持ち上げた場合に、柱部及び基板支持部材を介して基板に外力が作用する虞がある。
【0007】
上述の特許文献1、2に記載の構成は、何れも把手部を持ち上げる力によって、把手部を構成する部材が変形しようとすることを抑制するものである。このため、仮に、特許文献1、2に記載の把手部を柱部に固定したとしても、基板に外力が作用することを抑制できない。
【0008】
本発明は、近傍に基板が配置される柱部に把手部を固定したとしても、基板に外力が作用することを抑制できる構成を提供することを目的とする。
【課題を解決するための手段】
【0009】
本発明の一態様は、記録材に画像を形成する画像形成装置であって、上下方向に延びた柱部を有する筐体と、基板と、前記基板を支持する基板支持部材と、前記柱部に固定される台座と、前記台座に支持された把手部と、板状部材を折り曲げることで形成され、前記柱部と前記基板支持部材とを繋ぐ繋ぎ部材と、を備え、前記繋ぎ部材は、前記柱部に固定される第1固定板部と、前記基板支持部材が固定される第2固定板部と、前記第1固定板部の端部に形成された第1折り曲げ部と、前記第2固定板部の端部に形成された第2折り曲げ部と、前記第1折り曲げ部と前記第2折り曲げ部との間を連続させる少なくとも1つの中間板部と、を有し、前記第1折り曲げ部、及び前記第2折り曲げ部は、それぞれの稜線が前記上下方向に沿うように折り曲げられていることを特徴とする画像形成装置である。
【発明の効果】
【0010】
本発明によれば、近傍に基板が配置される柱部に把手部を固定したとしても、基板に外力が作用することを抑制できる。
【図面の簡単な説明】
(【0011】以降は省略されています)
この特許をJ-PlatPat(特許庁公式サイト)で参照する
関連特許
キヤノン株式会社
容器
27日前
キヤノン株式会社
容器
21日前
キヤノン株式会社
トナー
1か月前
キヤノン株式会社
トナー
13日前
キヤノン株式会社
トナー
1か月前
キヤノン株式会社
トナー
1か月前
キヤノン株式会社
トナー
1か月前
キヤノン株式会社
トナー
1か月前
キヤノン株式会社
撮像装置
今日
キヤノン株式会社
定着装置
今日
キヤノン株式会社
撮像装置
13日前
キヤノン株式会社
撮像装置
今日
キヤノン株式会社
現像容器
1か月前
キヤノン株式会社
撮像装置
27日前
キヤノン株式会社
雲台装置
13日前
キヤノン株式会社
撮像装置
1か月前
キヤノン株式会社
撮像装置
27日前
キヤノン株式会社
撮像装置
1か月前
キヤノン株式会社
定着装置
6日前
キヤノン株式会社
電子機器
8日前
キヤノン株式会社
記録装置
27日前
キヤノン株式会社
現像装置
1か月前
キヤノン株式会社
現像装置
1か月前
キヤノン株式会社
測距装置
1か月前
キヤノン株式会社
測距装置
15日前
キヤノン株式会社
撮像装置
21日前
キヤノン株式会社
現像容器
1か月前
キヤノン株式会社
撮像装置
8日前
キヤノン株式会社
撮影装置
1か月前
キヤノン株式会社
定着装置
6日前
キヤノン株式会社
記録装置
1か月前
キヤノン株式会社
定着装置
6日前
キヤノン株式会社
記録装置
6日前
キヤノン株式会社
撮像装置
27日前
キヤノン株式会社
定着装置
1か月前
キヤノン株式会社
定着装置
今日
続きを見る
他の特許を見る