TOP
|
特許
|
意匠
|
商標
特許ウォッチ
Twitter
他の特許を見る
10個以上の画像は省略されています。
公開番号
2025166642
公報種別
公開特許公報(A)
公開日
2025-11-06
出願番号
2024070812
出願日
2024-04-24
発明の名称
画像形成装置
出願人
キヤノン株式会社
代理人
弁理士法人大塚国際特許事務所
主分類
G03G
15/08 20060101AFI20251029BHJP(写真;映画;光波以外の波を使用する類似技術;電子写真;ホログラフイ)
要約
【課題】画像形成装置においてカートリッジの交換の必要性をユーザに認識しやすくさせる。
【解決手段】交換制御部(エンジン制御部)は、カートリッジの移動指示を受信した場合、当該カートリッジを装着位置から退避位置へ移動させるよう移動装置を制御する移動処理を行う。交換制御部は、カートリッジ内のトナー残量の取得結果が所定の条件を満たした場合、カートリッジの移動指示を受信していない場合であってもカートリッジの移動処理を行う。
【選択図】図16
特許請求の範囲
【請求項1】
トナーを収容するカートリッジを着脱可能な画像形成装置であって、
感光体と、
前記感光体に形成された静電潜像を、前記カートリッジから供給された前記トナーで現像する現像ユニットを備え、回転可能なロータリと、
前記カートリッジが前記ロータリの内部に位置する装着位置と、前記カートリッジが前記ロータリの外部に位置する退避位置と、に前記カートリッジを移動させる移動装置と、
前記カートリッジの移動指示を受信した場合、前記カートリッジを前記装着位置から前記退避位置へ移動させるよう前記移動装置を制御する移動処理を行う制御手段と、
前記カートリッジ内のトナー残量を取得する取得部と、
を備え、
前記制御手段は、前記取得部の取得結果が所定の条件を満たした場合、前記移動指示を受信していない場合であっても前記移動処理を行う、
ことを特徴とする画像形成装置。
続きを表示(約 1,400 文字)
【請求項2】
前記制御手段は、前記取得部が取得した前記トナー残量が閾値以下になると、前記移動指示を受信していない場合であっても前記移動処理を行う、
ことを特徴とする請求項1に記載の画像形成装置。
【請求項3】
前記制御手段は、前記取得部が取得した前記トナー残量が閾値以下になると、前記移動指示を受信していない場合であっても、画像形成指示を受信したことに応じて前記移動処理を行う、
ことを特徴とする請求項1に記載の画像形成装置。
【請求項4】
前記閾値は、画像形成を行うために必要となるトナーを前記カートリッジから前記現像ユニットへ補給できないトナー残量として定められる、
ことを特徴とする請求項2に記載の画像形成装置。
【請求項5】
前記現像ユニットは、前記カートリッジから供給された前記トナーを収容する収容部を有し、
前記制御手段は、前記カートリッジの前記トナー残量が第1閾値以下になり、かつ、前記収容部のトナー残量が第2閾値以下になると、前記移動指示を受信していない場合であっても前記移動処理を行う、
ことを特徴とする請求項1乃至4のいずれか一項に記載の画像形成装置。
【請求項6】
前記制御手段は、前記移動処理により前記カートリッジを前記退避位置に移動させてから所定時間が経過した後に、前記カートリッジを前記退避位置から前記装着位置に移動させるように前記移動装置を制御する、
ことを特徴とする請求項1乃至4のいずれか一項に記載の画像形成装置。
【請求項7】
前記移動装置は、前記ロータリに取り付けられ、前記カートリッジが取り外し可能に装着され、前記カートリッジを支持する支持部材を含み、
前記支持部材は、前記カートリッジが前記装着位置と前記退避位置との間で移動するように、前記ロータリに対して移動可能であり、
前記制御手段は、前記カートリッジが前記画像形成装置に装着されていないことを検知すると、前記移動指示を受信していない場合であっても、前記支持部材を、前記退避位置に対応する位置から前記装着位置に対応する位置へ移動させる、
ことを特徴とする請求項1乃至4のいずれか一項に記載の画像形成装置。
【請求項8】
前記制御手段は、前記カートリッジが前記退避位置にある状態において前記画像形成装置をスリープ状態へ移行させる場合、前記スリープ状態への移行前に前記カートリッジを前記退避位置から前記装着位置へ移動させる、
ことを特徴とする請求項1乃至4のいずれか一項に記載の画像形成装置。
【請求項9】
前記制御手段は、前記スリープ状態への移行前に前記カートリッジが前記退避位置にあった場合、前記画像形成装置を前記スリープ状態から復帰させた後に前記カートリッジを前記装着位置から前記退避位置へ移動させる、
ことを特徴とする請求項8に記載の画像形成装置。
【請求項10】
前記移動処理は、前記カートリッジが前記装着位置にない場合に前記カートリッジの位置が前記装着位置となるまで前記ロータリを回転させる処理と、前記カートリッジを前記装着位置から前記退避位置へ移動させる処理とを含む、
ことを特徴とする請求項1乃至4のいずれか一項に記載の画像形成装置。
(【請求項11】以降は省略されています)
発明の詳細な説明
【技術分野】
【0001】
本発明は、記録材に画像を形成する画像形成装置に関する。
続きを表示(約 2,100 文字)
【背景技術】
【0002】
電子写真方式の画像形成装置において、複数の現像ローラを備えたロータリを回転させることでカラー画像を形成するロータリ現像方式が知られている。特許文献1及び2には、複数の現像ローラを備えたロータリと、当該ロータリに対してそれぞれ着脱可能な複数のトナーカートリッジ(トナー収容容器)と、を備えた画像形成装置が記載されている。
【先行技術文献】
【特許文献】
【0003】
特開2007-183305号公報
特開2008-096852号公報
【発明の概要】
【発明が解決しようとする課題】
【0004】
上述のようなロータリ現像方式を用いた画像形成装置では、例えば、トナーカートリッジ内のトナー残量が少なくなった場合に、画像形成動作を行えないことがある。そのような場合、画像形成装置は、表示部にメッセージを表示する等して、トナーカートリッジの交換をユーザに促すことが必要になる。しかし、ユーザがそのようなメッセージに気付かなかった場合、画像形成装置に対する画像形成指示の入力後、画像形成動作が行われないことで、トナーカートリッジの交換の必要性にようやく気付くことになる。このため、トナーカートリッジの交換作業が完了して画像形成が可能になるまで時間がかかることになる。
【0005】
そこで、本発明は、画像形成装置においてカートリッジの交換の必要性をユーザに認識しやすくさせる技術を提供することを目的とする。
【課題を解決するための手段】
【0006】
本発明の一態様によれば、トナーを収容するカートリッジを着脱可能な画像形成装置であって、感光体と、前記感光体に形成された静電潜像を、前記カートリッジから供給された前記トナーで現像する現像ユニットを備え、回転可能なロータリと、前記カートリッジが前記ロータリの内部に位置する装着位置と、前記カートリッジが前記ロータリの外部に位置する退避位置と、に前記カートリッジを移動させる移動装置と、前記カートリッジの移動指示を受信した場合、前記カートリッジを前記装着位置から、前記退避位置へ移動させるよう前記移動装置を制御する移動処理を行う制御手段と、前記カートリッジ内のトナー残量を取得する取得部と、を備え、前記制御手段は、前記取得部の取得結果が所定の条件を満たした場合、前記移動指示を受信していない場合であっても前記移動処理を行う、ことを特徴とする画像形成装置が提供される。
【発明の効果】
【0007】
本発明によれば、画像形成装置においてカートリッジの交換の必要性をユーザが認識しやすくなる。
【図面の簡単な説明】
【0008】
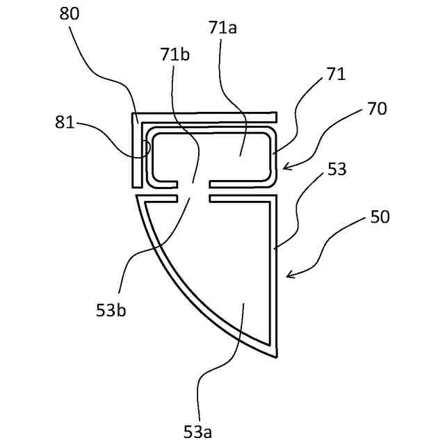
画像形成装置の概略的な断面図。
画像形成装置の概略的な駆動構成図。
現像ユニット、カートリッジ及びトレイの模式図。
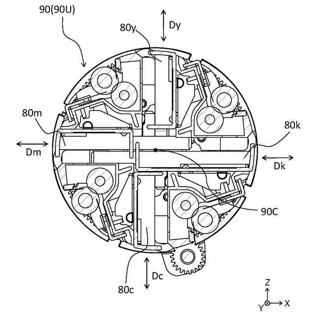
画像形成装置のロータリ近傍の断面図。
ロータリ本体の斜視図。
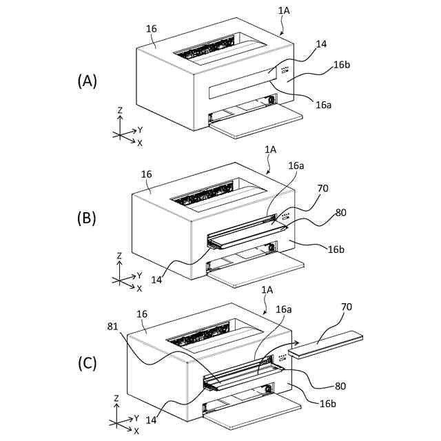
画像形成装置の斜視図。
画像形成装置のロータリ近傍の断面図。
ロータリ本体の説明図。
ロータリ本体の説明図。
ロータリ本体の説明図。
トレイの移動構成の説明図。
トレイの移動構成の説明図。
トレイ状態の検知例を示す図。
トレイ状態の検知例を示す図。
画像形成装置の制御構成例、及びエンジン制御部の機能構成例を示すブロック図。
カートリッジの移動制御の手順の例を示すフローチャート。
カートリッジの移動制御の手順の例を示すフローチャート。
スリープ移行制御及びスリープ復帰制御の手順の例を示すフローチャート。
【発明を実施するための形態】
【0009】
以下、添付図面を参照して実施形態を詳しく説明する。なお、以下の実施形態は特許請求の範囲に係る発明を限定するものではない。実施形態には複数の特徴が記載されているが、これらの複数の特徴の全てが発明に必須のものとは限らず、また、複数の特徴は任意に組み合わせられてもよい。さらに、添付図面においては、同一若しくは同様の構成に同一の参照番号を付し、重複した説明は省略する。
【0010】
[第一実施形態]
図1~図12を用いて、本実施形態による画像形成装置1について説明する。以下の明及び各図面において、画像形成装置1が水平面に設置された場合の鉛直方向をZ方向とする。Z方向と交差する方向であって、後述するロータリ本体90の回転軸線90Cの方向(ロータリの回転軸線方向)をY方向とする。Z方向及びY方向の双方と交差する方向をX方向とする。X方向及びY方向は、好ましくは水平方向である。また、X方向、Y方向、Z方向は、好ましくは互いに直交する。また、必要に応じ、各図面に図示した矢印X、Y、Zの方向をそれぞれ+X側、+Y側、+Z側と表し、その反対側をそれぞれ-X側、-Y側、-Z側と表す。
(【0011】以降は省略されています)
この特許をJ-PlatPat(特許庁公式サイト)で参照する
関連特許
個人
表示装置
1か月前
個人
雨用レンズカバー
1か月前
日本精機株式会社
プロジェクタ
3日前
キヤノン株式会社
撮像装置
10日前
キヤノン株式会社
撮像装置
1か月前
キヤノン株式会社
撮像装置
1か月前
日本精機株式会社
車両用投射装置
2か月前
キヤノン株式会社
撮像装置
1か月前
キヤノン株式会社
撮像装置
2か月前
株式会社リコー
画像形成装置
1か月前
株式会社リコー
画像形成装置
2か月前
株式会社リコー
画像形成装置
24日前
株式会社リコー
画像形成装置
1か月前
株式会社リコー
画像形成装置
1か月前
株式会社リコー
画像形成装置
1か月前
キヤノン株式会社
画像形成装置
1か月前
株式会社オプトル
プロジェクタ
2か月前
キヤノン株式会社
トナー
1か月前
キヤノン株式会社
トナー
2か月前
キヤノン株式会社
画像形成装置
18日前
キヤノン株式会社
トナー
2か月前
キヤノン株式会社
画像形成装置
1か月前
レーザーテック株式会社
光源装置
5日前
沖電気工業株式会社
画像形成装置
1か月前
キヤノン株式会社
現像装置
1か月前
アイホン株式会社
カメラシステム
2か月前
沖電気工業株式会社
画像形成装置
5日前
レーザーテック株式会社
光源装置
26日前
スタンレー電気株式会社
照明装置
2か月前
沖電気工業株式会社
画像形成装置
1か月前
キヤノン株式会社
レンズキャップ
1か月前
古野電気株式会社
装置
1か月前
ブラザー工業株式会社
画像形成装置
1か月前
株式会社リコー
画像形成装置
2か月前
ブラザー工業株式会社
画像形成装置
1か月前
株式会社電気印刷研究所
静電印刷用積層体
2か月前
続きを見る
他の特許を見る