TOP
|
特許
|
意匠
|
商標
特許ウォッチ
Twitter
他の特許を見る
10個以上の画像は省略されています。
公開番号
2025166646
公報種別
公開特許公報(A)
公開日
2025-11-06
出願番号
2024070816
出願日
2024-04-24
発明の名称
画像形成装置
出願人
キヤノン株式会社
代理人
弁理士法人大塚国際特許事務所
主分類
G03G
21/00 20060101AFI20251029BHJP(写真;映画;光波以外の波を使用する類似技術;電子写真;ホログラフイ)
要約
【課題】トナーカートリッジから現像ユニットへのトナーの供給不良を抑制する。
【解決手段】画像形成装置は、画像を現像剤により現像する現像ユニットと、現像ユニットに供給する現像剤を収容するカートリッジと現像ユニットとを収容する、回転可能に支持されたロータリと、ロータリを回転させる駆動部と、駆動部を制御する制御部とを有する。制御部は、現像ユニットによる画像の現像が行われていない期間に、駆動部を制御してロータリの回転の加速および減速を少なくとも2回実行する。
【選択図】図9
特許請求の範囲
【請求項1】
第一現像剤を収容する第一カートリッジと第二現像剤を収容する第二カートリッジを着脱可能な画像形成装置であって、
前記第一カートリッジから供給される前記第一現像剤を収容する第一収容部と、前記第一収容部に収容された前記第一現像剤を用いて感光体上に形成された静電潜像を現像する第一現像部材と、を備える第一現像ユニットと、
前記第二カートリッジから供給される前記第二現像剤を収容する第二収容部と、前記第二収容部に収容された前記第二現像剤を用いて前記感光体上に形成された前記静電潜像を現像する第二現像部材と、を備える第二現像ユニットと、
前記第一現像ユニットと、前記第二現像ユニットを備え、回転可能なロータリと、
前記ロータリが回転するよう前記ロータリを駆動する駆動部と、
前記駆動部を制御する制御部と、
を有し、
前記第一カートリッジにある前記第一現像剤は、前記第一カートリッジに形成された第一排出開口から前記第一収容部に形成された第一受け入れ開口へ排出されることで前記第一収容部に供給され、
前記ロータリは、前記第一排出開口から前記第一受け入れ開口へ向かう向きが鉛直方向下向き成分を有する第一補給姿勢と、前記第一現像部材が前記感光体に現像可能な姿勢である第一現像姿勢と、を取り、
前記制御部は、前記ロータリが前記第一補給姿勢から前記第一現像姿勢まで回転するまでの期間において、前記ロータリが加速した後に減速する加減速動作を少なくとも2回以上行われるよう前記駆動部を制御する、
ことを特徴とする画像形成装置。
続きを表示(約 1,200 文字)
【請求項2】
請求項1に記載の画像形成装置であって、
前記ロータリの回転の加速および減速は、第1の回転方向と、前記第1の回転方向とは異なる第2の回転方向とへ、交互に繰り返し行われる
ことを特徴とする画像形成装置。
【請求項3】
請求項1に記載の画像形成装置であって、
前記ロータリの回転の加速および減速は、前記第一補給姿勢で開始される
ことを特徴とする画像形成装置。
【請求項4】
請求項3に記載の画像形成装置であって、
前記ロータリの回転の加速および減速は、前記第一補給姿勢で開始される前に、前記第一補給姿勢とは異なる第二補給姿勢で開始される
ことを特徴とする画像形成装置。
【請求項5】
請求項4に記載の画像形成装置であって、
前記第二補給姿勢は、前記第一補給姿勢から前記ロータリを90度ずつ回転させて複数通りの姿勢を含む
ことを特徴とする画像形成装置。
【請求項6】
請求項1に記載の画像形成装置であって、
前記ロータリの回転の加速および減速の加速度の絶対値は、画像形成時の前記ロータリの加速および減速の加速度の絶対値よりも大きい
ことを特徴とする画像形成装置。
【請求項7】
画像を現像剤により現像する現像ユニットと、
前記現像ユニットに供給する現像剤を収容するカートリッジと前記現像ユニットとを収容する、回転可能に支持されたロータリと、
前記ロータリに対して当接離間可能でロータリに振動を加える加振部と、
前記加振部の振動を制御する制御部とを有し、
前記制御部は、前記現像ユニットによる画像の現像が行われていない期間に、前記加振部を制御して前記ロータリに振動を加える
ことを特徴とする画像形成装置。
【請求項8】
請求項7に記載の画像形成装置であって、
前記加振部は、前記現像ユニットにより現像される画像が形成される感光ドラムから前記ロータリを離間させるカムであり、前記カムの回転により前記ロータリを振動させる
ことを特徴とする画像形成装置。
【請求項9】
請求項7に記載の画像形成装置であって、
前記加振部は前記ロータリに接する振動アクチュエータである
ことを特徴とする画像形成装置。
【請求項10】
請求項1または7に記載の画像形成装置であって、
前記現像ユニットは前記カートリッジから供給される前記現像剤を受け入れる開口部を有しており、前記開口部には、前記現像ユニットから前記カートリッジへ前記現像剤が移動することを防止する封止部材を有する
ことを特徴とする画像形成装置。
発明の詳細な説明
【技術分野】
【0001】
本発明は、記録材に画像を形成する画像形成装置に関する。
続きを表示(約 2,700 文字)
【背景技術】
【0002】
電子写真方式の画像形成装置において、トナー容器と現像容器を有する複数の現像ユニットを備えたロータリを回転させることでカラー画像を形成するロータリ現像方式が知られている。ロータリの回転によって現像ユニットが所定の角度に傾いた際にトナー容器から現像容器にトナーが落下し、所定量のトナーが現像容器へと供給されるように構成されている画像形成装置が記載されている。
【0003】
このようなロータリ式現像方式を備えた画像形成装置にあっては、フルカラーの画像を形成する際には、各色の1ページ分の画像を現像する毎にロータリが所定角度ずつ回転して多重転写が実行される。そのため1ページのカラー画像を形成するまでロータリが1回転し、その途中の所定の回転範囲でトナー容器からトナーが現像容器に供給される。
【先行技術文献】
【特許文献】
【0004】
特開2009-008794号公報
【発明の概要】
【発明が解決しようとする課題】
【0005】
しかしながら、トナー容器が長期間放置されると、容器内のトナーが容器の壁面に付着したり、トナー同士が付着したりして、現像容器に供給されにくくなる場合がある。これらのトナー付着は通常の画像形成中の動作では解消できない場合があり、特に高温多湿の環境においてはトナーの付着が発生しやすくなる。トナーの付着が発生すると、トナー容器内のトナーが現像容器に供給されずに残った状態でトナー容器の交換が行われてしまい無駄なトナーが発生してしまう。これに対し、トナー容器内にトナーを攪拌するための攪拌部材を設けることでトナーの付着をほぐすことが可能となるが、トナー容器を含む画像形成装置を構成する部品点数が多く、複雑な構成になってしまう。したがって、画像形成装置の部品点数の削減、小型化及びコストダウンを実現するために攪拌部材なしでのトナーの付着を抑制し、トナーを無駄にしないことが望ましい。
【0006】
本発明は上記従来例に鑑みて成されたもので、トナー容器から現像容器へトナーを供給するトナー補給方式の画像形成装置において、攪拌部材なしでトナーの付着を抑制し、トナー容器内のトナーを無駄なく消費することを目的とする。
【課題を解決するための手段】
【0007】
上記目的を達成するために本発明の一側面によれば、第一現像剤を収容する第一カートリッジと第二現像剤を収容する第二カートリッジを着脱可能な画像形成装置であって、
前記第一カートリッジから供給される前記第一現像剤を収容する第一収容部と、前記第一収容部に収容された前記第一現像剤を用いて感光体上に形成された静電潜像を現像する第一現像部材と、を備える第一現像ユニットと、
前記第二カートリッジから供給される前記第二現像剤を収容する第二収容部と、前記第二収容部に収容された前記第二現像剤を用いて前記感光体上に形成された前記静電潜像を現像する第二現像部材と、を備える第二現像ユニットと、
前記第一現像ユニットと、前記第二現像ユニットを備え、回転可能なロータリと、
前記ロータリが回転するよう前記ロータリを駆動する駆動部と、
前記駆動部を制御する制御部と、
を有し、
前記第一カートリッジにある前記第一現像剤は、前記第一カートリッジに形成された第一排出開口から前記第一収容部に形成された第一受け入れ開口へ排出されることで前記第一収容部に供給され、
前記ロータリは、前記第一排出開口から前記第一受け入れ開口へ向かう向きが鉛直方向下向き成分を有する第一補給姿勢と、前記第一現像部材が前記感光体に現像可能な姿勢である第一現像姿勢と、を取り、
前記制御部は、前記ロータリが前記第一補給姿勢から前記第一現像姿勢まで回転するまでの期間において、前記ロータリが加速した後に減速する加減速動作を少なくとも2回以上行われるよう前記駆動部を制御する、
ことを特徴とする画像形成装置が提供される。
【0008】
本発明の他の側面によれば、画像を現像剤により現像する現像ユニットと、
前記現像ユニットに供給する現像剤を収容するカートリッジと前記現像ユニットとを収容する、回転可能に支持されたロータリと、
前記ロータリに対して当接離間可能でロータリに振動を加える加振部と、
前記加振部の振動を制御する制御部とを有し、
前記制御部は、前記現像ユニットによる画像の現像が行われていない期間に、前記加振部を制御して前記ロータリに振動を加える
ことを特徴とする画像形成装置が提供される。
【発明の効果】
【0009】
本発明によれば攪拌部材なしで画像形成装置内のトナー塊をほぐすことができ、トナー容器内のトナーを無駄なく消費することが可能となる。
【図面の簡単な説明】
【0010】
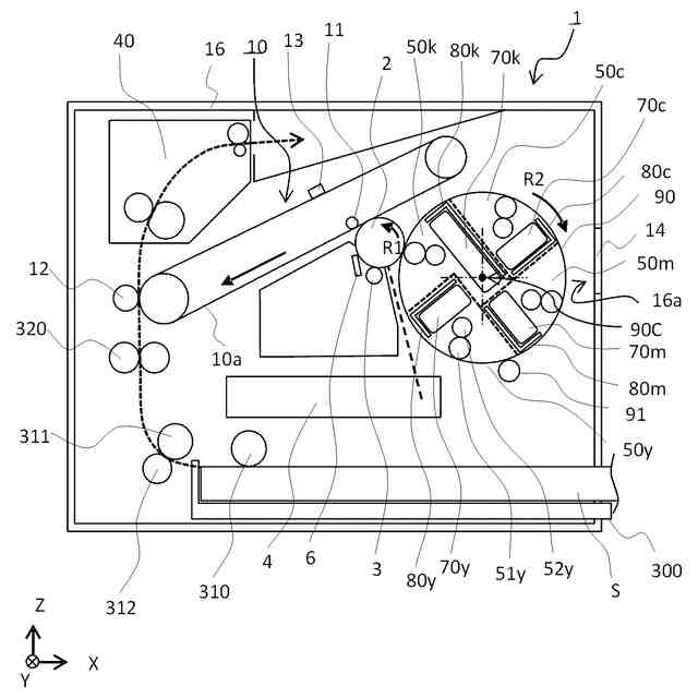
実施形態1に係る画像形成装置の概略構成を示す模式断面図
実施形態1に係るロータリ本体とその周辺部材の模式断面図
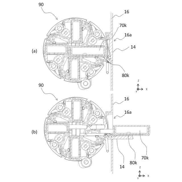
実施形態1に係るトナーカートリッジのロータリ本体90からの着脱について説明する模式断面図
実施形態1に係る現像ユニット、トナーカートリッジ及びトレイの模式断面図
実施形態1に係る制御部を示す図
実施形態1に係る画像形成時のロータリ回転制御の流れを示す図
実施形態1に係る画像形成時のトナー補給タイミングでのトナーカートリッジ姿勢を示す模式図
実施形態1に係るロータリ加減速動作モードにおけるロータリ回転制御の流れを示す図
実施形態1に係るロータリ動作モードにおけるトナーカートリッジ姿勢を示す模式図
実施形態2に係るロータリ動作モードにおけるロータリ回転制御の流れを示す図
実施形態2に係るロータリ動作モードにおけるトナーカートリッジ姿勢を示す模式図
実施形態3に係るロータリ動作モードにおけるロータリ回転制御の流れを示す図
実施形態4に係るロータリ動作モードにおけるロータリ回転制御の流れを示す図
実施形態4の変形例に係るロータリ動作モードにおけるロータリ回転と振動アクチュエータの制御の流れを示す図
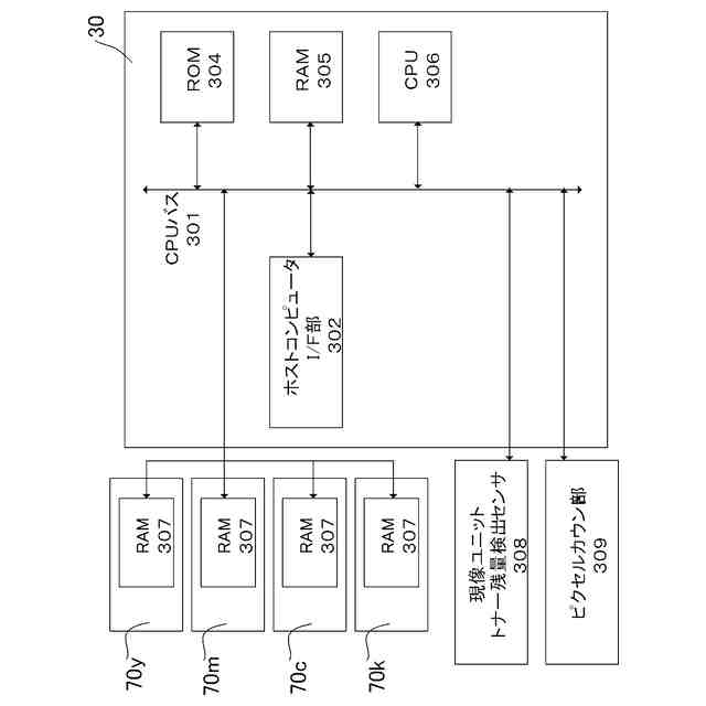
制御部の構成を示すブロック図
トレイ挿抜の機構を示す図
ロータリの加減速のための制御手順を示すフローチャート
【発明を実施するための形態】
(【0011】以降は省略されています)
この特許をJ-PlatPat(特許庁公式サイト)で参照する
関連特許
キヤノン株式会社
撮像装置
2日前
キヤノン株式会社
記録装置
3日前
キヤノン株式会社
発光装置
9日前
キヤノン株式会社
記録装置
3日前
キヤノン株式会社
表示装置
9日前
キヤノン株式会社
表示装置
9日前
キヤノン株式会社
電子機器
2日前
キヤノン株式会社
撮像装置
9日前
キヤノン株式会社
表示装置
9日前
キヤノン株式会社
表示装置
2日前
キヤノン株式会社
撮像装置
2日前
キヤノン株式会社
撮像装置
2日前
キヤノン株式会社
二次電池
4日前
キヤノン株式会社
撮像装置
2日前
キヤノン株式会社
撮像装置
2日前
キヤノン株式会社
撮像装置
9日前
キヤノン株式会社
インク容器
3日前
キヤノン株式会社
画像記録装置
4日前
キヤノン株式会社
情報処理装置
2日前
キヤノン株式会社
二成分現像剤
9日前
キヤノン株式会社
画像形成装置
2日前
キヤノン株式会社
検査システム
9日前
キヤノン株式会社
画像形成装置
9日前
キヤノン株式会社
画像形成装置
4日前
キヤノン株式会社
映像表示装置
3日前
キヤノン株式会社
画像形成装置
10日前
キヤノン株式会社
画像形成装置
2日前
キヤノン株式会社
インク補充用パウチ
9日前
キヤノン株式会社
測距装置及び測距方法
2日前
キヤノン株式会社
発光装置及び測距装置
9日前
キヤノン株式会社
発光装置及び測距装置
9日前
キヤノン株式会社
レンズ装置及び撮像装置
3日前
キヤノン株式会社
記録装置及びその制御方法
9日前
キヤノン株式会社
ズームレンズ及び撮像装置
4日前
キヤノン株式会社
表示光学系および表示装置
2日前
キヤノン株式会社
レンズ装置および撮像装置
3日前
続きを見る
他の特許を見る