TOP
|
特許
|
意匠
|
商標
特許ウォッチ
Twitter
他の特許を見る
10個以上の画像は省略されています。
公開番号
2025166641
公報種別
公開特許公報(A)
公開日
2025-11-06
出願番号
2024070811
出願日
2024-04-24
発明の名称
画像形成装置
出願人
キヤノン株式会社
代理人
弁理士法人大塚国際特許事務所
主分類
G03G
21/00 20060101AFI20251029BHJP(写真;映画;光波以外の波を使用する類似技術;電子写真;ホログラフイ)
要約
【課題】画像形成装置においてカートリッジの交換が必要になった場合に、ユーザが交換作業を行うことが可能になるまでの待ち時間を削減する。
【解決手段】交換制御部(エンジン制御部)は、カートリッジの移動指示を受信した場合に、ロータリ本体を交換姿勢となるまで回転させ、更に、カートリッジを装着位置から退避位置へ移動させる。交換制御部は、カートリッジ内のトナー残量の取得結果が所定の条件を満たした場合に、ロータリ本体を交換姿勢に近づくよう回転させ、待機姿勢となるまで回転させる処理を行う。
【選択図】図14
特許請求の範囲
【請求項1】
トナーを収容するカートリッジを着脱可能な画像形成装置であって、
回転可能なロータリであって、前記カートリッジから供給されるトナーを収容する収容部と、感光体に形成された静電潜像を前記収容部に収容された前記トナーで現像する現像部材と、を備える、前記ロータリと、
前記ロータリが交換姿勢にある場合に、前記カートリッジが前記ロータリの内部に位置する装着位置から前記カートリッジが前記ロータリの外部に位置する退避位置へ前記カートリッジを移動させる移動装置と、
前記カートリッジの移動指示を受信した場合に、前記ロータリを前記交換姿勢となるまで回転させ、更に、前記カートリッジを前記装着位置から前記退避位置へ移動させる制御手段と、
前記カートリッジのトナー残量を取得する取得部と、
を備え、
前記制御手段は、前記取得部の取得結果が所定の条件を満たした場合に、前記ロータリを前記交換姿勢に近づくよう回転させ、待機姿勢となるまで回転させる処理を行う、
ことを特徴とする画像形成装置。
続きを表示(約 1,200 文字)
【請求項2】
前記待機姿勢は、前記待機姿勢から前記交換姿勢となるまで前記ロータリが回転する回転角度が90度以下となるように設定されている、
ことを特徴とする請求項1に記載の画像形成装置。
【請求項3】
前記待機姿勢は、前記交換姿勢である、
ことを特徴とする請求項2に記載の画像形成装置。
【請求項4】
前記制御手段は、前記ロータリが前記交換姿勢にある状態で前記移動指示を受信した場合、前記ロータリを回転させずに前記カートリッジを前記装着位置から前記退避位置へ移動させる、
ことを特徴とする請求項3に記載の画像形成装置。
【請求項5】
前記待機姿勢は、前記交換姿勢とは異なる、
ことを特徴とする請求項2に記載の画像形成装置。
【請求項6】
前記制御手段は、前記ロータリが前記待機姿勢にある状態で前記移動指示を受信した場合、前記ロータリを前記待機姿勢から前記交換姿勢となるまで回転させ、更に、前記カートリッジを前記装着位置から前記退避位置へ移動させる、
ことを特徴とする請求項5に記載の画像形成装置。
【請求項7】
前記制御手段は、前記取得部が取得した前記トナー残量が閾値以下である場合、前記ロータリを前記交換姿勢に近づくよう回転させ、前記待機姿勢となるまで回転させる、
ことを特徴とする請求項1乃至6のいずれか一項に記載の画像形成装置。
【請求項8】
前記制御手段は、前記カートリッジの前記トナー残量が第1閾値以下であり、かつ、前記収容部のトナー残量が第2閾値以下である場合に、前記ロータリを前記交換姿勢に近づくよう回転させ、前記待機姿勢となるまで回転させる、
ことを特徴とする請求項1乃至6のいずれか一項に記載の画像形成装置。
【請求項9】
前記制御手段は、前記カートリッジの前記トナー残量が前記第1閾値以下であり、かつ、前記収容部の前記トナー残量が前記第2閾値より大きい場合、前記ロータリを前記待機姿勢となるまで回転させる処理を行わない、
ことを特徴とする請求項8に記載の画像形成装置。
【請求項10】
前記画像形成装置は複数のカートリッジを着脱可能であり、
前記制御手段は、前記複数のカートリッジについて前記トナー残量が閾値以下である場合、前記複数のカートリッジのうちの1つのカートリッジに対応する前記待機姿勢にある状態で前記ロータリの回転を開始して、前記ロータリが順次、前記複数のカートリッジにそれぞれ対応する前記交換姿勢となるように前記ロータリを回転させたときの、前記ロータリの総回転角度が最小となるように、前記ロータリを前記複数のカートリッジのうちでいずれのカートリッジに対応する前記待機姿勢にするかを決定する、
ことを特徴とする請求項1乃至6のいずれか一項に記載の画像形成装置。
(【請求項11】以降は省略されています)
発明の詳細な説明
【技術分野】
【0001】
本発明は、記録材に画像を形成する画像形成装置に関する。
続きを表示(約 2,100 文字)
【背景技術】
【0002】
電子写真方式の画像形成装置において、複数の現像ローラを備えたロータリを回転させることでカラー画像を形成するロータリ現像方式が知られている。特許文献1及び2には、複数の現像ローラを備えたロータリと、当該ロータリに対してそれぞれ着脱可能な複数のトナーカートリッジ(トナー収容容器)と、を備えた画像形成装置が記載されている。
【先行技術文献】
【特許文献】
【0003】
特開2007-183305号公報
特開2008-096852号公報
【発明の概要】
【発明が解決しようとする課題】
【0004】
上述のようなロータリ現像方式を用いた画像形成装置は、トナーカートリッジの交換がユーザから指示されると、交換対象のトナーカートリッジが所定の交換位置へ移動するまでロータリを回転させ、ユーザによる交換が行われるまで待機する。交換対象のトナーカートリッジの移動を開始する前のロータリの姿勢によっては、当該トナーカートリッジが交換位置へ移動するまでのロータリの回転角度が大きくなることがある。その場合、ユーザが交換指示を行ってから実際にトナーカートリッジの交換作業を行うことが可能になるまでの待ち時間が発生する。
【0005】
そこで、本発明は、画像形成装置においてカートリッジの交換が必要になった場合に、ユーザが交換作業を行うことが可能になるまでの待ち時間を削減するための技術を提供することを目的とする。
【課題を解決するための手段】
【0006】
本発明の一態様によれば、トナーを収容するカートリッジを着脱可能な画像形成装置であって、回転可能なロータリであって、前記カートリッジから供給されるトナーを収容する収容部と、感光体に形成された静電潜像を前記収容部に収容された前記トナーで現像する現像部材と、を備える、前記ロータリと、前記ロータリが交換姿勢にある場合に、前記カートリッジが前記ロータリの内部に位置する装着位置から前記カートリッジが前記ロータリの外部に位置する退避位置へ前記カートリッジを移動させる移動装置と、前記カートリッジの移動指示を受信した場合に、前記ロータリを前記交換姿勢となるまで回転させ、更に、前記カートリッジを前記装着位置から前記退避位置へ移動させる制御手段と、前記カートリッジのトナー残量を取得する取得部と、を備え、前記制御手段は、前記取得部の取得結果が所定の条件を満たした場合に、前記ロータリを前記交換姿勢に近づくよう回転させ、待機姿勢となるまで回転させる処理を行う、ことを特徴とする画像形成装置が提供される。
【発明の効果】
【0007】
本発明によれば、画像形成装置においてカートリッジの交換が必要になった場合に、ユーザが交換作業を行うことが可能になるまでの待ち時間を削減することが可能になる。
【図面の簡単な説明】
【0008】
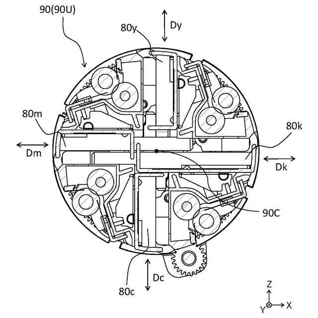
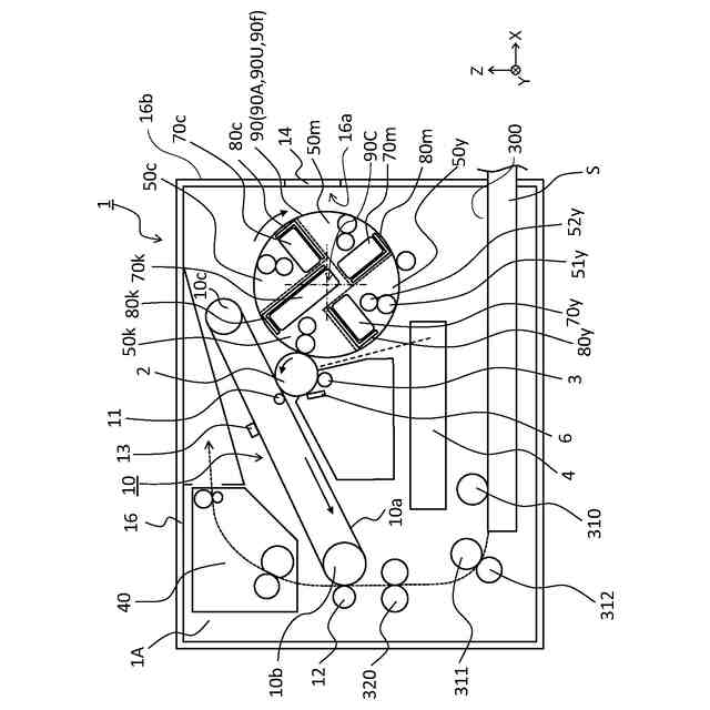
画像形成装置の概略的な断面図。
画像形成装置の概略的な駆動構成図。
現像ユニット、カートリッジ及びトレイの模式図。
画像形成装置のロータリ近傍の断面図。
ロータリ本体の斜視図。
画像形成装置の斜視図。
画像形成装置のロータリ近傍の断面図。
ロータリ本体の説明図。
ロータリ本体の説明図。
ロータリ本体の説明図。
トレイの移動構成の説明図。
トレイの移動構成の説明図。
画像形成装置の制御構成例、及びエンジン制御部の機能構成例を示すブロック図。
ロータリ本体の姿勢制御の手順の例を示すフローチャート。
交換判定処理(S102)の手順の例を示すフローチャート。
【発明を実施するための形態】
【0009】
以下、添付図面を参照して実施形態を詳しく説明する。なお、以下の実施形態は特許請求の範囲に係る発明を限定するものではない。実施形態には複数の特徴が記載されているが、これらの複数の特徴の全てが発明に必須のものとは限らず、また、複数の特徴は任意に組み合わせられてもよい。さらに、添付図面においては、同一若しくは同様の構成に同一の参照番号を付し、重複した説明は省略する。
【0010】
[第一実施形態]
図1~図12を用いて、本実施形態による画像形成装置1について説明する。以下の説明及び各図面において、画像形成装置1が水平面に設置された場合の鉛直方向をZ方向とする。Z方向と交差する方向であって、後述するロータリ本体90の回転軸線90Cの方向(ロータリの回転軸線方向)をY方向とする。Z方向及びY方向の双方と交差する方向をX方向とする。X方向及びY方向は、好ましくは水平方向である。また、X方向、Y方向、Z方向は、好ましくは互いに直交する。また、必要に応じ、各図面に図示した矢印X、Y、Zの方向をそれぞれ+X側、+Y側、+Z側と表し、その反対側をそれぞれ-X側、-Y側、-Z側と表す。
(【0011】以降は省略されています)
この特許をJ-PlatPat(特許庁公式サイト)で参照する
関連特許
個人
表示装置
1か月前
個人
雨用レンズカバー
1か月前
日本精機株式会社
プロジェクタ
3日前
キヤノン株式会社
撮像装置
1か月前
キヤノン株式会社
撮像装置
1か月前
キヤノン株式会社
撮像装置
10日前
キヤノン株式会社
撮像装置
1か月前
日本精機株式会社
車両用投射装置
2か月前
キヤノン株式会社
撮像装置
2か月前
株式会社リコー
画像形成装置
1か月前
株式会社リコー
画像形成装置
24日前
株式会社リコー
画像形成装置
1か月前
株式会社リコー
画像形成装置
1か月前
株式会社リコー
画像形成装置
2か月前
株式会社リコー
画像形成装置
1か月前
キヤノン株式会社
画像形成装置
1か月前
キヤノン株式会社
トナー
2か月前
キヤノン株式会社
トナー
1か月前
キヤノン株式会社
画像形成装置
1か月前
キヤノン株式会社
トナー
2か月前
株式会社オプトル
プロジェクタ
2か月前
キヤノン株式会社
画像形成装置
18日前
レーザーテック株式会社
光源装置
26日前
キヤノン株式会社
レンズキャップ
1か月前
アイホン株式会社
カメラシステム
2か月前
レーザーテック株式会社
光源装置
5日前
沖電気工業株式会社
画像形成装置
1か月前
沖電気工業株式会社
画像形成装置
5日前
キヤノン株式会社
現像装置
1か月前
沖電気工業株式会社
画像形成装置
1か月前
スタンレー電気株式会社
照明装置
2か月前
ブラザー工業株式会社
画像形成装置
1か月前
シャープ株式会社
捺染トナー
3日前
株式会社リコー
画像形成装置
2か月前
古野電気株式会社
装置
1か月前
株式会社電気印刷研究所
静電印刷用積層体
2か月前
続きを見る
他の特許を見る