TOP
|
特許
|
意匠
|
商標
特許ウォッチ
Twitter
他の特許を見る
10個以上の画像は省略されています。
公開番号
2025165454
公報種別
公開特許公報(A)
公開日
2025-11-05
出願番号
2024069482
出願日
2024-04-23
発明の名称
視線検出装置
出願人
キヤノン株式会社
代理人
弁理士法人秀和特許事務所
主分類
A61B
3/113 20060101AFI20251028BHJP(医学または獣医学;衛生学)
要約
【課題】大型化を防止しかつ、精度高く視線を検出可能な視線検出装置を提供する。
【解決手段】視線検出装置は、表示装置と、前記表示装置が表示する画像の第1の光を光軸に従ってユーザの眼に届ける光学系と、前記ユーザの眼に第2の光を照射する第1の発光部を有する第1の照明装置と、前記第1の発光部から前記ユーザの眼に照射される前記第2の光の照射範囲を制限する第1の開口部を有する第1の遮光部材と、前記ユーザの眼において反射した前記第2の光に基づき、前記ユーザの眼を撮像する撮像装置と、を有する。前記光軸に直交し、かつ、前記第1の発光部の位置を通る平面と前記第1の開口部の中心軸との第1の交点から前記光軸までの距離よりも、前記第1の発光部の位置から前記光軸までの距離の方が長い。
【選択図】図2
特許請求の範囲
【請求項1】
表示装置と、
前記表示装置が表示する画像の第1の光を光軸に従ってユーザの眼に届ける光学系と、
前記ユーザの眼に第2の光を照射する第1の発光部を有する第1の照明装置と、
前記第1の発光部から前記ユーザの眼に照射される前記第2の光の照射範囲を制限する第1の開口部を有する第1の遮光部材と、
前記ユーザの眼において反射した前記第2の光に基づき、前記ユーザの眼を撮像する撮像装置と、
を有し、
前記光軸に直交し、かつ、前記第1の発光部の位置を通る平面と前記第1の開口部の中心軸との第1の交点から前記光軸までの距離よりも、前記第1の発光部の位置から前記光軸までの距離の方が長い、
ことを特徴とする視線検出装置。
続きを表示(約 810 文字)
【請求項2】
前記第1の光は、可視光であり、
前記第2の光は、赤外光である、
ことを特徴とする請求項1に記載の視線検出装置。
【請求項3】
前記光軸と前記第1の発光部との距離に基づき、前記第1の発光部と前記第1の遮光部材との位置関係が設定されている、
ことを特徴とする請求項1に記載の視線検出装置。
【請求項4】
前記撮像装置と前記第1の発光部との距離に基づき、前記第1の発光部と前記第1の遮光部材との位置関係が設定されている、
ことを特徴とする請求項1に記載の視線検出装置。
【請求項5】
前記ユーザの眼に前記第2の光を照射する第2の発光部を有する第2の照明装置と、
前記第2の発光部から前記ユーザの眼に照射される前記第2の光の照射範囲を制限する第2の開口部を有する第2の遮光部材と、
をさらに有し、
前記光軸に直交し、かつ、前記第2の発光部の位置を通る平面と前記第2の開口部の中心軸との第2の交点から前記光軸までの距離よりも、前記第2の発光部の位置から前記光軸までの距離の方が長い、
ことを特徴とする請求項1から4のいずれか1項に記載の視線検出装置。
【請求項6】
前記光軸と前記第1の発光部との距離が、前記光軸と前記第2の発光部との距離が長い場合には、前記第1の発光部と前記第1の交点との距離が、前記第2の発光部と前記第2の交点との距離よりも長い、
ことを特徴とする請求項5に記載の視線検出装置。
【請求項7】
前記撮像装置と前記第1の発光部との距離が、前記撮像装置と前記第2の発光部との距離が長い場合には、前記第1の発光部と前記第1の交点との距離が、前記第2の発光部と前記第2の交点との距離よりも長い、
ことを特徴とする請求項5に記載の視線検出装置。
発明の詳細な説明
【技術分野】
【0001】
本発明は、視線検出装置に関する。
続きを表示(約 1,500 文字)
【背景技術】
【0002】
VRおよびARなどの分野において、検出されたユーザの注視点(注視している位置)を用いることによって、メニュー選択などの機能を実現するヘッドマウントディスプレイが実用化されている。また、カメラなどの分野においても、検出した視線方向に基づき測距点を選択する製品が実用化されている。
【0003】
視線検出において、ユーザの注視点を検出するために、視線センサーは、ユーザの眼球を撮影した画像を取得する。この際に、接眼光学系の周囲に配置された照明は、ユーザの眼球に光を照射する。角膜の表面において照射光が正反射するため、視線センサーが取得した画像には、角膜反射像が映っている。視線センサーは、画像における角膜反射像の座標を検出する。ここで、角膜反射像に収差が生じると、角膜反射像の輝度重心座標の検出に誤差が生じてしまうため、視線検出の精度が低下する。
【0004】
従来から、この収差を補正するための対策が検討されている。特許文献1では、収差を補正するためのプリズムを視線センサーの前に配置している例が記載されている。
【先行技術文献】
【特許文献】
【0005】
特開平8-234136号公報
【発明の概要】
【発明が解決しようとする課題】
【0006】
しかしながら、特許文献1に記載の技術では、プリズムが必要であるため、視線検出装置が大型化してしまう。
【0007】
そこで、本発明は、大型化を防止しかつ、精度高く視線を検出可能な視線検出装置を提供することを目的とする。
【課題を解決するための手段】
【0008】
本発明の1つの態様は、
表示装置と、
前記表示装置が表示する画像の第1の光を光軸に従ってユーザの眼に届ける光学系と、
前記ユーザの眼に第2の光を照射する第1の発光部を有する第1の照明装置と、
前記第1の発光部から前記ユーザの眼に照射される前記第2の光の照射範囲を制限する第1の開口部を有する第1の遮光部材と、
前記ユーザの眼において反射した前記第2の光に基づき、前記ユーザの眼を撮像する撮像装置と、
を有し、
前記光軸に直交し、かつ、前記第1の発光部の位置を通る平面と前記第1の開口部の中心軸との第1の交点から前記光軸までの距離よりも、前記第1の発光部の位置から前記光軸までの距離の方が長い、
ことを特徴とする視線検出装置である。
【発明の効果】
【0009】
本発明によれば、大型化を防止しかつ、精度高く視線を検出可能な視線検出装置を提供することができる。
【図面の簡単な説明】
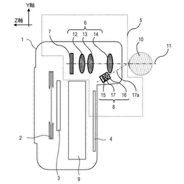
【0010】
実施形態1に係るカメラ本体の中央縦断面図である。
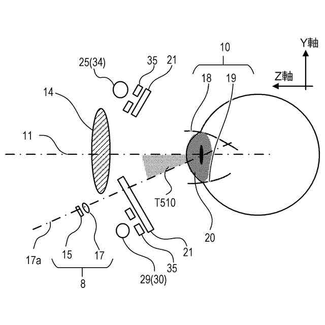
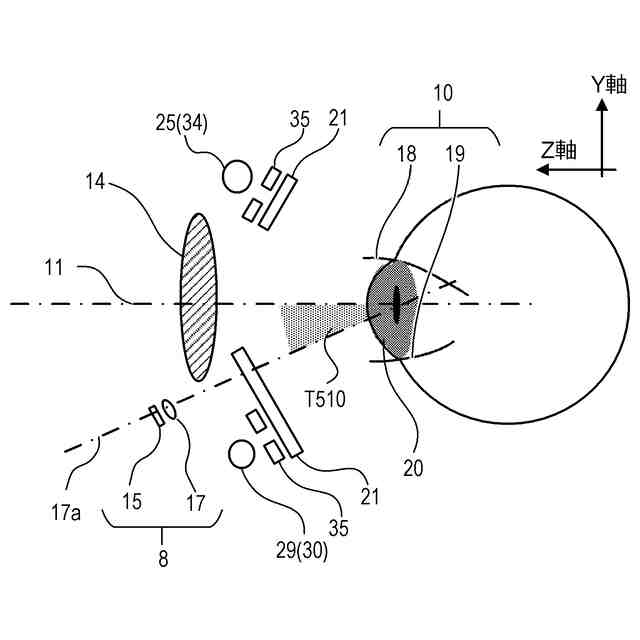
実施形態1に係る視線センサーユニットに関連する構成を表す図である。
実施形態1に係るEVFユニットを表す図である。
実施形態1の比較例の装置を表す図である。
実施形態1の比較例の装置を表す図である。
実施形態1に係るカメラ本体における構成の位置関係を表す図である。
実施形態2に係るカメラ本体における構成の位置関係を表す図である。
実施形態2に係るカメラ本体における構成の位置関係を表す図である。
実施形態3に係るカメラ本体における構成の位置関係を表す図である。
実施形態3に係るカメラ本体における構成の位置関係を表す図である。
【発明を実施するための形態】
(【0011】以降は省略されています)
この特許をJ-PlatPat(特許庁公式サイト)で参照する
関連特許
キヤノン株式会社
撮像装置
6日前
キヤノン株式会社
撮像装置
6日前
キヤノン株式会社
定着装置
12日前
キヤノン株式会社
定着装置
12日前
キヤノン株式会社
定着装置
6日前
キヤノン株式会社
撮像装置
今日
キヤノン株式会社
定着装置
6日前
キヤノン株式会社
記録装置
12日前
キヤノン株式会社
定着装置
12日前
キヤノン株式会社
露光ヘッド
12日前
キヤノン株式会社
画像形成装置
7日前
キヤノン株式会社
印刷システム
6日前
キヤノン株式会社
画像形成装置
6日前
キヤノン株式会社
画像形成装置
6日前
キヤノン株式会社
画像形成装置
7日前
キヤノン株式会社
画像形成装置
6日前
キヤノン株式会社
画像形成装置
7日前
キヤノン株式会社
情報処理装置
6日前
キヤノン株式会社
画像形成装置
7日前
キヤノン株式会社
画像形成装置
7日前
キヤノン株式会社
画像形成装置
7日前
キヤノン株式会社
眼科撮像装置
7日前
キヤノン株式会社
画像形成装置
7日前
キヤノン株式会社
画像形成装置
7日前
キヤノン株式会社
情報処理装置
6日前
キヤノン株式会社
画像形成装置
12日前
キヤノン株式会社
画像形成装置
12日前
キヤノン株式会社
画像形成装置
12日前
キヤノン株式会社
画像形成装置
12日前
キヤノン株式会社
画像形成装置
12日前
キヤノン株式会社
画像形成装置
12日前
キヤノン株式会社
画像形成装置
12日前
キヤノン株式会社
画像形成装置
12日前
キヤノン株式会社
画像形成装置
12日前
キヤノン株式会社
画像形成装置
12日前
キヤノン株式会社
画像形成装置
12日前
続きを見る
他の特許を見る