TOP
|
特許
|
意匠
|
商標
特許ウォッチ
Twitter
他の特許を見る
10個以上の画像は省略されています。
公開番号
2025169821
公報種別
公開特許公報(A)
公開日
2025-11-14
出願番号
2024074990
出願日
2024-05-02
発明の名称
画像形成装置
出願人
キヤノン株式会社
代理人
弁理士法人近島国際特許事務所
主分類
G03G
15/08 20060101AFI20251107BHJP(写真;映画;光波以外の波を使用する類似技術;電子写真;ホログラフイ)
要約
【課題】画像不良を抑制可能なトナーカートリッジ及びこれを備える画像形成装置を提供する。
【解決手段】現像ローラを有する現像ユニットに着脱可能なトナーカートリッジであって、長手方向に延びる枠体であって、トナーを収容する収容室と、収容室に連通するように枠体に設けられ、収容室から現像ユニットへ排出されるトナーが通過する第1排出口と、収容室に連通するように枠体に設けられ、長手方向において第1排出口とは異なる位置に配置され、収容室から現像ユニットへ排出されるトナーが通過する第2排出口と、を備える枠体と、収容室を第1空間及び第1空間から分離した第2空間を含む複数の空間に仕切る仕切部と、を有し、第1排出口は、第1空間に連通し、第2排出口は、第2空間に連通する。
【選択図】図10
特許請求の範囲
【請求項1】
現像ローラを有する現像ユニットに着脱可能なトナーカートリッジであって、
長手方向に延びる枠体であって、トナーを収容する収容室と、前記収容室に連通するように前記枠体に設けられ、前記収容室から前記現像ユニットへ排出されるトナーが通過する第1排出口と、前記収容室に連通するように前記枠体に設けられ、前記長手方向において前記第1排出口とは異なる位置に配置され、前記収容室から前記現像ユニットへ排出されるトナーが通過する第2排出口と、を備える枠体と、
前記収容室を第1空間及び前記第1空間から分離した第2空間を含む複数の空間に仕切る仕切部と、を有し、
前記第1排出口は、前記第1空間に連通し、
前記第2排出口は、前記第2空間に連通する、
ことを特徴とするトナーカートリッジ。
続きを表示(約 1,000 文字)
【請求項2】
前記第1空間及び前記第2空間は、前記長手方向に並んでいる、
ことを特徴とする請求項1に記載のトナーカートリッジ。
【請求項3】
前記第1排出口は、前記枠体の前記長手方向における一端部に配置され、
前記第2排出口は、前記枠体の前記長手方向における他端部に配置される、
ことを特徴とする請求項2に記載のトナーカートリッジ。
【請求項4】
前記仕切部は、前記枠体の前記長手方向における中央部に配置される、
ことを特徴とする請求項2に記載のトナーカートリッジ。
【請求項5】
前記第1空間に配置される第1ガイド部であって、前記第1空間に収容され自重によって移動するトナーを前記第1排出口に向けて案内する第1ガイド部と、
前記第2空間に配置される第2ガイド部であって、前記第2空間に収容され自重によって移動するトナーを前記第2排出口に向けて案内する第2ガイド部と、を更に有する、
ことを特徴とする請求項1に記載のトナーカートリッジ。
【請求項6】
前記第1ガイド部及び前記第2ガイド部は、前記長手方向に対して傾斜するようにそれぞれ設けられている、
ことを特徴とする請求項5に記載のトナーカートリッジ。
【請求項7】
前記仕切部は、前記第1空間に収容され自重によって移動するトナーを前記第1排出口に向けて案内する第1ガイド面と、前記第2空間に収容され自重によって移動するトナーを前記第2排出口に向けて案内する第2ガイド面と、を備える、
ことを特徴とする請求項1に記載のトナーカートリッジ。
【請求項8】
前記第1空間に収容されるトナーの量は、前記第2空間に収容されるトナーの量の80%~120%である、
ことを特徴とする請求項1に記載のトナーカートリッジ。
【請求項9】
前記第1空間の容積は、前記第2空間の容積の80%~120%である、
ことを特徴とする請求項1に記載のトナーカートリッジ。
【請求項10】
感光ドラムと、前記現像ユニットと、を備える装置本体と、
請求項1乃至9のいずれか1項に記載のトナーカートリッジと、を有する、
ことを特徴とする画像形成装置。
(【請求項11】以降は省略されています)
発明の詳細な説明
【技術分野】
【0001】
本発明は、トナーを収容するトナーカートリッジ及びこれを備える画像形成装置に関する。
続きを表示(約 3,000 文字)
【背景技術】
【0002】
電子写真方式の画像形成装置において、複数の現像部材を備えたロータリを回転させることでカラー画像を形成するロータリ現像方式が知られている。特許文献1には、複数本の現像ローラを備えたロータリと、該ロータリに対してそれぞれ着脱可能な複数のトナーカートリッジ(トナー収容容器)と、を備えた画像形成装置が記載されている。
【先行技術文献】
【特許文献】
【0003】
特開2008-096852号公報
【発明の概要】
【発明が解決しようとする課題】
【0004】
しかしながら、特許文献1に記載のトナーカートリッジに収容されたトナーは、ユーザの手元に届くまでの物流や保管時のトナーカートリッジの姿勢により、トナーカートリッジの内部で偏ってしまう場合がある。すると、トナーカートリッジに設けられた排出開口を通るトナーの量にバラツキができ、現像ユニットへのトナーの供給が不均一となることがある。これにより、現像ユニットへのトナーの供給が不足した部分で画像不良が発生してしまう虞があった。
【0005】
本発明は、画像不良を抑制可能なトナーカートリッジ及びこれを備える画像形成装置を提供することを目的とする。
【課題を解決するための手段】
【0006】
本発明は、現像ローラを有する現像ユニットに着脱可能なトナーカートリッジであって、長手方向に延びる枠体であって、トナーを収容する収容室と、前記収容室に連通するように前記枠体に設けられ、前記収容室から前記現像ユニットへ排出されるトナーが通過する第1排出口と、前記収容室に連通するように前記枠体に設けられ、前記長手方向において前記第1排出口とは異なる位置に配置され、前記収容室から前記現像ユニットへ排出されるトナーが通過する第2排出口と、を備える枠体と、前記収容室を第1空間及び前記第1空間から分離した第2空間を含む複数の空間に仕切る仕切部と、を有し、前記第1排出口は、前記第1空間に連通し、前記第2排出口は、前記第2空間に連通する、ことを特徴とする。
【0007】
また、本発明は、現像ローラを有する現像ユニットに着脱可能なトナーカートリッジであって、長手方向に延びる枠体であって、トナーを収容する収容室と、前記収容室に連通するように前記枠体に設けられ、前記長手方向に並設され、前記収容室から前記現像ユニットへ排出されるトナーが通過する複数の排出口と、を備える枠体と、前記収容室を複数の空間に仕切る仕切部と、を有し、前記複数の空間は、前記複数の排出口の内の少なくとも1つの排出口にそれぞれ連通する、ことを特徴とする。
【発明の効果】
【0008】
本発明によると、画像不良を抑制することができる。
【図面の簡単な説明】
【0009】
実施例1に係る画像形成装置の概略図。
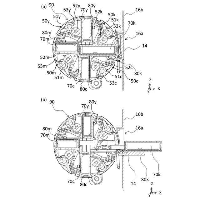
(a)は、ロータリ本体が現像姿勢を取っている状態を示す断面図、(b)はロータリ本体が離間姿勢を取っている状態を示す断面図。(c)はロータリ本体が待機姿勢を取っている状態を示す断面図、(d)はロータリ本体が交換姿勢を取っている状態を示す断面図。
(a)はトレイ及びトナーカートリッジがロータリ本体に収容された様子を示す断面図、(b)はトレイ及びトナーカートリッジがロータリ本体から引き出された様子を示す断面図。
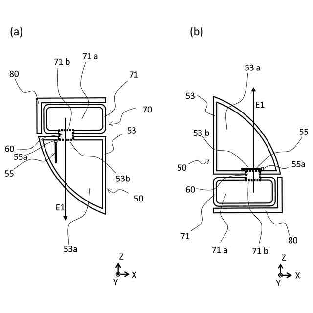
(a)は現像枠体と現像枠体に装着されたトナーカートリッジを示す模式図、(b)は連通部の連通方向を示す模式図。
(a)はトナーカートリッジのトナー補給を開始する姿勢を示す模式図、(b~d)はトナーカートリッジのトナー補給中の姿勢を示す模式図、(e)はトナーカートリッジのトナー補給を完了した姿勢を示す模式図。
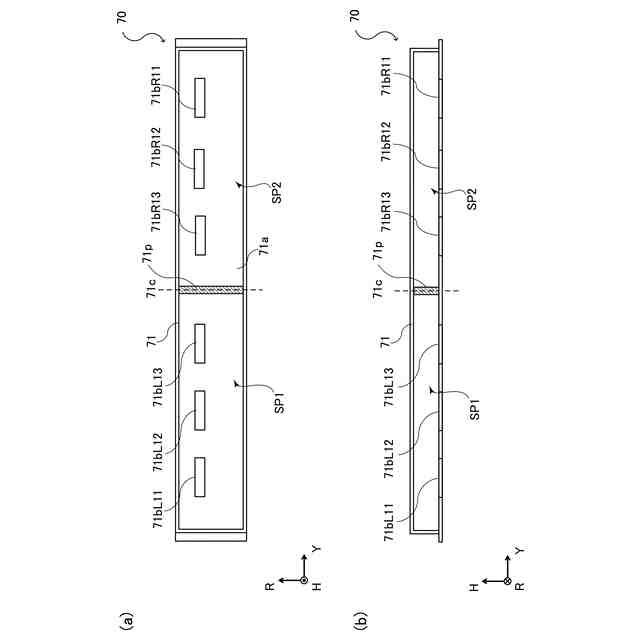
(a)はトナーカートリッジの厚み方向に直交する断面を示す断面図、(b)はトナーカートリッジの短手方向に直交する断面を示す断面図。
(a)は第2枠体を取り外した状態のトナーカートリッジを示す断面図、(b)は第2枠体を第1枠体に取り付ける様子を示す断面図。
(a)は比較例1に係るトナーカートリッジの厚み方向に直交する断面を示す断面図、(b)は、比較例1に係るトナーカートリッジの短手方向に直交する断面を示す断面図。
タッピング試験時のトナーカートリッジの姿勢を示す斜視図。
(a)は実施例1に係るタッピング試験後のトナーの様子を示す断面図、(b)はトナー消費後のトナーの様子を示す断面図。
(a)は比較例1に係るタッピング試験後のトナーの様子を示す断面図、(b)はトナー消費後のトナーの様子を示す断面図。
(a)は実施例1の変形例1に係るトナーカートリッジの内部構造を示す断面図、(b)は実施例1の変形例2に係るトナーカートリッジの内部構造を示す断面図。
(a)は実施例2に係るトナーカートリッジを示す断面図、(b)はトナーカートリッジ及びスキャナの位置関係を示す断面図。
(a)は比較例2に係るトナーカートリッジを示す断面図、(b)はトナーカートリッジ及びスキャナの位置関係を示す断面図。
(a)は実施例2に係るタッピング試験後のトナーの様子を示す断面図、(b)はトナー消費後のトナーの様子を示す断面図。
(a)は比較例2に係るタッピング試験後のトナーの様子を示す断面図、(b)はトナー消費後のトナーの様子を示す断面図。
(a)は実施例3に係るトナーカートリッジの厚み方向に直交する断面を示す断面図、(b)はトナーカートリッジの短手方向に直交する断面を示す断面図。
(a)は比較例3に係るトナーカートリッジの厚み方向に直交する断面を示す断面図、(b)はトナーカートリッジの短手方向に直交する断面を示す断面図。
(a)は第2枠体を取り外した状態のトナーカートリッジを示す断面図、(b)は第2枠体を第1枠体に取り付ける様子を示す断面図。
回転軸線の周りに回転するトナーカートリッジを示す、Y方向に見た概略図。
(a)は図20中の位置Tp3におけるトナーカートリッジのY方向に直交する断面及びH方向に直交する断面を示す概略図、(b)は図20中の位置Tp7におけるトナーカートリッジのY方向に直交する断面及びH方向に直交する断面を示す概略図。
(a)は実施例3に係るタッピング試験後のトナーの様子を示す断面図、(b)はトナー消費後のトナーの様子を示す断面図。
(a)は比較例3に係るタッピング試験後のトナーの様子を示す断面図、(b)はトナー消費後のトナーの様子を示す断面図。
(a)は実施例3の変形例に係るトナーカートリッジの厚み方向に直交する断面を示す断面図、(b)はトナーカートリッジの短手方向に直交する断面を示す断面図。
【発明を実施するための形態】
【0010】
以下、本開示に係る実施形態について、図面を参照しながら説明する。
(【0011】以降は省略されています)
この特許をJ-PlatPat(特許庁公式サイト)で参照する
関連特許
個人
表示装置
1か月前
個人
雨用レンズカバー
1か月前
株式会社シグマ
絞りユニット
1か月前
日本精機株式会社
車両用投射装置
1か月前
平和精機工業株式会社
雲台
2か月前
キヤノン株式会社
撮像装置
1か月前
キヤノン株式会社
撮像装置
23日前
キヤノン株式会社
撮像装置
2か月前
キヤノン株式会社
撮像装置
23日前
キヤノン株式会社
撮像装置
23日前
キヤノン株式会社
撮像装置
1か月前
株式会社リコー
画像形成装置
17日前
株式会社リコー
画像形成装置
17日前
株式会社リコー
画像形成装置
2か月前
株式会社リコー
画像形成装置
2日前
株式会社リコー
画像形成装置
2か月前
株式会社リコー
画像形成装置
1か月前
株式会社リコー
画像形成装置
20日前
株式会社リコー
画像形成装置
11日前
キヤノン株式会社
トナー
2か月前
キヤノン株式会社
トナー
1か月前
キヤノン株式会社
トナー
1か月前
キヤノン株式会社
画像形成装置
19日前
キヤノン株式会社
画像形成装置
1か月前
株式会社オプトル
プロジェクタ
1か月前
シャープ株式会社
画像形成装置
2か月前
株式会社オプトル
プロジェクタ
2か月前
キヤノン株式会社
画像形成装置
2か月前
キヤノン株式会社
画像形成装置
2か月前
キヤノン株式会社
画像形成装置
2か月前
キヤノン株式会社
トナー
26日前
沖電気工業株式会社
画像形成装置
1か月前
レーザーテック株式会社
光源装置
4日前
スタンレー電気株式会社
照明装置
1か月前
沖電気工業株式会社
画像形成装置
17日前
株式会社シグマ
絞り機構及びレンズ鏡筒
2か月前
続きを見る
他の特許を見る