TOP
|
特許
|
意匠
|
商標
特許ウォッチ
Twitter
他の特許を見る
10個以上の画像は省略されています。
公開番号
2025169648
公報種別
公開特許公報(A)
公開日
2025-11-14
出願番号
2024074549
出願日
2024-05-01
発明の名称
画像形成装置
出願人
キヤノン株式会社
代理人
弁理士法人近島国際特許事務所
主分類
G03G
15/08 20060101AFI20251107BHJP(写真;映画;光波以外の波を使用する類似技術;電子写真;ホログラフイ)
要約
【課題】トナーカートリッジを交換する際の操作性を向上する。
【解決手段】ロータリ本体90に取り付けられ、トナーカートリッジが取り外し可能に装着され、収容枠体に対して移動可能に支持されるトレイ80kであって、ドア14が開位置にある状態で、本体開口を通じて、トナーカートリッジが収容枠体に対して装着位置に位置される収容位置と、トナーカートリッジが退避位置に位置される取出位置と、に移動可能であるトレイ80kを備える。トナーカートリッジが収容枠体に対して装着位置にある状態で、排出開口と受入開口とが互いに対向し、ドア14が開位置に位置し、かつ、トレイ80kが取出位置に位置する際に、トレイ80kが収容枠体及び支持面172に支持され、かつ、トレイ80kが支持面172から離れる方向へ移動することが規制されるように、ドア被係合面171がトレイ80kに係合する。
【選択図】図16
特許請求の範囲
【請求項1】
トナーを収容し、排出開口を有するトナーカートリッジが取り外し可能に装着される画像形成装置であって、
現像ローラと、前記現像ローラに供給されるトナーを収容する収容部及び受入開口を備えた収容枠体と、を有する回転可能なロータリと、
前記ロータリを収容し、本体開口が設けられた本体枠体と、
支持面と規制部を有し、前記本体開口を閉鎖する閉位置と、前記本体開口を開放する開位置と、に移動可能に構成され、前記本体枠体に取り付けられた開閉部材と、
前記ロータリに取り付けられ、前記トナーカートリッジが取り外し可能に装着され、前記収容枠体に対して移動可能に支持される支持部材であって、前記開閉部材が前記開位置にある状態で、前記本体開口を通じて、前記トナーカートリッジが前記収容枠体に対して装着位置に位置される収容位置と、前記トナーカートリッジが前記収容枠体に対して前記装着位置から退避した退避位置に位置される取出位置と、に移動可能である支持部材と、を備え、
前記トナーカートリッジが前記収容枠体に対して前記装着位置にある状態で、前記排出開口と前記受入開口とが互いに対向し、
前記開閉部材が前記開位置に位置し、かつ、前記支持部材が前記取出位置に位置する際に、前記支持部材が前記収容枠体及び前記支持面に支持され、かつ、前記支持部材が前記支持面から離れる方向へ移動することが規制されるように、前記規制部が前記支持部材に係合する、
ことを特徴とする画像形成装置。
続きを表示(約 1,100 文字)
【請求項2】
前記規制部は、少なくとも一部が前記支持面に対向して設けられている、
ことを特徴とする請求項1に記載の画像形成装置。
【請求項3】
前記規制部は、前記ロータリの回転軸線方向において、前記開閉部材の両端部に設けられている、
ことを特徴とする請求項1に記載の画像形成装置。
【請求項4】
前記支持部材は、突当部を有し、
前記開閉部材は、前記支持部材が前記取出位置に位置する際に、前記支持部材が前記収容位置から前記取出位置に向かう方向へ更に移動することを、前記突当部に突き当たることで規制する被突当部を有する、
ことを特徴とする請求項1に記載の画像形成装置。
【請求項5】
前記支持部材は、前記開閉部材が前記開位置に位置し、かつ、前記支持部材が前記取出位置に位置する際に前記収容枠体に支持される第1部分と、前記装着位置から前記退避位置に向かう前記トナーカートリッジの移動方向において前記第1部分の下流に位置し、前記支持面に支持される第2部分と、を有する、
ことを特徴とする請求項1に記載の画像形成装置。
【請求項6】
前記現像ローラの回転軸線方向に見たとき、前記トナーカートリッジが前記退避位置にある状態で、前記装着位置から前記退避位置に向かう前記トナーカートリッジの移動方向において、前記トナーカートリッジの全長の半分以上が前記本体枠体の外側に位置する、
ことを特徴とする請求項1に記載の画像形成装置。
【請求項7】
前記回転軸線方向に見たとき、前記トナーカートリッジが前記退避位置にある状態で、前記トナーカートリッジの全体が前記本体枠体の外側に位置する、
ことを特徴とする請求項6に記載の画像形成装置。
【請求項8】
前記収容位置から前記取出位置に向かう前記支持部材の移動方向は、水平方向である、
ことを特徴とする請求項1に記載の画像形成装置。
【請求項9】
前記収容位置から前記取出位置に向かう前記支持部材の移動方向は、水平方向に対して傾斜した方向である、
ことを特徴とする請求項1に記載の画像形成装置。
【請求項10】
前記支持部材を前記取出位置から前記収容位置に移動させるように構成された移動装置と、
駆動源を含み、前記移動装置を駆動するように構成された駆動装置と、を備える、
ことを特徴とする請求項1に記載の画像形成装置。
(【請求項11】以降は省略されています)
発明の詳細な説明
【技術分野】
【0001】
本発明は、記録材に画像を形成する画像形成装置に関する。
続きを表示(約 2,600 文字)
【背景技術】
【0002】
電子写真方式の画像形成装置において、複数本の現像ローラを備えたロータリを回転させることでカラー画像を形成するロータリ現像方式が知られている。特許文献1、2には、複数本の現像ローラを備えたロータリと、該ロータリに対してそれぞれ着脱可能な複数のトナーカートリッジ(トナー収容容器)と、を備えた画像形成装置が記載されている。
【先行技術文献】
【特許文献】
【0003】
特開2007-183305号公報
特開2008-096852号公報
【発明の概要】
【発明が解決しようとする課題】
【0004】
従来、電子写真方式の画像形成装置において、トレイに乗った状態でプロセスカートリッジを装置本体に対して取り外し可能な構成が知られている。このようなトレイは、装置本体から引き出された状態で姿勢が不安定になりやすく、カートリッジを交換する際の操作性が悪かった。
【0005】
本発明は、トナーカートリッジを交換する際の操作性を向上可能な画像形成装置を提供することを目的とする。
【課題を解決するための手段】
【0006】
本発明の一態様は、トナーを収容し、排出開口を有するトナーカートリッジが取り外し可能に装着される画像形成装置であって、現像ローラと、前記現像ローラに供給されるトナーを収容する収容部及び受入開口を備えた収容枠体と、を有する回転可能なロータリと、前記ロータリを収容し、本体開口が設けられた本体枠体と、支持面と規制部を有し、前記本体開口を閉鎖する閉位置と、前記本体開口を開放する開位置と、に移動可能に構成され、前記本体枠体に取り付けられた開閉部材と、前記ロータリに取り付けられ、前記トナーカートリッジが取り外し可能に装着され、前記収容枠体に対して移動可能に支持される支持部材であって、前記開閉部材が前記開位置にある状態で、前記本体開口を通じて、前記トナーカートリッジが前記収容枠体に対して装着位置に位置される収容位置と、前記トナーカートリッジが前記収容枠体に対して前記装着位置から退避した退避位置に位置される取出位置と、に移動可能である支持部材と、を備え、前記トナーカートリッジが前記収容枠体に対して前記装着位置にある状態で、前記排出開口と前記受入開口とが互いに対向し、前記開閉部材が前記開位置に位置し、かつ、前記支持部材が前記取出位置に位置する際に、前記支持部材が前記収容枠体及び前記支持面に支持され、かつ、前記支持部材が前記支持面から離れる方向へ移動することが規制されるように、前記規制部が前記支持部材に係合することを特徴とする画像形成装置である。
【0007】
本発明の他の一態様は、トナーを収容し、排出開口を有するトナーカートリッジが取り外し可能に装着される画像形成装置であって、現像ローラと、前記現像ローラに供給されるトナーを収容する収容部及び受入開口を備えた収容枠体と、を有する現像装置と、前記現像装置を収容し、本体開口が設けられた本体枠体と、支持面と規制部を有し、前記本体開口を閉鎖する閉位置と、前記本体開口を開放する開位置と、に移動可能に構成され、前記本体枠体に取り付けられた開閉部材と、前記現像装置に取り付けられ、前記トナーカートリッジが取り外し可能に装着され、前記収容枠体に対して移動可能に支持される支持部材であって、前記開閉部材が前記開位置にある状態で、前記本体開口を通じて、前記トナーカートリッジが前記収容枠体に対して装着位置に位置される収容位置と、前記トナーカートリッジが前記収容枠体に対して前記装着位置から退避した退避位置に位置される取出位置と、に移動可能である支持部材と、を備え、前記トナーカートリッジが前記収容枠体に対して前記装着位置にある状態で、前記排出開口と前記受入開口とが互いに対向し、前記開閉部材が前記開位置に位置し、かつ、前記支持部材が前記取出位置に位置する際に、前記支持部材が前記収容枠体及び前記支持面に支持され、かつ、前記支持部材が前記支持面から離れる方向へ移動することが規制されるように、前記規制部が前記支持部材に係合することを特徴とする画像形成装置である。
【発明の効果】
【0008】
本発明によれば、トナーカートリッジを交換する際の操作性を向上することができる。
【図面の簡単な説明】
【0009】
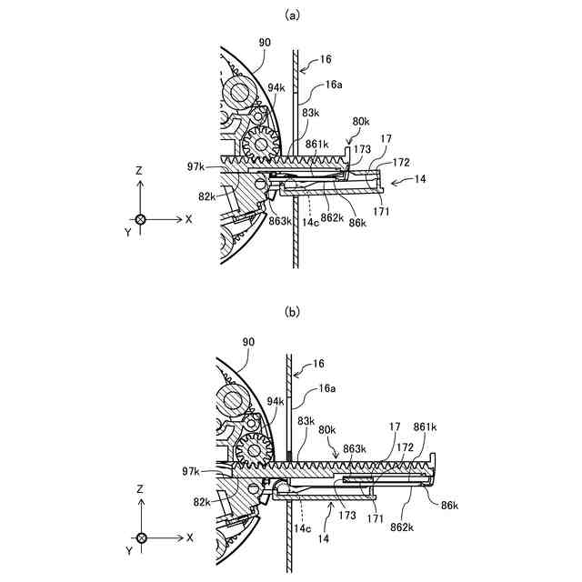
実施例1に係る画像形成装置の概略図。
実施例1に係る画像形成装置の構成図。
実施例1に係る現像ユニット、トナーカートリッジ及びトレイの模式図。
実施例1に係る画像形成装置の断面図(a、b)。
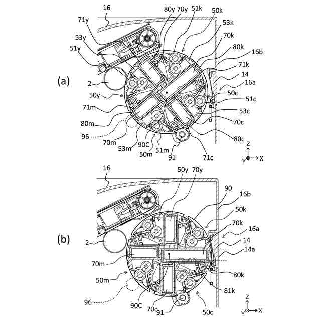
実施例1に係るロータリ本体の斜視図。
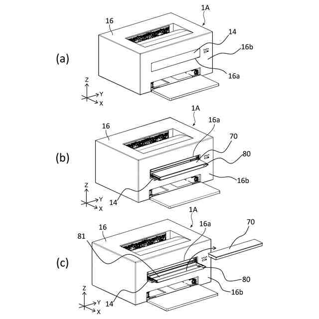
実施例1に係る画像形成装置の斜視図(a~c)。
実施例1に係る画像形成装置の断面図(a、b)。
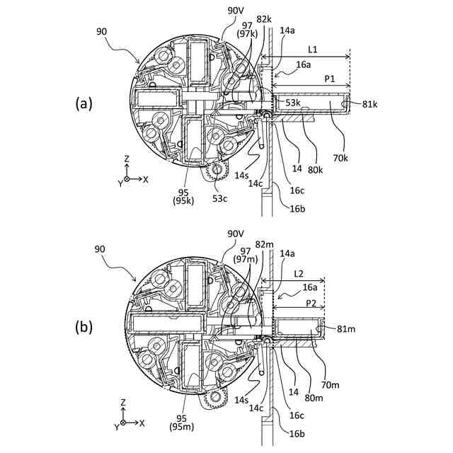
実施例1に係るロータリ本体の説明図。
実施例1に係るロータリ本体の説明図。
実施例1に係るロータリ本体の説明図。
実施例1に係るトレイの移動に関する構成の説明図(a、b)。
実施例1に係るトレイの移動に関する構成の説明図(a、b)。
実施例1に係るトレイの支持に関する構成の説明図(a~c)。
実施例1に係るトレイ係合部の斜視図(a、b)。
実施例1に係るドア被係合部の斜視図(a、b)。
実施例1に係るトレイの移動に関する構成の説明図(a、b)。
実施例1の変形例に係る画像形成装置の説明図(a、b)。
実施例1の変形例に係るトレイの移動に関する構成の説明図(a、b)。
実施例2に係る画像形成装置の構成図。
実施例2に係るトレイの移動に関する構成の説明図(a~c)。
実施例3に係るトレイの移動に関する構成の説明図。
実施例3に係るトレイの移動に関する構成の説明図(a~c)。
実施例4に係るトレイの移動に関する構成の説明図(a、b)。
実施例5に係る画像形成装置の概略図。
【発明を実施するための形態】
【0010】
以下、本開示に係る実施形態について、図面を参照しながら説明する。
(【0011】以降は省略されています)
この特許をJ-PlatPat(特許庁公式サイト)で参照する
関連特許
キヤノン株式会社
容器
22日前
キヤノン株式会社
容器
28日前
キヤノン株式会社
トナー
14日前
キヤノン株式会社
トナー
1か月前
キヤノン株式会社
トナー
1か月前
キヤノン株式会社
トナー
1か月前
キヤノン株式会社
トナー
1か月前
キヤノン株式会社
トナー
1か月前
キヤノン株式会社
現像装置
1か月前
キヤノン株式会社
記録装置
28日前
キヤノン株式会社
現像容器
1か月前
キヤノン株式会社
撮像装置
15日前
キヤノン株式会社
現像装置
1か月前
キヤノン株式会社
撮像装置
14日前
キヤノン株式会社
記録装置
7日前
キヤノン株式会社
雲台装置
14日前
キヤノン株式会社
電子機器
14日前
キヤノン株式会社
撮影装置
1か月前
キヤノン株式会社
記録装置
1か月前
キヤノン株式会社
記録装置
14日前
キヤノン株式会社
定着装置
1日前
キヤノン株式会社
記録装置
14日前
キヤノン株式会社
電子機器
14日前
キヤノン株式会社
電子機器
9日前
キヤノン株式会社
撮像装置
28日前
キヤノン株式会社
定着装置
1か月前
キヤノン株式会社
撮像装置
28日前
キヤノン株式会社
記録装置
1か月前
キヤノン株式会社
測距装置
1か月前
キヤノン株式会社
定着装置
7日前
キヤノン株式会社
定着装置
1日前
キヤノン株式会社
定着装置
7日前
キヤノン株式会社
撮像装置
22日前
キヤノン株式会社
撮像装置
1か月前
キヤノン株式会社
定着装置
7日前
キヤノン株式会社
現像装置
1か月前
続きを見る
他の特許を見る