TOP
|
特許
|
意匠
|
商標
特許ウォッチ
Twitter
他の特許を見る
10個以上の画像は省略されています。
公開番号
2025147799
公報種別
公開特許公報(A)
公開日
2025-10-07
出願番号
2024048227
出願日
2024-03-25
発明の名称
基板及びこれを備えた電子装置
出願人
富士通株式会社
代理人
個人
主分類
H05K
3/46 20060101AFI20250930BHJP(他に分類されない電気技術)
要約
【課題】効果的に電源配線における電力ロスを低減することを目的とする。
【解決手段】基板には、第1面に電子部品が実装されると共に、前記第1面と当該第1面の裏面となる第2面のいずれかに前記電子部品に電源供給する電源供給部が実装され、内部に前記電子部品と前記電源供給部とを電気的に接続する電源配線が形成されている。前記第1面と前記第2面の少なくとも一方に前記電源配線に対して並列に接続された抵抗部材が実装されている。
【選択図】図1
特許請求の範囲
【請求項1】
第1面に電子部品が実装されると共に、前記第1面と当該第1面の裏面となる第2面のいずれかに前記電子部品に電源供給する電源供給部が実装され、内部に前記電子部品と前記電源供給部とを電気的に接続する電源配線が形成された基板であって、
前記第1面と前記第2面の少なくとも一方に前記電源配線に対して並列に接続された抵抗部材が実装された、
基板。
続きを表示(約 1,200 文字)
【請求項2】
前記電源配線は、前記基板内に形成された複数の配線層を含み、
前記抵抗部材は、前記複数の配線層のうち、前記第1面に最も近い位置に形成された第1最外層に接続されるとともに、前記第1面に実装された、
請求項1に記載の基板。
【請求項3】
前記基板は、前記電子部品に接続された信号配線を備えると共に、当該信号配線の層状部分と前記第1最外層との間に設けられたグランド層を備えた、
請求項2に記載の基板。
【請求項4】
前記電源配線は、前記基板内に形成された複数の配線層を含み、
前記抵抗部材は、前記複数の配線層のうち、前記第2面に最も近い位置に形成された第2最外層に接続されるとともに、前記第2面に実装された、
請求項1に記載の基板。
【請求項5】
前記基板は、前記電子部品に接続された信号配線を備えると共に、当該信号配線の層状部分と前記第2最外層との間に設けられたグランド層を備えた、
請求項4に記載の基板。
【請求項6】
前記電子部品と前記電源供給部は前記第1面及び前記第2面に垂直となる方向から見て第1方向に沿って対向させて配置され、
前記抵抗部材は、少なくとも前記第1面又は前記第2面のいずれかに複数配置され、当該複数の抵抗部材は、前記第1方向に沿って並列させて配置された、
請求項1に記載の基板。
【請求項7】
前記電子部品と前記電源供給部は前記第1面及び前記第2面に垂直となる方向から見て第1方向に沿って対向させて配置され、
前記抵抗部材は、少なくとも前記第1面又は前記第2面のいずれかに複数配置され、当該複数の抵抗部材は、前記第1方向と直交する第2方向に沿って並列させて配置された、
請求項1に記載の基板。
【請求項8】
前記電子部品と前記電源供給部は前記第1面及び前記第2面に垂直となる方向から見て第1方向に沿って対向させて配置され、
前記抵抗部材の前記第1方向に沿う寸法は、前記電子部品と前記電源供給部との前記第1方向に沿う間隔の25%以上である、
請求項1に記載の基板。
【請求項9】
前記電子部品と前記電源供給部は前記第1面及び前記第2面に垂直となる方向から見て第1方向に沿って対向させて配置され、
前記抵抗部材の前記第1方向に直交する第2方向に沿う寸法は、前記電子部品の前記第2方向に沿う寸法の25%以上である、
請求項1に記載の基板。
【請求項10】
前記基板は、前記電子部品に接続された信号配線を備え、
前記抵抗部材は、前記基板を前記第1面及び前記第2面に垂直となる方向から見て、前記信号配線との重複を回避した位置に配置された、
請求項1に記載の基板。
(【請求項11】以降は省略されています)
発明の詳細な説明
【技術分野】
【0001】
本発明は、基板及びこれを備えた電子装置に関する。
続きを表示(約 2,500 文字)
【背景技術】
【0002】
従来、電源供給部と、この電源供給部から電源供給される電子部品である半導体集積回路(LSI:Large Scale Integration)が実装された基板が知られている(例えば、特許文献1参照)。LSIと電源供給部とは、基板内に層状に形成された電源配線によって接続されている。LSIと電源供給部とが同一の基板に実装されることで、両者を接続する電源配線の距離を短くすることができ、電力ロスを低減することができると考えられる。また、特許文献1では、グラウンドパターンの形状を工夫することで、電源パターン及びグラウンドパターンの電気抵抗を低く保つことができるとしている。
【先行技術文献】
【特許文献】
【0003】
特開2013-219182号公報
【発明の概要】
【発明が解決しようとする課題】
【0004】
ところで、電力ロスは、電源配線を厚くすることで低減される。しかしながら、基板内に層状に形成される電源配線は、その構造上、厚さを稼ぐことが難しく、この点において、電力ロスの低減効果が小さい。また、特許文献1は、電源パターン及びグラウンドパターンの電気抵抗を低く保つことができるとしているものの、グラウンドパターンの形状に制約がある。このため、基板の構造によっては、電力ロスの低減効果を得にくいことも想定される。
【0005】
1つの側面では、本明細書開示の基板及びこれを備えた電子装置は、効果的に電源配線における電力ロスを低減することを目的とする。
【課題を解決するための手段】
【0006】
1つの態様では、基板は、第1面に電子部品が実装されると共に、前記第1面と当該第1面の裏面となる第2面のいずれかに前記電子部品に電源供給する電源供給部が実装され、内部に前記電子部品と前記電源供給部とを電気的に接続する電源配線が形成された基板であって、前記第1面と前記第2面の少なくとも一方に前記電源配線に対して並列に接続された抵抗部材が実装されている。
【0007】
また、他の態様では、電子装置は、プリント基板にパッケージ基板が実装された電子装置であって、前記パッケージ基板は、第1面に電子部品が実装されると共に、前記第1面と当該第1面の裏面となる第2面のいずれかに前記電子部品に電源供給する電源供給部が実装され、内部に前記電子部品と前記電源供給部とを電気的に接続する電源配線が形成され、前記第1面と前記第2面の少なくとも一方に前記電源配線に対して並列に接続された抵抗部材が実装されている。
【発明の効果】
【0008】
本明細書開示の基板及びこれを備えた電子装置によれば、効果的に電源配線における電力ロスを低減することができる。
【図面の簡単な説明】
【0009】
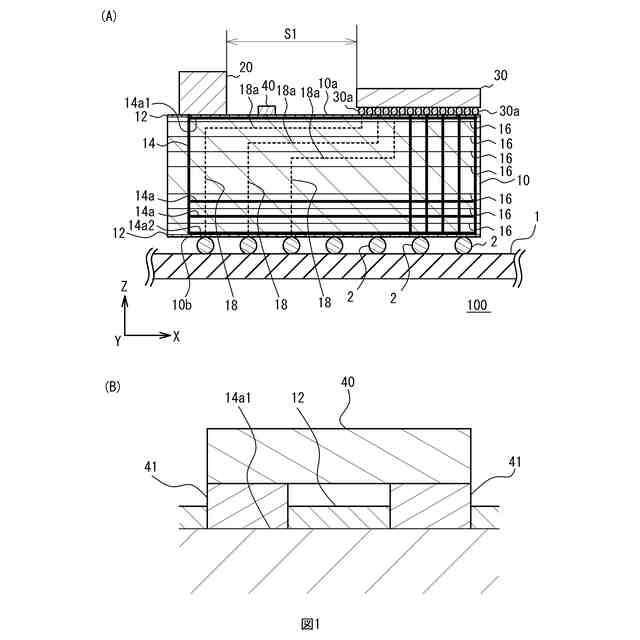
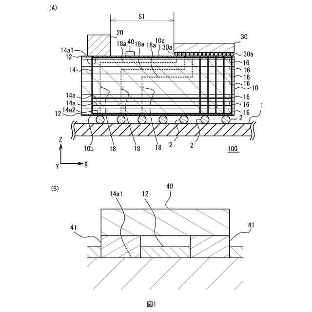
図1(A)は第1実施形態のパッケージ基板がプリント基板に実装された電子装置を模式的に示す断面図である。図1(B)は第1実施形態における抵抗部材の電源配線への装着状態を示す拡大断面図である。
図2(A)は第1実施形態のパッケージ基板に形成された電源配線を便宜的に複数の抵抗部に分割した様子を模式的に示す回路図である。図2(B)は、図2(A)に示した回路図をさらに簡略化した回路図である。
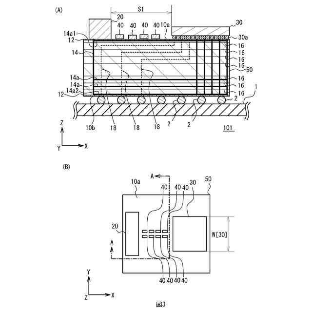
図3(A)は第2実施形態のパッケージ基板がプリント基板に実装された電子装置を模式的に示す断面図である。図3(B)は第2実施形態のパッケージ基板の平面図である。
図4は図3(B)におけるA-A線断面図である。
図5(A)は第2実施形態のパッケージ基板に形成された電源配線を便宜的に複数の抵抗部に分割した様子を模式的に示す回路図である。図5(B)は図5(A)に示した電源配線に対し抵抗部材を並列に配置した回路図である。
図6は第3実施形態のパッケージ基板を図3(B)におけるA-A線に相当する線分に沿って断面とした図である。
図7は第3実施形態のパッケージ基板に形成された電源配線に対し抵抗部材を並列に配置した回路図である。
図8は第4実施形態のパッケージ基板を図3(B)におけるA-A線に相当する線分に沿って断面とした図である。
図9は第4実施形態のパッケージ基板に形成された電源配線に対し抵抗部材を並列に配置した回路図である。
図10は第5実施形態のパッケージ基板がプリント基板に実装された電子装置を模式的に示す断面図である。
図11は第6実施形態のパッケージ基板がプリント基板に実装された電子装置を模式的に示す断面図である。
図12は第7実施形態のパッケージ基板がプリント基板に実装された電子装置を模式的に示す断面図である。
図13は第8実施形態における抵抗部材の電源配線への装着状態を示す拡大断面図である。
図14(A)は第9実施形態のパッケージ基板の平面図である。図14(B)は第9実施形態の変形例のパッケージ基板の平面図である。図14(C)は第10実施形態のパッケージ基板をプリント基板に実装した電子装置を模式的に示す断面図である。
図15(A)は実施例における各部の寸法を示す説明図である。図15(B)は実施例に用いられる抵抗部材の寸法を示す説明図である。
【発明を実施するための形態】
【0010】
以下、本発明の実施形態について、添付図面を参照しつつ説明する。ただし、図面中、各部の寸法、比率等は、実際のものと完全に一致するようには図示されていない場合がある。各図は図面間で縮尺が異なっている場合がある。また、図面によっては、説明の都合上、実際には存在する構成要素が省略されていたり、寸法が実際よりも誇張されて描かれていたりする場合がある。
(【0011】以降は省略されています)
この特許をJ-PlatPat(特許庁公式サイト)で参照する
関連特許
富士通株式会社
半導体装置
24日前
富士通株式会社
画像処理モデル
12日前
富士通株式会社
メッシュ微細化
25日前
富士通株式会社
半導体デバイス
24日前
富士通株式会社
演算器及び演算方法
25日前
富士通株式会社
ポイントクラウド分類
19日前
富士通株式会社
電子機器筐体及び電子機器
23日前
富士通株式会社
光送信器及び光トランシーバ
23日前
富士通株式会社
基板及びこれを備えた電子装置
26日前
富士通株式会社
演算処理装置及び情報処理装置
6日前
富士通株式会社
テキスト案内される画像エディタ
19日前
富士通株式会社
波長変換装置および波長変換方法
9日前
富士通株式会社
ラックマウント装置及びラック装置
9日前
富士通株式会社
メモリ管理装置及びメモリ管理方法
18日前
富士通株式会社
検出プログラム、検出方法および情報処理装置
9日前
富士通株式会社
生成プログラム、生成方法および情報処理装置
17日前
富士通株式会社
出張情報受付方法および出張情報受付プログラム
23日前
富士通株式会社
半導体装置、半導体装置の製造方法及び電子装置
4日前
富士通株式会社
キャッシュ装置およびキャッシュ装置の制御方法
24日前
富士通株式会社
プログラム、データ処理装置及びデータ処理方法
24日前
富士通株式会社
ターゲット追跡のための方法、装置及び記憶媒体
6日前
富士通株式会社
探索プログラム、探索方法、および情報処理装置
23日前
富士通株式会社
データ処理装置、データ処理方法およびプログラム
3日前
富士通株式会社
プログラム、データ処理方法およびデータ処理装置
17日前
富士通株式会社
並列コンピューティング・カテゴリー分けプロセス
19日前
富士通株式会社
チェックプログラム、チェック方法及び情報処理装置
23日前
富士通株式会社
情報出力プログラム、情報出力方法及び情報処理装置
23日前
富士通株式会社
凝縮グラフ分布(CGD)に基づいたグラフ連続学習
19日前
富士通株式会社
光ネットワーク管理装置及び光ネットワーク管理方法
24日前
富士通株式会社
情報出力プログラム、情報出力方法及び情報処理装置
10日前
富士通株式会社
情報処理プログラム、情報処理方法および情報処理装置
17日前
富士通株式会社
情報処理プログラム、情報処理方法および情報処理装置
9日前
富士通株式会社
情報処理プログラム、情報処理方法および情報処理装置
23日前
富士通株式会社
勤怠管理プログラム、勤怠管理方法および情報処理装置
23日前
富士通株式会社
勤怠管理プログラム、勤怠管理方法および情報処理装置
23日前
富士通株式会社
領域特定プログラム、領域特定装置、及び領域特定方法
6日前
続きを見る
他の特許を見る