TOP
|
特許
|
意匠
|
商標
特許ウォッチ
Twitter
他の特許を見る
10個以上の画像は省略されています。
公開番号
2025156909
公報種別
公開特許公報(A)
公開日
2025-10-15
出願番号
2024059658
出願日
2024-04-02
発明の名称
メモリ管理装置及びメモリ管理方法
出願人
富士通株式会社
代理人
弁理士法人真田特許事務所
,
個人
主分類
G06F
12/0895 20160101AFI20251007BHJP(計算;計数)
要約
【課題】ドライバなどにおける散発的なメモリアクセスのTLBヒット率が低下するのを防ぐメモリ管理装置を提供する。
【解決手段】情報処理装置1は、メモリアクセスにおいて仮想アドレスと物理アドレスとの間の変換を行うメモリ管理装置10を備える。メモリ管理装置が備える制御部103は、Translation Lookaside Buffer(TLB)101の登録の際に、変換しようとする仮想アドレスの範囲の長さを、タグ102のエントリに登録し、TLB101のエントリに空きがなくなった場合に、長さが最大のエントリをタグ102及びTLB101から追い出す。
【選択図】図4
特許請求の範囲
【請求項1】
メモリアクセスにおいて仮想アドレスと物理アドレスとの間の変換を行うメモリ管理装置であって、
Translation Lookaside Buffer(TLB)の登録の際に、前記変換しようとする前記仮想アドレスの範囲の長さを、タグのエントリに登録し、
前記TLBのエントリに空きがなくなった場合に、前記長さが最大のエントリを前記タグ及び前記TLBから追い出す、
制御部を備える、メモリ管理装置。
続きを表示(約 660 文字)
【請求項2】
前記制御部は、
前記TLBの登録の際に、前記仮想アドレスの最後の使用時刻を、前記タグのエントリに更に登録し、
前記TLBのエントリに空きがなくなり、且つ、前記長さが最大のエントリが複数ある場合に、前記長さが最大の複数のエントリのうち前記使用時刻が最も古いエントリを前記タグ及び前記TLBから追い出す、
請求項1に記載のメモリ管理装置。
【請求項3】
メモリアクセスにおいて仮想アドレスと物理アドレスとの間の変換を行うメモリ管理装置であって、
Translation Lookaside Buffer(TLB)の登録の際に、同一の仮想アドレス単位に対して発行された前記変換の要求数を、タグのエントリに登録し、
前記TLBのエントリに空きがなくなった場合に、前記要求数が最大のエントリを前記タグ及び前記TLBから追い出す、
制御部を備える、メモリ管理装置。
【請求項4】
メモリアクセスにおいて仮想アドレスと物理アドレスとの間の変換を行うメモリ管理装置を用いたメモリ管理方法であって、
Translation Lookaside Buffer(TLB)の登録の際に、前記変換しようとする前記仮想アドレスの範囲の長さを、タグのエントリに登録し、
前記TLBのエントリに空きがなくなった場合に、前記長さが最大のエントリを前記タグ及び前記TLBから追い出す、
処理を前記メモリ管理装置が実行する、メモリ管理方法。
発明の詳細な説明
【技術分野】
【0001】
本発明は、メモリ管理装置及びメモリ管理方法に関する。
続きを表示(約 1,600 文字)
【背景技術】
【0002】
一般的にOperating System(OS)上で動作する各プロセスなどは独立した仮想アドレス空間を持っており、プロセスは仮想アドレスでメインメモリにアクセスする。プロセッサなどに内蔵されているMemory Management Unit(MMU)はこれらの仮想アドレスをメインメモリ上の物理アドレスに変換し、メモリアクセスを行う。この変換を高速に行うため、MMUは仮想アドレスと物理アドレスとの対応を記した変換テーブルを内部に持つ。この変換テーブルはTranslation Lookaside Buffer(TLB)と呼ばれる。
【0003】
MMUがTLBからエントリを追い出す際の方式としては、Least Recently Used(LRU)方式が知られている。LRUはTLBを参照した時刻が一番古いエントリを追い出す方式である。
【先行技術文献】
【特許文献】
【0004】
特表2019-527900号公報
特開2005-108262号公報
【非特許文献】
【0005】
Nadav Amit他「IOMMU: Strategies for Mitigating the IOTLB Bottleneck」ISCA 2010 International Workshops: Computer Architecture pp 256-274、2010年6月19日-23日
【発明の概要】
【発明が解決しようとする課題】
【0006】
しかしながら、LRUを用いたTLBのエントリ追い出しでは、ドライバなどにおける散発的なメモリアクセスが発生した場合にTLBのヒット率が低下するおそれがある。
【0007】
1つの側面では、ドライバなどにおける散発的なメモリアクセスのTLBヒット率が低下するのを防ぐことを目的とする。
【課題を解決するための手段】
【0008】
1つの側面では、メモリ管理装置は、メモリアクセスにおいて仮想アドレスと物理アドレスとの間の変換を行うメモリ管理装置であって、Translation Lookaside Buffer(TLB)の登録の際に、前記変換しようとする前記仮想アドレスの範囲の長さを、タグのエントリに登録し、前記TLBのエントリに空きがなくなった場合に、前記長さが最大のエントリを前記タグ及び前記TLBから追い出す、制御部を備える。
【発明の効果】
【0009】
1つの側面では、ドライバなどにおける散発的なメモリアクセスのTLBヒット率が低下するのを防ぐことができる。
【図面の簡単な説明】
【0010】
関連例における仮想アドレス空間と物理アドレス空間との対応を説明する図である。
関連例におけるTLBの構成及びアドレス変換処理を説明する図である。
関連例におけるTLBのエントリ追い出し処理を説明する図である。
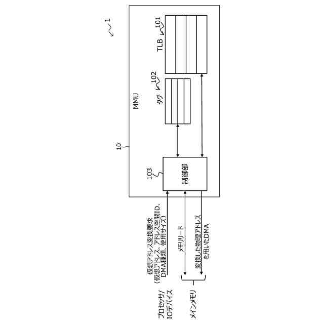
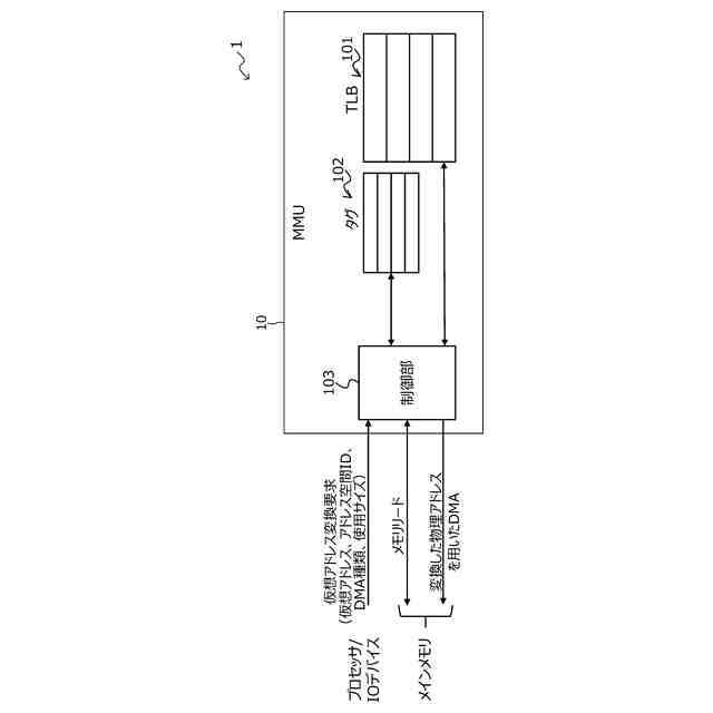
実施形態におけるMMUのソフトウェア構成例を模式的に説明するブロック図である。
図4に示したタグの構成を例示する図である。
実施形態におけるTLBのエントリ追い出し処理を説明する図である。
実施形態におけるメモリ管理処理を説明するフローチャートである。
第1変形例におけるタグの構成を例示する図である。
第1変形例におけるメモリ管理処理を説明するフローチャートである。
第2変形例におけるタグの構成を例示する図である。
第2変形例におけるメモリ管理処理を説明するフローチャートである。
実施形態における情報処理装置のハードウェア構成例を模式的に示すブロック図である。
【発明を実施するための形態】
(【0011】以降は省略されています)
この特許をJ-PlatPat(特許庁公式サイト)で参照する
関連特許
富士通株式会社
半導体装置
8日前
富士通株式会社
周波数変換器
21日前
富士通株式会社
行列演算回路
18日前
富士通株式会社
メッシュ微細化
9日前
富士通株式会社
半導体デバイス
8日前
富士通株式会社
演算器及び演算方法
9日前
富士通株式会社
ポイントクラウド分類
3日前
富士通株式会社
冷却装置及び電子機器
18日前
富士通株式会社
アレイアンテナモジュール
10日前
富士通株式会社
電子機器筐体及び電子機器
7日前
富士通株式会社
光送信器及び光トランシーバ
7日前
富士通株式会社
基板及びこれを備えた電子装置
10日前
富士通株式会社
演算処理装置及び演算処理方法
29日前
富士通株式会社
通信制御装置及び移動中継装置
15日前
富士通株式会社
テキスト案内される画像エディタ
3日前
富士通株式会社
メモリ管理装置及びメモリ管理方法
2日前
富士通株式会社
動的多次元メディアコンテンツ投影
28日前
富士通株式会社
異常予測方法および異常予測プログラム
28日前
富士通株式会社
管理装置、管理方法、および管理プログラム
16日前
富士通株式会社
プログラム、情報処理方法および情報処理装置
14日前
富士通株式会社
交通シミュレーションのための方法および装置
28日前
富士通株式会社
生成プログラム、生成方法および情報処理装置
1日前
富士通株式会社
出張情報受付方法および出張情報受付プログラム
7日前
富士通株式会社
キャッシュ装置およびキャッシュ装置の制御方法
8日前
富士通株式会社
プログラム、データ処理装置及びデータ処理方法
8日前
富士通株式会社
制御プログラム、制御方法、および情報処理装置
16日前
富士通株式会社
演算装置、情報処理装置及び演算装置の制御方法
1か月前
富士通株式会社
探索プログラム、探索方法、および情報処理装置
7日前
富士通株式会社
並列コンピューティング・カテゴリー分けプロセス
3日前
富士通株式会社
プログラム、データ処理方法およびデータ処理装置
1日前
富士通株式会社
光ネットワーク管理装置及び光ネットワーク管理方法
8日前
富士通株式会社
異常検出プログラム、異常検出方法及び情報処理装置
28日前
富士通株式会社
凝縮グラフ分布(CGD)に基づいたグラフ連続学習
3日前
富士通株式会社
情報出力プログラム、情報出力方法及び情報処理装置
7日前
富士通株式会社
チェックプログラム、チェック方法及び情報処理装置
7日前
富士通株式会社
勤怠管理プログラム、勤怠管理方法および情報処理装置
7日前
続きを見る
他の特許を見る