TOP
|
特許
|
意匠
|
商標
特許ウォッチ
Twitter
他の特許を見る
10個以上の画像は省略されています。
公開番号
2025141653
公報種別
公開特許公報(A)
公開日
2025-09-29
出願番号
2024041678
出願日
2024-03-15
発明の名称
冷却装置及び電子機器
出願人
富士通株式会社
代理人
個人
主分類
H01L
23/473 20060101AFI20250919BHJP(基本的電気素子)
要約
【課題】冷却性能を向上させることが可能な冷却装置及び電子機器を提供する。
【解決手段】冷却装置100は、冷媒が流れる複数の流路14を有し、複数の流路14の一端17はY軸方向における一対の側壁のうち一方の側壁15側に位置し、他端18は他方の側壁16側に位置し、冷媒により発熱部品を冷却するコールドプレート10と、コールドプレート10上に設けられ、複数の流路14から排出される冷媒を冷却するラジエータ30と、Y軸方向においてラジエータ30を挟んで設けられた第1マニホールド40及び第2マニホールド50と、を備え、第1マニホールド40は冷媒を複数の流路14の一端17に流入させ且つラジエータ30を通過した冷媒が流入し、第2マニホールド50は複数の流路14の他端18から排出される冷媒をラジエータ30に流入させる。
【選択図】図2
特許請求の範囲
【請求項1】
冷媒が流れる複数の流路を有し、前記複数の流路の一端は第1方向における一対の側壁のうち一方の側壁側に位置し、他端は他方の側壁側に位置し、前記冷媒により発熱部品を冷却するコールドプレートと、
前記コールドプレート上に設けられ、前記複数の流路から排出される前記冷媒を冷却するラジエータと、
前記第1方向において前記ラジエータを挟んで設けられた第1マニホールド及び第2マニホールドと、を備え、
前記第1マニホールドは前記冷媒を前記複数の流路の前記一端に流入させ且つ前記ラジエータを通過した前記冷媒が流入し、
前記第2マニホールドは前記複数の流路の前記他端から排出される前記冷媒を前記ラジエータに流入させる、冷却装置。
続きを表示(約 1,000 文字)
【請求項2】
複数の前記ラジエータが前記コールドプレート上で前記第1方向に交差する第2方向に並んで設けられ、
前記冷媒は前記複数のラジエータを流れる、請求項1に記載の冷却装置。
【請求項3】
前記冷媒は、前記第1マニホールドと前記第2マニホールドを介して、前記第2方向に並んだ前記複数のラジエータを交互に流れる、請求項2に記載の冷却装置。
【請求項4】
前記冷媒は、前記第1マニホールドと前記第2マニホールドを介して、前記複数のラジエータのうち少なくとも1つのラジエータ内を前記第1方向における第1の向きと前記第1の向きに反対の第2の向きとに交互に流れる、請求項2に記載の冷却装置。
【請求項5】
前記コールドプレートは、前記複数の流路のうち少なくとも1つの流路の底面に前記コールドプレートを貫通する貫通孔を有し、
前記貫通孔に対して深さ方向に移動可能となって前記貫通孔に挿入された挿入部材と、
前記挿入部材上に設けられ、前記挿入部材を前記貫通孔に向かって押圧する押圧部材と、を備える請求項1または2に記載の冷却装置。
【請求項6】
前記挿入部材は、前記少なくとも1つの流路内に突出したフィンを備える、請求項5に記載の冷却装置。
【請求項7】
前記ラジエータから排出される前記冷媒を吸入して前記第1マニホールドに吐出するポンプを備え、
前記ポンプは前記冷媒の吸入と吐出の向きの切り替えが可能である、請求項1または2に記載の冷却装置。
【請求項8】
前記コールドプレートとで前記ラジエータを挟むように前記第1マニホールド及び前記第2マニホールド上に設けられた板状のカバー部材を備える、請求項1または2に記載の冷却装置。
【請求項9】
前記コールドプレートは、前記複数の流路のうち2つ流路の間に前記冷媒が流れないスリットを有する、請求項1または2に記載の冷却装置。
【請求項10】
前記第1マニホールドは、前記複数の流路の一端に供給される前の前記冷媒が流れる第1空間と、前記複数の流路を流れた後の前記冷媒が流れる第2空間と、前記第1空間と前記第2空間との間に設けられた断熱部と、を備える、請求項1または2に記載の冷却装置。
(【請求項11】以降は省略されています)
発明の詳細な説明
【技術分野】
【0001】
本発明は、冷却装置及び電子機器に関する。
続きを表示(約 2,200 文字)
【背景技術】
【0002】
電子部品は発熱による温度上昇によって特性の劣化や寿命の低下等が生じる。そこで、電子部品を冷却する様々な冷却装置が知られている(例えば特許文献1~4)。
【先行技術文献】
【特許文献】
【0003】
特開平8-227954号公報
特開平8-279578号公報
特開平10-335551号公報
米国特許出願公開第2016/0201993号明細書
【発明の概要】
【発明が解決しようとする課題】
【0004】
冷媒が流れることで電子部品を冷却するコールドプレートと、コールドプレートを流れた冷媒を空気と熱交換して冷却するラジエータと、コールドプレートとラジエータとの間を接続する配管と、を備える冷却装置がある。この冷却装置では、コールドプレート上に設けられる配管によってラジエータを通る風の流れが阻害されるようになり、冷却性能が十分ではないということがある。
【0005】
1つの側面では、冷却性能を向上させることを目的とする。
【課題を解決するための手段】
【0006】
1つの態様では、冷媒が流れる複数の流路を有し、前記複数の流路の一端は第1方向における一対の側壁のうち一方の側壁側に位置し、他端は他方の側壁側に位置し、前記冷媒により発熱部品を冷却するコールドプレートと、前記コールドプレート上に設けられ、前記複数の流路から排出される前記冷媒を冷却するラジエータと、前記第1方向において前記ラジエータを挟んで設けられた第1マニホールド及び第2マニホールドと、を備え、前記第1マニホールドは前記冷媒を前記複数の流路の前記一端に流入させ且つ前記ラジエータを通過した前記冷媒が流入し、前記第2マニホールドは前記複数の流路の前記他端から排出される前記冷媒を前記ラジエータに流入させる、冷却装置である。
【0007】
1つの態様では、電子部品と、前記電子部品を冷却する冷却装置と、を備え、前記冷却装置は、冷媒が流れる複数の流路を有し、前記複数の流路の一端は第1方向における一対の側壁のうち一方の側壁側に位置し、他端は他方の側壁側に位置し、前記冷媒により前記電子部品を冷却するコールドプレートと、前記コールドプレート上に設けられ、前記複数の流路から排出される前記冷媒を冷却するラジエータと、前記第1方向において前記ラジエータを挟んで設けられた第1マニホールド及び第2マニホールドと、を備え、前記第1マニホールドは前記冷媒を前記複数の流路の前記一端に流入させ且つ前記ラジエータを通過した前記冷媒が流入し、前記第2マニホールドは前記複数の流路の前記他端から排出される前記冷媒を前記ラジエータに流入させる、電子機器である。
【発明の効果】
【0008】
1つの側面として、冷却性能を向上させることができる。
【図面の簡単な説明】
【0009】
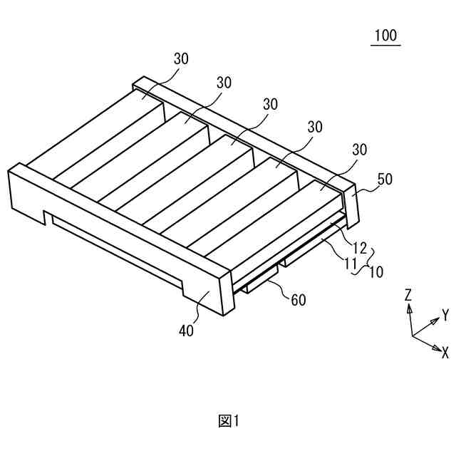
図1は、実施例1に係る冷却装置の斜視図である。
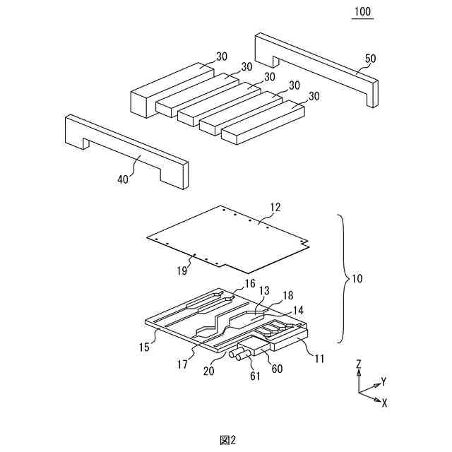
図2は、実施例1に係る冷却装置の分解斜視図である。
図3(a)及び図3(b)は、実施例1に係る冷却装置の冷媒の流れを示す斜視図である。
図4は、実施例1に係る冷却装置の冷媒の流れを示す斜視図である。
図5(a)は、比較例1に係る冷却装置を備えた電子機器の平面図、図5(b)は、比較例1に係る冷却装置が搭載された基板の平面図、図5(c)は、図5(a)のA-A断面図である。
図6(a)は、比較例2に係る冷却装置を備えた電子機器の平面図、図6(b)は、比較例2に係る冷却装置が搭載された基板の平面図、図6(c)は、図6(a)のA-A断面図である。
図7(a)は、実施例1に係る冷却装置を備える電子機器の平面図、図7(b)は、図7(a)のA-A断面図である。
図8(a)及び図8(b)は、実施例1に係る冷却装置が搭載された基板の平面図である。
図9(a)及び図9(b)は、実施例1の変形例1に係る冷却装置の冷媒の流れを示す斜視図である。
図10(a)及び図10(b)は、実施例1の変形例2に係る冷却装置の冷媒の流れを示す斜視図である。
図11(a)及び図11(b)は、シミュレーションに用いたモデル1及びモデル2の斜視図である。
図12(a)は、実施例2に係る冷却装置のコールドプレートの斜視図、図12(b)は、図12(a)のA-A断面図である。
図13は、実施例2における挿入部材、押圧部材、及び弾性部材の分解斜視図である。
図14(a)は、比較例2に係る冷却装置で生じる課題を示す断面図、図14(b)は、実施例2に係る冷却装置の効果を示す断面図である。
図15(a)は、実施例3に係る冷却装置の斜視図、図15(b)は、図15(a)のA方向から見た側面図である。
図16(a)は、実施例4に係る冷却装置が搭載された基板の平面図、図16(b)は、図16(a)のA-A断面図である。
図17は、実施例5に係る冷却装置の斜視図である。
【発明を実施するための形態】
【0010】
以下、図面を参照し、本発明の実施例について説明する。
【実施例】
(【0011】以降は省略されています)
この特許をJ-PlatPat(特許庁公式サイト)で参照する
関連特許
富士通株式会社
半導体装置
2か月前
富士通株式会社
半導体デバイス
2か月前
富士通株式会社
画像処理モデル
1か月前
富士通株式会社
ダウンサンプリング
14日前
富士通株式会社
ポイントクラウド分類
1か月前
富士通株式会社
光受信装置及び光受信方法
14日前
富士通株式会社
電子機器筐体及び電子機器
2か月前
富士通株式会社
OLT及びPONシステム
1か月前
富士通株式会社
光送信器及び光トランシーバ
2か月前
富士通株式会社
演算処理装置及び情報処理装置
1か月前
富士通株式会社
情報処理装置及び情報処理方法
20日前
富士通株式会社
プログラム及びデータ処理装置
28日前
富士通株式会社
情報処理装置および情報処理方法
14日前
富士通株式会社
テキスト案内される画像エディタ
1か月前
富士通株式会社
波長変換装置および波長変換方法
1か月前
富士通株式会社
ラックマウント装置及びラック装置
1か月前
富士通株式会社
メモリ管理装置及びメモリ管理方法
1か月前
富士通株式会社
書き込みアシスト回路及びSRAM
12日前
富士通株式会社
画像生成プログラム、方法、及び装置
5日前
富士通株式会社
不正検知プログラム、方法、及び装置
20日前
富士通株式会社
受光デバイス及び受光デバイスの製造方法
1か月前
富士通株式会社
推定システム、情報処理装置及び推定方法
7日前
富士通株式会社
データ処理方法及び装置、並びに記憶媒体
7日前
富士通株式会社
通知プログラム、通知方法および通知装置
1か月前
富士通株式会社
制御装置,制御方法及び分散処理システム
1日前
富士通株式会社
測定装置、測定方法、および測定プログラム
5日前
富士通株式会社
コンパイルプログラムおよびコンパイル方法
28日前
富士通株式会社
生成プログラム、生成方法および情報処理装置
1か月前
富士通株式会社
検出プログラム、検出方法および情報処理装置
1か月前
富士通株式会社
探索プログラム、探索方法、および情報処理装置
2か月前
富士通株式会社
半導体装置、半導体装置の製造方法及び電子装置
26日前
富士通株式会社
キャッシュ装置およびキャッシュ装置の制御方法
2か月前
富士通株式会社
プログラム、データ処理装置及びデータ処理方法
2か月前
富士通株式会社
学習プログラム、学習方法、および情報処理装置
5日前
富士通株式会社
学習プログラム、学習方法、および情報処理装置
6日前
富士通株式会社
生成プログラム、生成方法、および情報処理装置
12日前
続きを見る
他の特許を見る