TOP
|
特許
|
意匠
|
商標
特許ウォッチ
Twitter
他の特許を見る
10個以上の画像は省略されています。
公開番号
2025166680
公報種別
公開特許公報(A)
公開日
2025-11-06
出願番号
2024070866
出願日
2024-04-24
発明の名称
OLT及びPONシステム
出願人
富士通株式会社
代理人
弁理士法人酒井国際特許事務所
主分類
H04L
12/44 20060101AFI20251029BHJP(電気通信技術)
要約
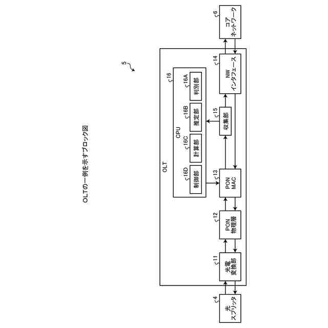
【課題】低遅延保証を実現するOLT等を提供する。
【解決手段】光スプリッタを用いたPONに使われるOLTは、収集部と、処理部とを有する。収集部は、ONUからのパケットが到着する時刻情報と、前記パケットのデータ量情報とを収集する。処理部は、前記ONUに割り当てた送信タイミング情報、前記時刻情報及び前記データ量情報に基づき、前記ONUの送信タイミングを決定する。
【選択図】図2
特許請求の範囲
【請求項1】
光スプリッタを用いたPON(Passive Optical Network)に使われるOLT(Optical Line Terminal)であって、
ONU(Optical Network Unit)からのパケットが到着する時刻情報と、前記パケットのデータ量情報とを収集する収集部と、
前記ONUに割り当てた送信タイミング情報、前記時刻情報及び前記データ量情報に基づき、前記ONUの送信タイミングを決定する処理部と、
を有することを特徴とするOLT。
続きを表示(約 1,600 文字)
【請求項2】
前記処理部は、
前記送信タイミング情報及び前記時刻情報から、前記ONUに割り当てた一つのタイミングの中の割り当て開始時間に送信されているパケットがあるのか否かを判別する判別部を有することを特徴とする請求項1に記載のOLT。
【請求項3】
前記処理部は、
さらに、前記判別部によって得られた判別結果と、前記時刻情報と、前記データ量情報とに基づき、前記ONUの送信割り当て周期を推定する推定部を有することを特徴とする請求項2に記載のOLT。
【請求項4】
前記処理部は、
前記判別部において、前記ONUに割り当てた一つの送信タイミングの中の割り当て開始時間に送信されているパケットがあると判断されたパケットが前記OLTに到着した時刻の情報から、前記ONUの送信割り当て位相を算出する計算部を有することを特徴とする請求項3に記載のOLT。
【請求項5】
端末装置と接続する前記ONUに割り当てた割当タイミング内に到着する前記ONUからの到着パケットの前記時刻情報及び前記データ量情報を含むパケット情報を収集する前記収集部を有し、
前記処理部は、
収集結果に基づき、前記到着パケットが前記割当タイミングの開始直後に到着する先頭パケット又は、前記割当タイミングの開始直後を除く、前記割当タイミング中に到着する途中パケットであるかを判別する判別部と、
判別結果に基づき、1回目の途中パケットの先頭時刻と、2回目の途中パケットの先頭時刻と、前記1回目の途中パケットと前記2回目の途中パケットとの間の先頭パケットのデータ量と、前記途中パケットのデータ量と、に基づき、前記端末装置の前記パケットの出力周期を推定する推定部と、
推定された前記出力周期に基づき、前記ONUに割り当てる割当タイミングを算出する計算部と、
を有することを特徴とする請求項1に記載のOLT。
【請求項6】
前記計算部は、
前記出力周期に基づき、前記1回目の途中パケットと、前記2回目の途中パケットとの間の先頭パケットが全て途中パケットとなる前記割当タイミングを算出することを特徴とする請求項5に記載のOLT。
【請求項7】
前記収集部は、
複数のОNUの内、任意のОNUからの低遅延要求を検出した場合に、当該低遅延を要求する前記ОNUに割り当てた割当タイミング内に到着する到着パケットの収集動作を開始することを特徴とする請求項5に記載のOLT。
【請求項8】
前記推定部は、
前記1回目の途中パケットの第1の先頭時刻と、前記2回目の途中パケットの第2の先頭時刻と、前記1回目の途中パケットと前記2回目の途中パケットとの間の先頭パケットのデータ量と、前記1回目の途中パケットのデータ量とを、{(第2の先頭時刻-第1の先頭時刻)/((先頭パケットのデータ量/1回目の途中パケットのデータ量)に近似する整数値)+1}の数式に代入することで、前記端末装置の前記パケットの出力周期を推定することを特徴とする請求項5に記載のOLT。
【請求項9】
前記推定部は、
前記1回目の途中パケットのデータ量と前記2回目の途中パケットのデータ量とが近似する場合に、前記出力周期の推定動作を開始することを特徴とする請求項8に記載のOLT。
【請求項10】
前記計算部にて算出した前記割当タイミングを前記ONUに割り当てた後、前記割当タイミング毎の到着パケットが前記途中パケットとして所定回数連続して判別した場合に、前記割当タイミングの成功と判断する制御部を有することを特徴とする請求項5に記載のOLT。
(【請求項11】以降は省略されています)
発明の詳細な説明
【技術分野】
【0001】
本発明は、OLT及びPONシステムに関する。
続きを表示(約 1,700 文字)
【背景技術】
【0002】
5Gの主要要件として、例えば、大容量、低遅延、多接続という概念が新たに誕生したが、これらはB5G(Beyond 5G)や6Gにおいても重要性が増している。特に”低遅延”は、従来あまり考えてこられなかった概念であり、既存ネットワークにおいても、データの低遅延を保証できない場合が多々ある。
【0003】
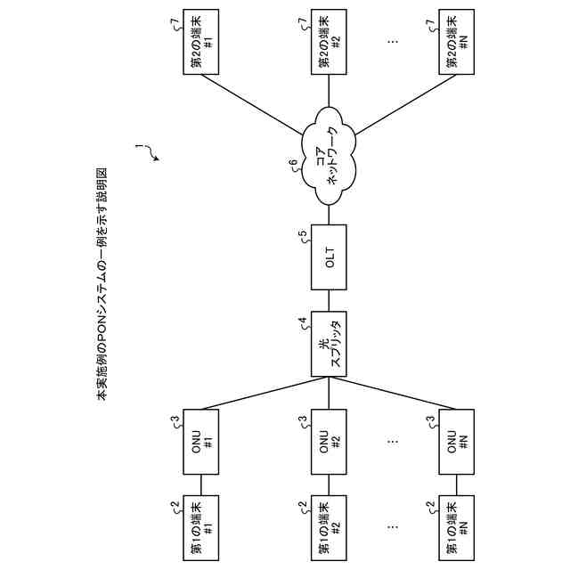
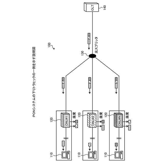
データの低遅延を保証できないネットワークとして、例えば、PON(Passive Optical Network)がある。そこで、TDM(Time Division Multplexing)-PONの仕組みについて説明する。図9Aは、PONシステム100の下りトラヒックの一例を示す説明図、図9Bは、PONシステム100の上りトラヒックの一例を示す説明図である。
【0004】
PONシステム100は、複数の加入者端末110と、複数のONU(Optical Network Unit)120と、光スプリッタ130と、OLT(Optical Line Terminal)140とを有する。
【0005】
ONU120は、収容する加入者端末110と接続する加入者側の光終端装置である。ONU120は、収容する加入者端末110からのパケットを光変換し、光変換後のパケットを光スプリッタ130に出力する。また、ONU120は、光スプリッタ130からのパケットを電気変換し、電気変換後のパケットのヘッダを参照し、自分宛以外のパケットを廃棄し、自分宛の到着パケットを受信する。
【0006】
光スプリッタ130は、各ONU120からの各パケットを合波し、合波後のパケットをOLT140に出力する。また、光スプリッタ130は、OLT140からのパケットをコピーし、コピーしたパケットを各ONU120に分岐出力する。
【0007】
OLT140は、図示せぬコアネットワークと接続する、通信事業者の局側の光終端装置である。OLT140は、光スプリッタ130からのパケットをコアネットワークに出力すると共に、コアネットワークからのパケットを光スプリッタ130に出力する。
【0008】
OLT140からONU120への下りトラヒックでは、図9Aに示すように、光スプリッタ130がOLT140からのパケットをコピーし、コピーしたパケットを全てのONU120に出力する。そして、各ONU120は、フィルタリング機能を有し、パケットのヘッダを参照し、自分宛以外の到着パケットは全て廃棄し、自分宛の到着パケットを受信することになる。
【0009】
ONU120からOLT140への上りトラヒックでは、図9Bに示すように、各ONU120が時分割にパケットを出力することになる。すなわち、各ONU120は、自分に割り当てられた帯域でパケットを出力できるため、ONU120間でのパケット衝突を回避できる。
【0010】
また、TDM-PONでは、各ONU120に対し、予め固定的に帯域を割り当てるFBA(Fixed Bandwidth Allocation)方式が採用されている。図10は、FBA方式による各ONU120の割当帯域の一例を示す説明図である。ONU120は、例えば、#1~#4までの4台のONU120を有するものとする。そして、OLT140は、#1のONU120に第1の帯域、#2のONU120に第2の帯域、#3のONU120に第3の帯域、#4のONU120に第4の帯域を割り当てるものとする。そして、第1の時間帯では、例えば、#1、#2及び#3のONU120が出力パケットを有し、第2の時間帯では、#1及び#2のONU120が出力パケットを有し、#1、#2、#3及び#4のONU120が出力パケットを有する場合を想定する。つまり、第1の時間帯では、#4のONU120の出力パケットが無く、第2の時間帯では、#3及び#4のONU120の出力パケットが無い場合を想定したとする。
(【0011】以降は省略されています)
この特許をJ-PlatPat(特許庁公式サイト)で参照する
関連特許
富士通株式会社
半導体装置
1か月前
富士通株式会社
周波数変換器
2か月前
富士通株式会社
行列演算回路
2か月前
富士通株式会社
半導体デバイス
1か月前
富士通株式会社
画像処理モデル
1か月前
富士通株式会社
メッシュ微細化
1か月前
富士通株式会社
ダウンサンプリング
3日前
富士通株式会社
演算器及び演算方法
1か月前
富士通株式会社
ポイントクラウド分類
1か月前
富士通株式会社
冷却装置及び電子機器
2か月前
富士通株式会社
OLT及びPONシステム
23日前
富士通株式会社
アレイアンテナモジュール
1か月前
富士通株式会社
電子機器筐体及び電子機器
1か月前
富士通株式会社
光受信装置及び光受信方法
3日前
富士通株式会社
光送信器及び光トランシーバ
1か月前
富士通株式会社
プログラム及びデータ処理装置
17日前
富士通株式会社
情報処理装置及び情報処理方法
9日前
富士通株式会社
演算処理装置及び情報処理装置
1か月前
富士通株式会社
通信制御装置及び移動中継装置
1か月前
富士通株式会社
基板及びこれを備えた電子装置
1か月前
富士通株式会社
波長変換装置および波長変換方法
1か月前
富士通株式会社
情報処理装置および情報処理方法
3日前
富士通株式会社
テキスト案内される画像エディタ
1か月前
富士通株式会社
ラックマウント装置及びラック装置
1か月前
富士通株式会社
メモリ管理装置及びメモリ管理方法
1か月前
富士通株式会社
動的多次元メディアコンテンツ投影
2か月前
富士通株式会社
書き込みアシスト回路及びSRAM
1日前
富士通株式会社
不正検知プログラム、方法、及び装置
9日前
富士通株式会社
受光デバイス及び受光デバイスの製造方法
22日前
富士通株式会社
通知プログラム、通知方法および通知装置
22日前
富士通株式会社
コンパイルプログラムおよびコンパイル方法
17日前
富士通株式会社
管理装置、管理方法、および管理プログラム
1か月前
富士通株式会社
生成プログラム、生成方法および情報処理装置
1か月前
富士通株式会社
プログラム、情報処理方法および情報処理装置
1か月前
富士通株式会社
検出プログラム、検出方法および情報処理装置
1か月前
富士通株式会社
制御プログラム、制御方法、および情報処理装置
1か月前
続きを見る
他の特許を見る