TOP
|
特許
|
意匠
|
商標
特許ウォッチ
Twitter
他の特許を見る
公開番号
2025167846
公報種別
公開特許公報(A)
公開日
2025-11-07
出願番号
2024072804
出願日
2024-04-26
発明の名称
通知プログラム、通知方法および通知装置
出願人
富士通株式会社
代理人
弁理士法人酒井国際特許事務所
主分類
G06Q
10/107 20230101AFI20251030BHJP(計算;計数)
要約
【課題】メッセージが放置された状態が続くことを抑止する。
【解決手段】実施形態の通知プログラムは、設定する処理と、通知する処理とをコンピュータに実行させる。設定する処理は、メッセージの通知に対して通知順位を付けて複数の通知先を設定する。通知する処理は、設定された通知順位に基づく第1通知先へのメッセージの通知に対し、通知後において所定時間内にメッセージの通知に対応するリアクションが無い場合、第1通知先よりも通知順位の低い第2通知先へメッセージを通知する。
【選択図】図1
特許請求の範囲
【請求項1】
メッセージの通知に対して通知順位を付けて複数の通知先を設定し、
設定された前記通知順位に基づく第1通知先への前記メッセージの通知に対し、通知後において所定時間内に前記メッセージの通知に対応するリアクションが無い場合、前記第1通知先よりも通知順位の低い第2通知先へ前記メッセージを通知する、
処理をコンピュータに実行させることを特徴とする通知プログラム。
続きを表示(約 810 文字)
【請求項2】
前記設定する処理は、前記メッセージの通知に対して優先度をさらに設定し、
前記通知する処理は、前記所定時間を設定された前記優先度に基づく時間とする、
ことを特徴とする請求項1に記載の通知プログラム。
【請求項3】
前記通知する処理は、前記第2通知先へメッセージを通知した場合、前記第1通知先へのメッセージに対し、前記第2通知先へメッセージを通知したことを追加する、
ことを特徴とする請求項1に記載の通知プログラム。
【請求項4】
前記通知する処理は、前記第2通知先へのメッセージに対し、前記第1通知先へのメッセージの転送であることを追加する、
ことを特徴とする請求項1に記載の通知プログラム。
【請求項5】
前記リアクションは、前記第1通知先における前記メッセージの既読である、
ことを特徴とする請求項1に記載の通知プログラム。
【請求項6】
メッセージの通知に対して通知順位を付けて複数の通知先を設定し、
設定された前記通知順位に基づく第1通知先への前記メッセージの通知に対し、通知後において所定時間内に前記メッセージの通知に対応するリアクションが無い場合、前記第1通知先よりも通知順位の低い第2通知先へ前記メッセージを通知する、
処理をコンピュータが実行することを特徴とする通知方法。
【請求項7】
メッセージの通知に対して通知順位を付けて複数の通知先を設定し、
設定された前記通知順位に基づく第1通知先への前記メッセージの通知に対し、通知後において所定時間内に前記メッセージの通知に対応するリアクションが無い場合、前記第1通知先よりも通知順位の低い第2通知先へ前記メッセージを通知する、
処理を実行する制御部を含むことを特徴とする通知装置。
発明の詳細な説明
【技術分野】
【0001】
本発明の実施形態は、通知プログラム、通知方法および通知装置に関する。
続きを表示(約 1,300 文字)
【背景技術】
【0002】
従来、所定の送信先に通知という形式でメッセージを送信する通知処理システムがある。実際に患者と接して診察や治療を行う臨床現場などにおいては、このような通知処理システムを用いることで、医師、看護師などのスタッフ間で患者状況などの情報伝達を行っている。
【先行技術文献】
【特許文献】
【0003】
特表2023-514043号公報
特開2017-188747号公報
【発明の概要】
【発明が解決しようとする課題】
【0004】
しかしながら、上記の従来技術では、通知先のスタッフのメッセージを確認する機会が不定期であるなどの理由から、通知されたメッセージが放置された状態が続く場合があるという問題がある。
【0005】
1つの側面では、メッセージが放置された状態が続くことを抑止できる通知プログラム、通知方法および通知装置を提供することを目的とする。
【課題を解決するための手段】
【0006】
1つの側面にかかる通知プログラムは、設定する処理と、通知する処理とをコンピュータに実行させる。設定する処理は、メッセージの通知に対して通知順位を付けて複数の通知先を設定する。通知する処理は、設定された通知順位に基づく第1通知先へのメッセージの通知に対し、通知後において所定時間内にメッセージの通知に対応するリアクションが無い場合、第1通知先よりも通知順位の低い第2通知先へメッセージを通知する。
【発明の効果】
【0007】
1実施態様によれば、メッセージが放置された状態が続くことを抑止できる。
【図面の簡単な説明】
【0008】
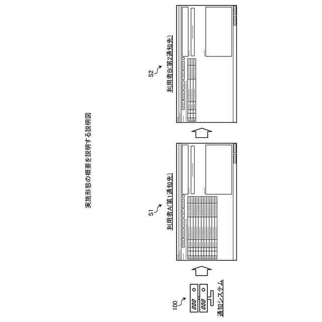
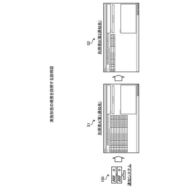
図1は、実施形態の概要を説明する説明図である。
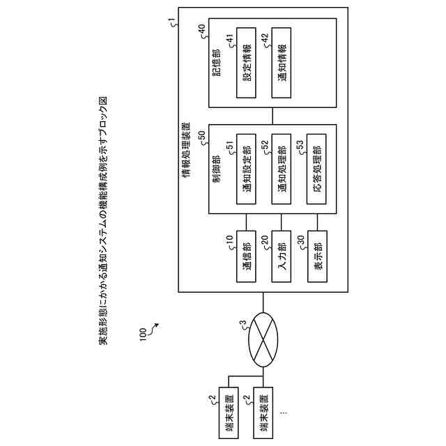
図2は、実施形態にかかる通知システムの機能構成例を示すブロック図である。
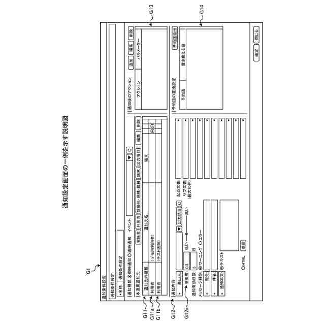
図3は、通知設定画面の一例を示す説明図である。
図4は、実施形態にかかる通知システムの動作例を示すフローチャートである。
図5Aは、実施形態にかかる通知システムの一実施例を説明する説明図である。
図5Bは、実施形態にかかる通知システムの一実施例を説明する説明図である。
図6は、コンピュータ構成の一例を説明する説明図である。
【発明を実施するための形態】
【0009】
以下、図面を参照して、実施形態にかかる通知プログラム、通知方法および通知装置を説明する。実施形態において同一の機能を有する構成には同一の符号を付し、重複する説明は省略する。なお、以下の実施形態で説明する通知プログラム、通知方法および通知装置は、一例を示すに過ぎず、実施形態を限定するものではない。また、以下の各実施形態は、矛盾しない範囲内で適宜組みあわせてもよい。
【0010】
まず、実施形態の概要について説明する。図1は、実施形態の概要を説明する説明図である。図1に示すように、通知システム100は、利用者A、B…等の所定の送信先に通知という形式でメッセージを送信するシステムである。
(【0011】以降は省略されています)
この特許をJ-PlatPat(特許庁公式サイト)で参照する
関連特許
富士通株式会社
半導体装置
1か月前
富士通株式会社
周波数変換器
2か月前
富士通株式会社
行列演算回路
2か月前
富士通株式会社
半導体デバイス
1か月前
富士通株式会社
画像処理モデル
1か月前
富士通株式会社
メッシュ微細化
1か月前
富士通株式会社
ダウンサンプリング
3日前
富士通株式会社
演算器及び演算方法
1か月前
富士通株式会社
ポイントクラウド分類
1か月前
富士通株式会社
冷却装置及び電子機器
2か月前
富士通株式会社
OLT及びPONシステム
23日前
富士通株式会社
アレイアンテナモジュール
1か月前
富士通株式会社
電子機器筐体及び電子機器
1か月前
富士通株式会社
光受信装置及び光受信方法
3日前
富士通株式会社
光送信器及び光トランシーバ
1か月前
富士通株式会社
プログラム及びデータ処理装置
17日前
富士通株式会社
情報処理装置及び情報処理方法
9日前
富士通株式会社
演算処理装置及び情報処理装置
1か月前
富士通株式会社
通信制御装置及び移動中継装置
1か月前
富士通株式会社
基板及びこれを備えた電子装置
1か月前
富士通株式会社
波長変換装置および波長変換方法
1か月前
富士通株式会社
情報処理装置および情報処理方法
3日前
富士通株式会社
テキスト案内される画像エディタ
1か月前
富士通株式会社
ラックマウント装置及びラック装置
1か月前
富士通株式会社
メモリ管理装置及びメモリ管理方法
1か月前
富士通株式会社
動的多次元メディアコンテンツ投影
2か月前
富士通株式会社
書き込みアシスト回路及びSRAM
1日前
富士通株式会社
不正検知プログラム、方法、及び装置
9日前
富士通株式会社
受光デバイス及び受光デバイスの製造方法
22日前
富士通株式会社
通知プログラム、通知方法および通知装置
22日前
富士通株式会社
コンパイルプログラムおよびコンパイル方法
17日前
富士通株式会社
管理装置、管理方法、および管理プログラム
1か月前
富士通株式会社
生成プログラム、生成方法および情報処理装置
1か月前
富士通株式会社
プログラム、情報処理方法および情報処理装置
1か月前
富士通株式会社
検出プログラム、検出方法および情報処理装置
1か月前
富士通株式会社
制御プログラム、制御方法、および情報処理装置
1か月前
続きを見る
他の特許を見る