TOP
|
特許
|
意匠
|
商標
特許ウォッチ
Twitter
他の特許を見る
10個以上の画像は省略されています。
公開番号
2025161516
公報種別
公開特許公報(A)
公開日
2025-10-24
出願番号
2024064771
出願日
2024-04-12
発明の名称
ラックマウント装置及びラック装置
出願人
富士通株式会社
代理人
弁理士法人片山特許事務所
主分類
H05K
7/18 20060101AFI20251017BHJP(他に分類されない電気技術)
要約
【課題】電子機器の筐体に設けられるインナーレールの高さ位置を簡易に調整する。
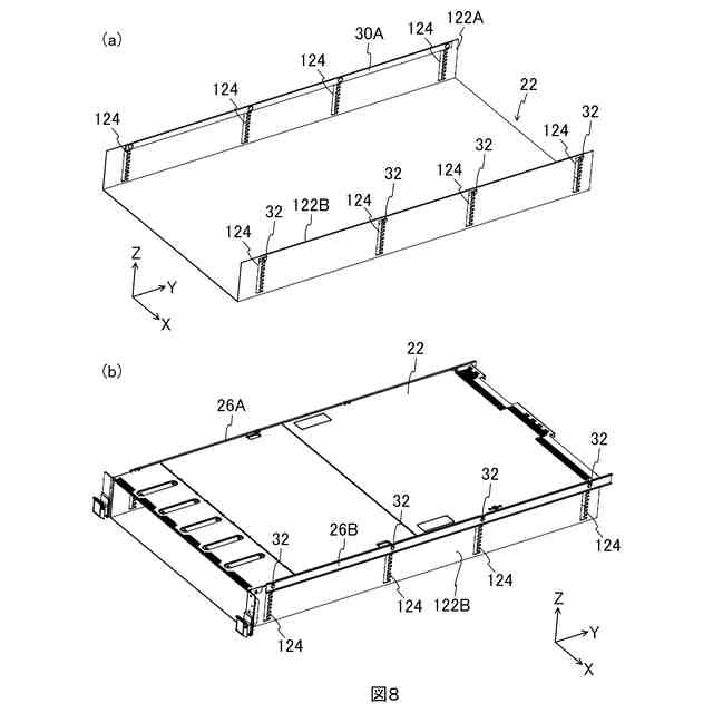
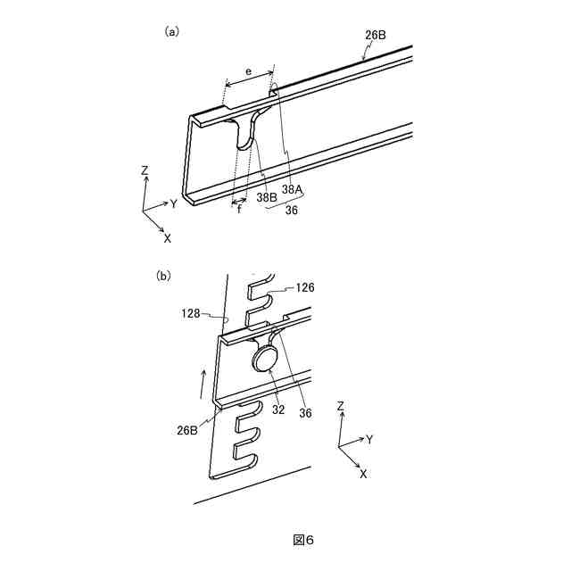
【解決手段】ラックマウント装置は、電子機器21の筐体22と、筐体をラックに対してマウントするための部材であって、筐体の一対の側壁122A,122Bの各々に、Y軸方向に沿うように固定される一対のインナーレール26A、26Bと、を備えている。筐体の側壁には、インナーレールを固定するためのピン32を設置する複数のピン設置部がY軸方向に並んで設けられ、ピン設置部は、異なる高さ位置に設けられた第1の溝を有する。ピンが同一高さの第1の溝に嵌め込まれた状態で、ピンにインナーレールの係合溝が係合することにより、側壁にインナーレールが固定される。
【選択図】図2
特許請求の範囲
【請求項1】
電子機器の筐体と、
前記筐体をラックに対してマウントするための部材であって、前記筐体の一対の側壁の各々に、高さ方向に直交する第1方向に沿うように固定される一対のレール部材と、を備え、
前記筐体の一対の前記側壁の各々には、前記レール部材を固定するための固定具を設置する複数の設置部が前記第1方向に並んで設けられ、前記複数の設置部の各々は、それぞれ異なる高さ位置に設けられた前記固定具を取付可能な複数の取付部を有しており、
複数の前記設置部の高さ位置が同一の前記取付部それぞれに前記固定具が取り付けられた状態で、前記筐体の前記側壁の各々に設けられた複数の前記固定具に、前記レール部材の各々に設けられた複数の係合溝が係合することにより、前記側壁の各々に前記レール部材の各々が固定される、ことを特徴とするラックマウント装置。
続きを表示(約 730 文字)
【請求項2】
前記固定具はピンであり、
前記設置部の各々が有する複数の前記取付部は、異なる高さ位置において前記側壁を貫通する複数の第1の溝である、ことを特徴とする請求項1に記載のラックマウント装置。
【請求項3】
複数の前記ピンは、第1の径を有し、前記側壁の外側に突出する軸部と、前記軸部の突出する側の端部に設けられた前記第1の径よりも大きい第2の径の先端部と、を有し、
前記設置部の各々の複数の前記第1の溝それぞれは、前記側壁を貫通した状態で前記高さ方向に延びる第2の溝と連通しており、
前記第1の溝の幅は、前記第1の径以上、前記第2の径未満であり、前記第2の溝の幅は、前記第2の径よりも大きい、ことを特徴とする請求項2に記載のラックマウント装置。
【請求項4】
前記第1の溝は、前記第2の溝の前記第1方向の両側に交互に設けられている、ことを特徴とする請求項3に記載のラックマウント装置。
【請求項5】
前記レール部材に設けられた前記係合溝の幅は、前記第1の径以上、前記第2の径未満である、ことを特徴とする請求項3に記載のラックマウント装置。
【請求項6】
前記一対の側壁の各々に設けられる複数の固定具は、一列に並んだ状態で連結部材によって連結されている、ことを特徴とする請求項1に記載のラックマウント装置。
【請求項7】
複数の請求項1~6のいずれか一項に記載のラックマウント装置と、
前記ラックマウント装置の各々が備える一対の前記レール部材を取り付け可能な複数対のレール取付部が高さ方向に沿って等間隔に設けられたラックと、を備えるラック装置。
発明の詳細な説明
【技術分野】
【0001】
本発明は、ラックマウント装置及びラック装置に関する。
続きを表示(約 1,600 文字)
【背景技術】
【0002】
サーバ等の電子機器を複数搭載可能なラックが知られており(例えば、特許文献1~3等参照)、現在は、EIA規格に準拠した19インチラックが主流となっている。
【0003】
サーバをラックに搭載する際には、サーバの所定位置にレールを取り付け、レールをラックの支柱に取り付けるのが一般的である。この支柱には高さ方向に沿って複数の穴が設けられているため、サーバを搭載したい位置及びその近傍に存在する穴に対しレールをネジ止め等することになる。なお、EIA規格に準拠したラックの場合、複数の穴は、支柱の高さ方向に沿って1U(ユニット)と呼ばれる一定間隔(1Uは44.45mm)で設けられている。
【0004】
ここで、スペース効率の観点からは、ラックに搭載されるサーバ間の隙間は極力小さくすることが好ましい。
【0005】
また、ラックには、サーバの熱暴走を防止するため、外気(冷気)をラックの前面側から取り入れ、ラック内で温まった空気(熱気)を背面側に排出する装置(ファン)が設けられる。この場合、サーバ間の隙間を大きくしすぎると、背面側に排出された熱気がサーバ間の隙間を通って前面側に循環してしまい、冷却効率が低下するおそれがある。したがって、冷却効率を高めるという観点からも、サーバ間の隙間は小さくすることが好ましい。
【先行技術文献】
【特許文献】
【0006】
特開2010-62323号公報
特表2003-523642号公報
特開2009-206420号公報
【発明の概要】
【発明が解決しようとする課題】
【0007】
EIA規格に準拠したラックに搭載される全てのサーバがU(ユニット)単位で設計されていれば、サーバに対するレールの取付位置が固定であっても、各サーバを隙間なく搭載することができる。しかしながら、U単位で設計されていないサーバをEIA規格に準拠したラックに搭載する場合、サーバに対するレールの取付位置が固定であると、隣接するサーバとの間の隙間が大きくなるおそれがある。
【0008】
1つの側面では、本発明は、電子機器の筐体に設けられるレール部材の高さ位置を簡易に調整することが可能なラックマウント装置、及び搭載される複数の筐体間の隙間を小さくすることが可能なラック装置を提供することを目的とする。
【課題を解決するための手段】
【0009】
一つの態様では、ラックマウント装置は、電子機器の筐体と、前記筐体をラックに対してマウントするための部材であって、前記筐体の一対の側壁の各々に、高さ方向に直交する第1方向に沿うように固定される一対のレール部材と、を備え、前記筐体の一対の前記側壁の各々には、前記レール部材を固定するための固定具を設置する複数の設置部が前記第1方向に並んで設けられ、前記複数の設置部の各々は、それぞれ異なる高さ位置に設けられた前記固定具を取付可能な複数の取付部を有しており、複数の前記設置部の高さ位置が同一の前記取付部それぞれに前記固定具が取り付けられた状態で、前記筐体の前記側壁の各々に設けられた複数の前記固定具に、前記レール部材の各々に設けられた複数の係合溝が係合することにより、前記側壁の各々に前記レール部材の各々が固定される。
【発明の効果】
【0010】
本明細書開示のラックマウント装置は、電子機器の筐体に設けられるレール部材の高さ位置を簡易に調整することができる。また、本明細書開示のラック装置は、搭載される複数の筐体間の隙間を小さくすることができる。
【図面の簡単な説明】
(【0011】以降は省略されています)
この特許をJ-PlatPat(特許庁公式サイト)で参照する
関連特許
愛知電機株式会社
装柱金具
2か月前
個人
電気式バーナー
1か月前
日星電気株式会社
面状ヒータ
24日前
イビデン株式会社
配線基板
2か月前
個人
静電気中和除去装置
1か月前
サクサ株式会社
開き角度規制構造
1か月前
株式会社デンソー
電子装置
2か月前
株式会社デンソー
電子装置
10日前
シャープ株式会社
加熱機器
1か月前
株式会社レクザム
剥離装置
2か月前
株式会社デンソー
電子装置
1か月前
日本精機株式会社
車両表示装置用回路基板
3日前
日産自動車株式会社
電子機器
18日前
富士フイルム株式会社
積層体
2か月前
TDK株式会社
接合構造
10日前
株式会社デンソー
電子制御装置
1か月前
豊田合成株式会社
制御ユニット
10日前
富士電子工業株式会社
誘導加熱コイル
2か月前
富士電子工業株式会社
誘導加熱コイル
2か月前
センスネットシステム株式会社
回路基板
2か月前
東芝ライテック株式会社
照明装置
2か月前
矢崎総業株式会社
箱状体
2か月前
矢崎総業株式会社
箱状体
2か月前
象印マホービン株式会社
電磁調理器
5日前
矢崎総業株式会社
箱状体
1か月前
象印マホービン株式会社
電子レンジ
1か月前
マクセルイズミ株式会社
誘導加熱調理装置
1か月前
象印マホービン株式会社
電磁調理器
5日前
象印マホービン株式会社
電磁調理器
5日前
象印マホービン株式会社
電磁調理器
5日前
マクセルイズミ株式会社
誘導加熱調理装置
1か月前
株式会社羽野製作所
プリント配線板
18日前
矢崎総業株式会社
箱状体
1か月前
矢崎総業株式会社
箱状体
1か月前
株式会社遠藤照明
電源、照明装置及び照明システム
1か月前
東芝ライテック株式会社
照明システム
2か月前
続きを見る
他の特許を見る