TOP
|
特許
|
意匠
|
商標
特許ウォッチ
Twitter
他の特許を見る
公開番号
2025148996
公報種別
公開特許公報(A)
公開日
2025-10-08
出願番号
2024049411
出願日
2024-03-26
発明の名称
照明システム
出願人
東芝ライテック株式会社
代理人
個人
,
個人
主分類
H05B
45/40 20200101AFI20251001BHJP(他に分類されない電気技術)
要約
【課題】人に対して違和感を与えずに電池の点検を実施できる照明システムを提供する。
【解決手段】照明システム10は、負荷装置12と、照明装置11とを備える。負荷装置12は、負荷17を有する。照明装置11は、光源15と、電池と、電池の電力により光源15を点灯させる点灯部と、電池の電力を負荷装置12の負荷17に出力して電池を点検する点検部とを有する。
【選択図】図1
特許請求の範囲
【請求項1】
負荷を有する負荷装置と;
光源と、電池と、前記電池の電力により前記光源を点灯させる点灯部と、前記電池の電力を前記負荷装置の前記負荷に出力して前記電池を点検する点検部とを有する照明装置と;
を備えることを特徴とする照明システム。
続きを表示(約 170 文字)
【請求項2】
前記負荷装置は、複数の前記照明装置が接続されて共用される
ことを特徴とする請求項1に記載の照明システム。
【請求項3】
前記負荷装置は、前記照明装置から外部に出力される電力を前記負荷に蓄電し、前記負荷に蓄電した電力を外部に出力可能とする
ことを特徴とする請求項1に記載の照明システム。
発明の詳細な説明
【技術分野】
【0001】
本発明の実施形態は、照明システムに関する。
続きを表示(約 1,000 文字)
【背景技術】
【0002】
従来、非常灯や誘導灯などの防災用の照明装置では、停電時に光源を点灯させるための電池を備えており、この電池の劣化や異常などの状態を確認するために電池の点検を実施している。電池の点検では、電池の電力により光源を所定の点検時間点灯させ、電池の電圧を確認し、電池の劣化や異常を判断している。
【0003】
電池の点検動作では光源が点灯するため、照明装置の周囲にいる人がいない場合などはよいが、照明装置の周囲にいる人がいる場合、その人に対して非常用の光源が光っていることの違和感を与える虞がある。
【先行技術文献】
【特許文献】
【0004】
特開2022-29966号公報
【発明の概要】
【発明が解決しようとする課題】
【0005】
本発明が解決しようとする課題は、人に対して違和感を与えずに電池の点検を実施できる照明システムを提供することにある。
【課題を解決するための手段】
【0006】
実施形態の照明システムは、負荷装置と、照明装置とを備える。負荷装置は、負荷を有する。照明装置は、光源と、電池と、電池の電力により光源を点灯させる点灯部と、電池の電力を負荷装置の負荷に出力して電池を点検する点検部とを有する。
【発明の効果】
【0007】
実施形態によれば、人に対して違和感を与えずに電池の点検を実施することが期待できる。
【図面の簡単な説明】
【0008】
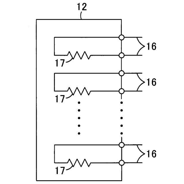
第1の実施形態を示す照明システムの回路図である。
同上照明システムに用いられる照明装置のブロック図である。
同上照明装置の回路図である。
第2の実施形態を示す照明システムに用いられる負荷装置の回路図である。
第3の実施形態を示す照明システムの回路図である。
【発明を実施するための形態】
【0009】
以下、第1の実施形態を、図1ないし図3を参照して説明する。
【0010】
図1に照明システム10を示す。照明システムは、複数の照明装置11と、照明装置11とは別体で、複数の照明装置11が接続されて共用される1つの負荷装置12とを備えている。各照明装置11は、被設置面である天井面13に設置され、負荷装置12は天井裏等に設置される。
(【0011】以降は省略されています)
この特許をJ-PlatPat(特許庁公式サイト)で参照する
関連特許
個人
電子部品の実装方法
2か月前
日本精機株式会社
回路基板
3か月前
愛知電機株式会社
装柱金具
2か月前
個人
電気式バーナー
1か月前
日星電気株式会社
面状ヒータ
25日前
アイホン株式会社
電気機器
2か月前
キヤノン株式会社
電子機器
2か月前
日本放送協会
基板固定装置
2か月前
イビデン株式会社
配線基板
2か月前
メクテック株式会社
配線基板
3か月前
東レ株式会社
霧化状活性液体供給装置
3か月前
個人
静電気中和除去装置
1か月前
シャープ株式会社
加熱機器
1か月前
イビデン株式会社
配線基板
3か月前
FDK株式会社
基板
2か月前
イビデン株式会社
プリント配線板
2か月前
株式会社デンソー
電子装置
1か月前
サクサ株式会社
筐体の壁掛け構造
3か月前
株式会社レクザム
剥離装置
2か月前
株式会社デンソー
電子装置
2か月前
株式会社デンソー
電子装置
11日前
サクサ株式会社
開き角度規制構造
2か月前
富士フイルム株式会社
積層体
2か月前
株式会社レゾナック
冷却装置
2か月前
日産自動車株式会社
電子機器
19日前
新電元工業株式会社
電子装置
2か月前
オムロン株式会社
端子折り曲げ治具
2か月前
日本精機株式会社
車両表示装置用回路基板
4日前
日産自動車株式会社
電子部品
2か月前
タイガー魔法瓶株式会社
加熱器
2か月前
株式会社デンソー
電子制御装置
1か月前
日本特殊陶業株式会社
配線基板
3か月前
富士電子工業株式会社
誘導加熱コイル
2か月前
富士電子工業株式会社
誘導加熱コイル
2か月前
新光電気工業株式会社
配線基板
2か月前
TDK株式会社
接合構造
11日前
続きを見る
他の特許を見る